lemon-mirror:
Home >> Lexus >> 2006 >> GS 430 >> Repair and Diagnosis >> Transmission >> Automatic Trans >> Automatic Transmission >> Automatic Transmission Unit >> Reassembly

Automatic Transmission Unit: Reassembly

  1. BEARING POSITION 
    Fig 1: Reassembling Bearing Position
    G04028619Courtesy of © TOYOTA, LICENSE AGREEMENT TMS1002
    FRONT RACE DIAMETER, THRUST BEARING DIAMETER AND REAR RACE DIAMETER SPECIFICATIONS

    Mark Front Race Diameter Inside/Outside Thrust Bearing Diameter Inside/Outside Rear Race Diameter Inside/Outside
    A 74.2 mm (2.921 in.) / 87.74 mm (3.454 in.) 71.9 mm (2.831 in.) / 85.6 mm (3.370 in.) -
    B 38.0 mm (1.496 in.) / 57.0 mm (2.244 in.) 43.4 mm (1.709 in.) / 58.3 mm (2.295 in.) -
    C - 55.7 mm (2.193 in.) / 76.4 mm (3.008 in.) -
    D - - 53.7 mm (2.114 in.) / 74.0 mm (2.913 in.)
    E 33.4 mm (1.315 in.) / 49.0 mm (1.929 in.) 32.1 mm (1.264 in.) / 49.35 mm (1.943 in.) 32.1 mm (1.264 in.) / 49.0 mm (1.929 in.)
    F - 21.5 mm (0.847 in.) / 40.8 mm (1.606 in.) -
    G - 43.6 mm (1.717 in.) / 61.0 mm (2.402 in.) 47.1 mm (1.854 in.) / 67.1 mm (2.642 in.)
    H 37 mm (1.45 in.) / 52.3 mm (2.059 in.) 34.6 mm (1.362 in.) / 52.0 mm (2.047 in.) -
    I 36.9 mm (1.453 in.) / 49.7 mm (1.957 in.) 36.1 mm (1.421 in.) / 52.5 mm (2.067 in.) 36.1 mm (1.421 in.) / 51.0 mm (2.007 in.)
  2. INSTALL BRAKE PISTON NO.4 
    1. Coat 2 new O-rings with ATF, and install them to the brake reaction sleeve.
    2. Coat 2 new O-rings with the ATF, and install them to the brake piston No.4.
    3. Install the brake piston No.4 to the reaction sleeve.
      NOTE: Be careful not to damage the O-rings.
      Fig 2: Identifying O-Rings
      G04028620Courtesy of © TOYOTA, LICENSE AGREEMENT TMS1002
  3. INSTALL BRAKE REACTION SLEEVE 
    1. Coat a new O-ring with ATF, and install it to the reaction sleeve.
    2. With the brake piston No.4 underneath (the rear side), install the brake reaction sleeve and the brake piston No.4 to the transmission case.
      NOTE: Be careful not to damage the O-rings.
      Fig 3: Identifying Brake Reaction Sleeve
      G04028621Courtesy of © TOYOTA, LICENSE AGREEMENT TMS1002
  4. INSTALL 1ST AND REVERSE BRAKE PISTON 
    1. Coat a new O-ring with ATF.
    2. Install the O-ring on the 1st and reverse brake piston.
    3. With the spring seat of the piston facing upwards (the front side), place the piston in the transmission case.
      NOTE: Be careful not to damage the O-ring.
      Fig 4: Identifying 1St And Reverse Brake Piston
      G04028622Courtesy of © TOYOTA, LICENSE AGREEMENT TMS1002
    4. Place the brake return spring onto the brake piston No.4.
      Fig 5: Placing Brake Return Spring Onto Brake Piston No 4
      G04028623Courtesy of © TOYOTA, LICENSE AGREEMENT TMS1002
  5. INSTALL 1ST AND REVERSE BRAKE RETURN SPRING SUB-ASSEMBLY 
    1. Place SST on the brake return spring, and compress the return spring.

      SST 09350-30020 (09350-07050) 

    2. Using SST, install the snap ring.

      SST 09350-30020 (09350-07070) 

      Fig 6: Identifying Snap Ring
      G04028624Courtesy of © TOYOTA, LICENSE AGREEMENT TMS1002
    3. Install the brake apply tube with its protruding part fitting into the groove of the transmission case as shown in the illustration.
      NOTE: Engage the 1st and reverse brake piston claw with the protrusion of the brake apply tube.
      Fig 7: Identifying Brake Apply Tube Into Groove Of Transmission Case
      G04028625Courtesy of © TOYOTA, LICENSE AGREEMENT TMS1002
  6. INSTALL REAR PLANETARY GEAR ASSEMBLY 
    1. Install the thrust bearing race No.9.

      Race diameter 

      RACE DIAMETER SPECIFICATIONS

        Inside Outside
      Thrust bearing race 47.1 mm (1.854 in.) 67.1 mm (2.642 in.)
      Fig 8: Identifying Thrust Bearing Race
      G04045497Courtesy of © TOYOTA, LICENSE AGREEMENT TMS1002
    2. Install the 2 thrust needle roller bearings.

      Thrust needle roller bearing diameter 

      THRUST NEEDLE ROLLER BEARING DIAMETER SPECIFICATIONS

        Inside Outside
      Bearing A 21.5 mm (0.847 in.) 40.8 mm (1.606 in.)
      Bearing B 43.6 mm (1.717 in.) 61.0 mm (2.402 in.)
      Fig 9: Identifying Thrust Needle Roller Bearings
      G04028627Courtesy of © TOYOTA, LICENSE AGREEMENT TMS1002
    3. Install the rear planetary gear assembly.
  7. INSPECT PACK CLEARANCE OF FIRST AND REVERSE BRAKE PISTON (See  REASSEMBLY   ) 
    Fig 10: Identifying Rear Planetary Gear Assembly
    G04028628Courtesy of © TOYOTA, LICENSE AGREEMENT TMS1002
  8. INSTALL BRAKE DISC NO.4 
    1. Install the sleeve, 4 plates, the 4 discs and the flange.

      Install in order: 

      P = Plate, D = Disc, F = Flange, S = Sleeve 

      F - D - P - D - P - D - P - D - P - S 

      Fig 11: Identifying Sleeve, Plates, Discs And Flange
      G04028629Courtesy of © TOYOTA, LICENSE AGREEMENT TMS1002
  9. INSTALL BRAKE PLATE STOPPER SPRING 
    1. Install the brake plate stopper spring.
      Fig 12: Identifying Brake Plate Stopper Spring
      G04020090Courtesy of © TOYOTA, LICENSE AGREEMENT TMS1002
  10. INSTALL REAR PLANETARY RING GEAR FLANGE SUB-ASSEMBLY 
    1. Install the thrust bearing race No.8, the thrust needle roller bearing, the thrust bearing race No.7 and the planetary ring gear flange to the intermediate shaft.

      Bearing and race diameter 

      BEARING AND RACE DIAMETER SPECIFICATIONS

        Inside Outside
      Thrust bearing race No.7 33.4 mm (1.315 in.) 49.0 mm (1.929 in.)
      Fig 13: Identifying Thrust Bearing Race No 8, Thrust Needle Roller Bearing And Thrust Bearing Race No 7
      G04028631Courtesy of © TOYOTA, LICENSE AGREEMENT TMS1002
      BEARING AND RACE DIAMETER SPECIFICATIONS

        Inside Outside
      Thrust needle roller bearing 32.1 mm (1.264 in.) 49.35 mm (1.943 in.)
      Thrust bearing race No.8 32.1 mm (1.264 in.) 49.0 mm (1.929 in.)
  11. INSTALL 1 WAY NO.3 CLUTCH ASSEMBLY 
    1. Install the 1 way No.3 clutch assembly and the 1 way clutch inner race to the intermediate shaft.
      Fig 14: View Of 1 Way No 3 Clutch Assembly & Intermediate Shaft Inner Race
      G04028632Courtesy of © TOYOTA, LICENSE AGREEMENT TMS1002
  12. INSTALL INTERMEDIATE SHAFT 
    1. Install the intermediate shaft with 1 way No.3 clutch assembly to the transmission case.
      Fig 15: Identifying Intermediate Shaft With 1 Way No 3 Clutch Assembly To Transmission Case
      G04028633Courtesy of © TOYOTA, LICENSE AGREEMENT TMS1002
    2. Using SST, install the snap ring.

      SST 09350-30020 (09350-07050, 09350-07060) 

      Fig 16: Identifying Snap Ring
      G04028634Courtesy of © TOYOTA, LICENSE AGREEMENT TMS1002
  13. INSTALL CENTER PLANETARY GEAR ASSEMBLY 
    1. Install the center planetary gear assembly and the planetary sun gear to the transmission case.
    2. Coat the thrust bearing race with petroleum jelly, and install it onto the center planetary ring gear.

      Race diameter 

      RACE DIAMETER SPECIFICATIONS

        Inside Outside
      Race 53.7 mm (2.114 in.) 74.0 mm (2.913 in.)
      Fig 17: View Of Center Planetary Gear Assembly
      G04053268Courtesy of © TOYOTA, LICENSE AGREEMENT TMS1002
  14. INSTALL BRAKE PISTON NO.2 
    1. Coat 2 new O-rings with ATF, and install them to the brake piston No.2.
    2. Being careful not to damage the O-rings, press the brake piston No.2 into the brake cylinder No.2.
    3. Install the brake piston No.2 to the transmission case.

      HINT:

      Install the brake cylinder No.2 so that the projection protrudes from the upside of the transmission case.

    4. Check that the oil pressure apply hole of the brake cylinder No.2 aligns with the oil pressure apply hole of the transmission case.
      Fig 18: Identifying O-Rings To Brake Piston No 2
      G04028636Courtesy of © TOYOTA, LICENSE AGREEMENT TMS1002
      Fig 19: Identifying Oil Pressure Apply Hole Of Brake Cylinder No 2
      G04028637Courtesy of © TOYOTA, LICENSE AGREEMENT TMS1002
  15. INSTALL BRAKE DISC NO.2 
    1. Install the 2 flanges, 3 plates, 4 discs and brake piston return spring.

      Install in order: 

      P = Plate, D = Disc, F = Flange 

      F - D - P - D - P - D - P - D - F 

      Fig 20: Identifying Flanges, Plates, Discs And Brake Piston Return Spring
      G04028638Courtesy of © TOYOTA, LICENSE AGREEMENT TMS1002
    2. Using SST and a press, install the brake No.2 spring snap ring.

      SST 09351-40010 (09351-04010, 09351-04020, 09351-04040, 09351-04050) 

  16. INSPECT PISTON STROKE OF BRAKE PISTON NO.2 (See  REASSEMBLY   ) 
    Fig 21: Identifying Brake No 2 Spring Snap Ring
    G04028639Courtesy of © TOYOTA, LICENSE AGREEMENT TMS1002
  17. INSTALL BRAKE PISTON NO.1 
    1. Coat 2 new O-rings with ATF, and install them on the brake piston No.1.
    2. Be careful not to damage the O-rings. Press the brake piston No.1 into the brake cylinder No.1.
      Fig 22: Identifying O-Rings On Brake Piston No 1
      G04028640Courtesy of © TOYOTA, LICENSE AGREEMENT TMS1002
  18. INSTALL BRAKE PISTON RETURN SPRING SUBASSEMBLY 
    1. Install the brake piston return spring and the brake piston No.1 with the brake cylinder No.1 to the transmission case.

      HINT:

      Install the brake cylinder No.1 so that the projection protrudes from the upside of the transmission case.

      Fig 23: Identifying Brake Piston Return Spring
      G04053274Courtesy of © TOYOTA, LICENSE AGREEMENT TMS1002
    2. Check that the oil pressure apply hole of the brake cylinder No.1 aligns with the oil pressure apply hole of the transmission case.
      Fig 24: Identifying Oil Pressure Apply Hole Of Brake Cylinder No 1
      G04028642Courtesy of © TOYOTA, LICENSE AGREEMENT TMS1002
  19. INSTALL BRAKE PISTON RETURN SPRING SNAP RING 
    1. Using SST and a press, install the brake piston return spring snap ring.

      SST 09351-40010 (09351-04010, 09351-04030, 09351-04040, 09351-04050) 

  20. INSTALL CENTER PLANETARY RING GEAR 
    1. Install the thrust needle roller bearing to the front planetary ring gear flange.

      Thrust needle roller bearing diameter 

      Fig 25: Identifying Brake Piston Return Spring Snap Ring
      G04028643Courtesy of © TOYOTA, LICENSE AGREEMENT TMS1002
      THRUST NEEDLE ROLLER BEARING DIAMETER SPECIFICATIONS

        Inside Outside
      Thrust needle roller bearing 55.7 mm (2.193 in.) 76.4 mm (3.008 in.)
    2. Install the center planetary ring gear and the front planetary ring gear flange on the front planetary ring gear.
      Fig 26: Identifying Center Planetary Ring Gear And Front Planetary Ring Gear Flange
      G04028644Courtesy of © TOYOTA, LICENSE AGREEMENT TMS1002
    3. Using a screwdriver, install the snap ring.
      NOTE: Install the snap ring to the ring gear so that the both ends of the snap ring come to the center of a protrusion on the ring gear.
      Fig 27: Identifying Snap Ring
      G04028645Courtesy of © TOYOTA, LICENSE AGREEMENT TMS1002
  21. INSTALL FRONT PLANETARY RING GEAR 
    1. Install the front planetary ring gear to the transmission case.
      Fig 28: Identifying Front Planetary Ring Gear
      G04019518Courtesy of © TOYOTA, LICENSE AGREEMENT TMS1002
  22. INSTALL FRONT PLANETARY GEAR ASSEMBLY 
    1. Install the thrust needle roller bearing and the thrust washer.
    2. Coat the thrust bearing race with petroleum jelly, and install it onto the front planetary ring gear.

      Thrust needle roller bearing and race diameter 

      THRUST NEEDLE ROLLER BEARING AND RACE DIAMETER SPECIFICATIONS

        Inside Outside
      Bearing 43.4 mm (1.709 in.) 58.3 mm (2.295 in.)
      Race 38.0 mm (1.496 in.) 57.0 mm (2.244 in.)
      Fig 29: Identifying Thrust Needle Roller Bearing And Thrust Washer
      G04028647Courtesy of © TOYOTA, LICENSE AGREEMENT TMS1002
    3. Install the front planetary gear assembly and the 1 way clutch inner race to the transmission case.
  23. INSPECT PISTON STROKE OF BRAKE PISTON NO.1 (See  REASSEMBLY   ) 
    Fig 30: Identifying Front Planetary Gear Assembly
    G04053281Courtesy of © TOYOTA, LICENSE AGREEMENT TMS1002
  24. INSTALL BRAKE DISC NO.1 
    1. Install the 3 plates, the 3 discs and the flange.

      Install in order: 

      P = Plate, D = Disc, F = Flange 

      F - D - P - D - P - D - P 

      Fig 31: Identifying Plates, Discs And Flange
      G04028649Courtesy of © TOYOTA, LICENSE AGREEMENT TMS1002
  25. INSTALL 2ND BRAKE PISTON 
    1. Coat 2 new O-rings with ATF, and install them to the 2nd brake piston.
    2. Be careful not to damage the O-rings. Press the 2nd brake piston into the 2nd brake cylinder.
      Fig 32: Identifying O-Rings To 2Nd Brake Piston
      G04028650Courtesy of © TOYOTA, LICENSE AGREEMENT TMS1002
    3. Using SST and a press, install the return spring with the snap ring.
      NOTE: Be sure that the end gap of the snap ring is not aligned with the spring retainer claw.

      SST 09351-40010 (09351-04060, 09351-04070) 

      Fig 33: Identifying Return Spring With Snap Ring
      G04028651Courtesy of © TOYOTA, LICENSE AGREEMENT TMS1002
  26. INSTALL 2ND BRAKE CYLINDER 
    1. Install the 2nd brake cylinder to the transmission case.
      Fig 34: Identifying 2Nd Brake Cylinder To Transmission Case
      G04028652Courtesy of © TOYOTA, LICENSE AGREEMENT TMS1002
    2. Check that the oil pressure apply hole of the brake cylinder aligns with the oil pressure apply hole of the transmission case.
      Fig 35: Identifying Oil Pressure Apply Hole Of Brake Cylinder
      G04028653Courtesy of © TOYOTA, LICENSE AGREEMENT TMS1002
  27. INSTALL 1 WAY CLUTCH ASSEMBLY 
    1. Install the 1 way clutch assembly and the thrust washer to the transmission case.
      Fig 36: Identifying One Way Clutch Assembly And Thrust Washer
      G04046124Courtesy of © TOYOTA, LICENSE AGREEMENT TMS1002
  28. INSTALL 2ND BRAKE PISTON HOLE SNAP RING 
    1. Using SST, install the snap ring.

      SST 09350-30020 (09350-07060) 

      Fig 37: Identifying Snap Ring
      G04028655Courtesy of © TOYOTA, LICENSE AGREEMENT TMS1002
  29. INSTALL 2ND BRAKE DISC SET 
    1. Install the cushion plate, flange, the 4 discs and the 4 plates to the transmission case.

      Install in order: 

      P = Plate, D = Disc, F = Flange, C = Cushion 

      Plate 

      F - D - P - D - P - D - P - D - P - C 

      Fig 38: Identifying Cushion Plate, Flange, Discs And Plates To Transmission Case
      G04028656Courtesy of © TOYOTA, LICENSE AGREEMENT TMS1002
  30. INSTALL BRAKE NO.3 SNAP RING 
    1. Using a screwdriver, install the snap ring.

      SST 09350-30020 (09350-07060) 

      Fig 39: Identifying Snap Ring
      G04028657Courtesy of © TOYOTA, LICENSE AGREEMENT TMS1002
  31. INSTALL 1 WAY NO.2 CLUTCH ASSEMBLY 
    1. Install the 1 way No.2 clutch assembly and washer No.2 to the clutch drum and input shaft.
      Fig 40: View Of 1 Way no. 2 Clutch Assembly And Clutch Drum Thrust Washer
      G04028658Courtesy of © TOYOTA, LICENSE AGREEMENT TMS1002
  32. INSTALL CLUTCH DRUM AND INPUT SHAFT 
    1. Install the thrust needle roller bearings and thrust washer.
    2. Coat the race with petroleum jelly and install it onto the clutch drum and input shaft assembly.

      Thrust needle roller bearing and diameter 

      Fig 41: Identifying Thrust Needle Roller Bearings And Thrust Washer
      G04028659Courtesy of © TOYOTA, LICENSE AGREEMENT TMS1002
      THRUST NEEDLE ROLLER BEARING DIAMETER SPECIFICATIONS

        Inside Outside
      Thrust needle roller bearing A 71.9 mm (2.831 in.) 85.6 mm (3.370 in.)
      Thrust needle roller bearing B 34.6 mm (1.362 in.) 52.0 mm (2.047 in.)
      Bearing Race 37.0 mm (1.457 in.) 52.3 mm (2.059 in.)
    3. Install the clutch drum and input shaft onto the transmission case.
      Fig 42: Identifying Clutch Drum And Input Shaft Onto Transmission Case
      G04028660Courtesy of © TOYOTA, LICENSE AGREEMENT TMS1002
  33. INSTALL OIL PUMP ASSEMBLY 
    1. Install the thrust bearing race No.1 to the front oil pump.
      RACE DIAMETER SPECIFICATIONS

        Inside Outside
      Race 74.2 mm (2.921 in.) 87.74 mm (3.454 in.)
      Fig 43: Identifying Thrust Bearing Race No 1 To Front Oil Pump
      G04028661Courtesy of © TOYOTA, LICENSE AGREEMENT TMS1002
    2. Coat a new O-ring with ATF, and install it around the oil pump assembly.
    3. Place the oil pump through the input shaft, and align the bolt holes of the oil pump assembly with the transmission case.
    4. Hold the input shaft, and lightly press the oil pump body to slide the oil seal rings into the overdrive direct clutch drum.
      Fig 44: Identifying O-Ring Around Oil Pump Assembly
      G04028662Courtesy of © TOYOTA, LICENSE AGREEMENT TMS1002
    5. Install the 10 bolts.

      Torque: 21 N*m (214 kgf*cm, 15 ft.*lbf) 

      Fig 45: Identifying Bolts
      G04028663Courtesy of © TOYOTA, LICENSE AGREEMENT TMS1002
  34. INSTALL MANUAL VALVE LEVER SHAFT OIL SEAL 
    1. Using SST, drive in 2 new oil seals.

      SST 09350-30020 (09350-07110) 

    2. Coat the oil seal lips with MP grease.
  35. INSPECT INDIVIDUAL PISTON OPERATION (See  REASSEMBLY   ) 
    Fig 46: Identifying Manual Valve Lever Shaft Oil Seal
    G04028664Courtesy of © TOYOTA, LICENSE AGREEMENT TMS1002
  36. INSTALL MANUAL VALVE LEVER SUB-ASSEMBLY 
    1. Install a new spacer to the manual valve lever.
    2. Install the manual valve lever shaft to the transmission case through the manual valve lever.
      Fig 47: Identifying Manual Valve Lever Shaft To Transmission Case
      G04028665Courtesy of © TOYOTA, LICENSE AGREEMENT TMS1002
    3. Using a hammer, drive in a new spring pin.
      Fig 48: Identifying Spring Pin
      G04028666Courtesy of © TOYOTA, LICENSE AGREEMENT TMS1002
    4. Align the manual valve lever indentation with the spacer hole, and stake them together with the punch.
    5. Make sure that the shaft rotates smoothly.
      Fig 49: Aligning Manual Valve Lever Indentation With Spacer Hole And Staking With Punch
      G04028667Courtesy of © TOYOTA, LICENSE AGREEMENT TMS1002
  37. INSTALL PARKING LOCK PAWL SHAFT 
    1. Install the E-ring to the shaft.
    2. Install the parking lock pawl, the shaft and the spring.
      Fig 50: Identifying Parking Lock Pawl Shaft And Spring
      G04028668Courtesy of © TOYOTA, LICENSE AGREEMENT TMS1002
  38. INSTALL PARKING LOCK ROD SUB-ASSEMBLY 
    1. Connect the parking lock rod to the manual valve lever.
      Fig 51: View Of Parking Lock Rod And Manual Valve Lever
      G04028669Courtesy of © TOYOTA, LICENSE AGREEMENT TMS1002
  39. INSTALL PARKING LOCK PAWL BRACKET 
    1. Place the parking lock pawl bracket onto the transmission case and tighten the 3 bolts.

      Torque: 7.4 N*m (75 kgf*cm, 65 in.*lbf) 

      Fig 52: Identifying Parking Lock Pawl Bracket
      G04019542Courtesy of © TOYOTA, LICENSE AGREEMENT TMS1002
    2. Shift the manual valve lever to the P position, and confirm the planetary gear is correctly locked up by the lock pawl.
      Fig 53: Locking Planetary Gear By Lock Pawl
      G04028671Courtesy of © TOYOTA, LICENSE AGREEMENT TMS1002
  40. INSTALL B-1 ACCUMULATOR VALVE 
    1. Install the 2 springs and the accumulator valve to the hole.
      Fig 54: Identifying Springs And Accumulator Valve (1 Of 2)
      G04028672Courtesy of © TOYOTA, LICENSE AGREEMENT TMS1002

      B-1 accumulator spring 

      Inner spring: 

      B-1 ACCUMULATOR SPRING (INNER) DIAMETER SPECIFICATIONS

      Free length Outer diameter Color
      44.98 mm (1.7709 in.) 11.30 mm (0.445 in.) Natural

      Outer spring: 

      B-1 ACCUMULATOR SPRING (OUTER) DIAMETER SPECIFICATIONS

      Free length Outer diameter Color
      46.36 mm (1.8252 in.) 17.10 mm (0.6732 in.) Natural
      Fig 55: Identifying Springs And Accumulator Valve (2 Of 2)
      G04028673Courtesy of © TOYOTA, LICENSE AGREEMENT TMS1002
  41. INSTALL C-3 ACCUMULATOR PISTON 
    1. Coat 2 new O-rings with ATF, and install them to the piston.
      Fig 56: Identifying Springs And C-3 Accumulator Piston (1 Of 2)
      G04028674Courtesy of © TOYOTA, LICENSE AGREEMENT TMS1002
    2. Install the 2 springs and the accumulator piston to the hole.

      C-3 accumulator spring 

      Inner spring: 

      C-3 ACCUMULATOR SPRING (INNER) DIAMETER SPECIFICATIONS

      Free length Outer diameter Color
      44.0 mm (1.732 in.) 14.0 mm (0.551 in.) Yellow

      Outer spring: 

      C-3 ACCUMULATOR SPRING (OUTER) DIAMETER SPECIFICATIONS

      Free length Outer diameter Color
      76.65 mm (3.0178 in.) 20.10 mm (0.7913 in.) Natural
      Fig 57: Identifying Springs And C-3 Accumulator Piston (2 Of 2)
      G04028675Courtesy of © TOYOTA, LICENSE AGREEMENT TMS1002
  42. INSTALL B-3 ACCUMULATOR PISTON 
    1. Coat 2 new O-rings with ATF, and install them to the piston.
      Fig 58: Identifying Springs And B-3 Accumulator Piston (1 Of 2)
      G04028676Courtesy of © TOYOTA, LICENSE AGREEMENT TMS1002
    2. Install the spring and the accumulator piston to the hole.

    Accumulator spring 

    ACCUMULATOR SPRING DIAMETER SPECIFICATIONS

    Free length Outer diameter Color
    64.5 mm (2.539 in.) 19.5 mm (0.768 in.) Orange
    Fig 59: Identifying Springs And B-3 Accumulator Piston (2 Of 2)
    G04028677Courtesy of © TOYOTA, LICENSE AGREEMENT TMS1002
  43. INSTALL C-2 ACCUMULATOR PISTON 
    1. Coat 2 new O-rings with ATF, and install them to the piston.
      Fig 60: Identifying Springs And C-2 Accumulator Piston
      G04028678Courtesy of © TOYOTA, LICENSE AGREEMENT TMS1002
    2. Install the spring and the accumulator piston to the hole.

    Accumulator spring 

    ACCUMULATOR SPRING SPECIFICATIONS

    Free length Outer diameter Color
    63.14 mm (2.4858 in.) 16.0 mm (0.6299 in.) Light Gray
    Fig 61: Identifying Spring And Accumulator Piston To Hole
    G04028679Courtesy of © TOYOTA, LICENSE AGREEMENT TMS1002
  44. INSTALL CHECK BALL BODY 
    1. Install the check ball body and the spring.
      Fig 62: Identifying Check Ball Body And Spring
      G04028680Courtesy of © TOYOTA, LICENSE AGREEMENT TMS1002
  45. INSTALL BRAKE DRUM GASKET 
    1. Install the 3 brake drum gaskets.
      Fig 63: Identifying Brake Drum Gaskets
      G04028681Courtesy of © TOYOTA, LICENSE AGREEMENT TMS1002
  46. INSTALL TRANSAXLE CASE GASKET 
    1. Install the 3 transaxle case gaskets.
      Fig 64: Identifying Transaxle Case Gaskets
      G04028682Courtesy of © TOYOTA, LICENSE AGREEMENT TMS1002
  47. INSTALL TRANSMISSION VALVE BODY ASSEMBLY 
    1. Align the groove of the manual valve lever with the pin of the manual valve.
      Fig 65: Aligning Groove Of Manual Valve Lever
      G04028683Courtesy of © TOYOTA, LICENSE AGREEMENT TMS1002
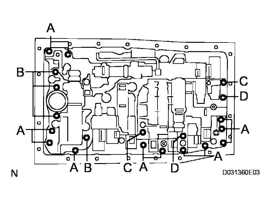
    2. Install the 20 bolts.

      Torque: 11 N*m (110 kgf*cm, 8 ft.*lbf) 

      HINT:

      Each bolt length is indicated below.

      Bolt length: 

      Bolt A: 

      25 mm (0.98 in.) 

      Bolt B: 

      36 mm (1.42 in.) 

      Bolt C: 

      45 mm (1.77 in.) 

      Bolt D: 

      50 mm (1.97 in.) 

      Fig 66: Identifying Bolts
      G04028684Courtesy of © TOYOTA, LICENSE AGREEMENT TMS1002
    3. Install the detent spring and the detent spring cover with the bolt.

      Torque: 10 N*m (102 kgf*cm, 7 ft.*lbf) 

      Fig 67: Identifying Detent Spring And Detent Spring Cover With Bolt
      G04028685Courtesy of © TOYOTA, LICENSE AGREEMENT TMS1002
  48. INSTALL TRANSMISSION WIRE 
    1. Install a new O-ring to the transmission wire.
    2. Install the transmission wire.
    3. Install the bolt.

      Torque: 5.4 N*m (55 kgf*cm, 48 in.*lbf) 

      Fig 68: Locating Transmission Internal Wiring Harness bolt
      G04019558Courtesy of © TOYOTA, LICENSE AGREEMENT TMS1002
    4. Connect the 9 solenoid connectors.
    5. Install the ATF temperature sensor and clamp with the bolt.

      Torque: 10 N*m (102 kgf*cm, 7 ft.*lbf) 

    6. Install the clamps with the 2 bolts.

      Torque: Bolt A 

      6.4 N*m (65 kgf*cm, 57 in.*lbf) 

      Bolt B 

      10 N*m (102 kgf*cm, 7 ft.*lbf) 

      Fig 69: Identifying ATF Temperature Sensor And Clamp With Bolt
      G04028687Courtesy of © TOYOTA, LICENSE AGREEMENT TMS1002
  49. INSTALL VALVE BODY OIL STRAINER ASSEMBLY 
    1. Coat a new O-ring with ATF, and install it to the valve body oil strainer assembly.
    2. Install the oil strainer with the 4 bolts.

      Torque: 10 N*m (102 kgf*cm, 7 ft.*lbf) 

      Fig 70: Identifying Oil Strainer With 4 Bolts
      G04028688Courtesy of © TOYOTA, LICENSE AGREEMENT TMS1002
  50. INSTALL TRANSMISSION OIL CLEANER MAGNET 
    1. Install the 3 transmission oil cleaner magnets.
  51. INSTALL AUTOMATIC TRANSMISSION OIL PAN SUB-ASSEMBLY 
    1. Install a new gasket on the oil pan.
    2. Install and tighten the 20 bolts.

      Torque: 4.4 N*m (45 kgf*cm, 39 in.*lbf) 

    3. Install a new gasket and the drain plug.

      Torque: 20 N*m (204 kgf*cm, 15 ft.*lbf) 

    4. Install a new gasket and the over flow plug.

      Torque: 20 N*m (204 kgf*cm, 15 ft.*lbf) 

      Fig 71: Identifying Transmission Oil Cleaner Magnets
      G04028689Courtesy of © TOYOTA, LICENSE AGREEMENT TMS1002
  52. INSTALL AUTOMATIC TRANSMISSION EXTENSION HOUSING OIL SEAL 
    1. Using SST and a hammer, install a new oil seal.

      SST 09309-37010 

  53. INSTALL TRANSMISSION CASE ADAPTOR RADIAL BALL BEARING 
    Fig 72: Identifying Oil Seal
    G04028690Courtesy of © TOYOTA, LICENSE AGREEMENT TMS1002
  54. INSTALL RR COVER SLEEVE 
    1. Install the 2 washers and RR cover sleeve to the output shaft.
      Fig 73: Identifying Washers And RR Cover Sleeve To Output Shaft
      G04028691Courtesy of © TOYOTA, LICENSE AGREEMENT TMS1002
  55. INSTALL ALL EXTENSION (ATM) HOUSING SUBASSEMBLY 
    1. Install the thrust needle roller bearing and the 2 bearing races.
    2. Using a snap ring expander, install a new snap ring.
      Fig 74: Identifying Snap Ring
      G04028692Courtesy of © TOYOTA, LICENSE AGREEMENT TMS1002
    3. Using a feeler gauge, measure the clearance between the snap ring and the race.

      Clearance: 

      0.02 to 0.12 mm (0.0008 to 0.0047 in.) 

      If the clearance is outside the standard, select another race that brings the clearance within the standard.

      HINT:

      There are 12 different thickness for the race.

      Flange thickness 

      FLANGE THICKNESS SPECIFICATIONS

      NO. Thickness NO. Thickness
      1 3.80 mm (0.1496 in.) 7 4.10 mm (0.1614 in.)
      2 3.85 mm (0.1516 in.) 8 4.15 mm (0.1634 in.)
      3 3.90 mm (0.1535 in.) 9 4.20 mm (0.1653 in.)
      4 3.95 mm (0.1555 in.) 10 4.25 mm (0.1673 in.)
      5 4.00 mm (0.1575 in.) 11 4.30 mm (0.1693 in.)
      6 4.05 mm (0.1594 in.) 12 4.35 mm (0.1713 in.)
      Fig 75: Measuring Clearance Between Snap Ring And Race
      G04028693Courtesy of © TOYOTA, LICENSE AGREEMENT TMS1002
    4. Clean the threads of the bolts and the case with white gasoline.
    5. Apply FIPG to the extension housing as shown in the illustration.

      FIPG: 

      Part No. 08826-00090, THREE BOND 1281 or equivalent 

      Fig 76: Applying FIPG To Extension Housing
      G04028694Courtesy of © TOYOTA, LICENSE AGREEMENT TMS1002
    6. Install the extension housing with 6 new bolts.

      Torque: 34 N*m (347 kgf*cm, 25 ft.*lbf) 

      HINT:

      Each bolt length is indicated below.

      Bolt length: 

      Bolt A: 

      45 mm (1.772 mm) 

      Bolt B: 

      35 mm (1.378 mm) 

      Fig 77: Identifying Extension Housing With 6 New Bolts
      G04028695Courtesy of © TOYOTA, LICENSE AGREEMENT TMS1002
  56. INSTALL AUTOMATIC TRANSMISSION FLANGE YOKE ASSEMBLY 
    1. Using SST, install a new oil seal to the automatic transmission flange yoke.

      SST 09950-60010 (09951-00350), 09950-70010 (09951-07100) 

    2. Install the automatic transmission flange yoke to the output shaft with a new nut.

      Torque: 126 N*m (1,285 kgf*cm, 93 ft.*lbf) 

    3. Using a hammer and chisel, stake the nut.
      Fig 78: Identifying Oil Seal To Automatic Transmission Flange Yoke
      G04028696Courtesy of © TOYOTA, LICENSE AGREEMENT TMS1002
  57. INSTALL AUTOMATIC TRANSMISSION HOUSING 
    1. Clean the threads of the bolts and the case with white gasoline.
    2. Install the transmission housing with the 10 bolts.

      Torque: A (14 mm bolt) 

      34 N*m (347 kgf*cm, 25 ft.*lbf) 

      B (17 mm bolt) 

      57 N*m (581 kgf*cm, 42 ft.*lbf) 

      Fig 79: Identifying Transmission Housing With 10 Bolts
      G04028697Courtesy of © TOYOTA, LICENSE AGREEMENT TMS1002
  58. INSTALL AUTOMATIC TRANSMISSION BREATHER TUBE 
    1. Install the breather tube.
    2. Install the 2 bolts.

      Torque: 5.4 N*m (55 kgf*cm, 48 in.*lbf) 

      Fig 80: Identifying Bolts
      G04028698Courtesy of © TOYOTA, LICENSE AGREEMENT TMS1002
  59. INSTALL TRANSMISSION REVOLUTION SENSOR 
    1. Coat 2 new O-rings with ATF, and install them to the transmission revolution sensors.
    2. Install the 2 transmission revolution sensors.
    3. Install the 2 bolts.

      Torque: 5.4 N*m (55 kgf*cm, 48 in.*lbf) 

      Fig 81: Identifying Bolts
      G04028699Courtesy of © TOYOTA, LICENSE AGREEMENT TMS1002
  60. INSTALL OIL COOLER TUBE UNION 
    1. Coat 2 new O-rings with ATF, and install them to oil cooler tube unions.
    2. Install the oil cooler tube unions as shown in the illustration.

      Torque: 29 N*m (296 kgf*cm, 21 ft.*lbf) 

      Fig 82: Identifying Oil Cooler Tube Unions
      G04028700Courtesy of © TOYOTA, LICENSE AGREEMENT TMS1002
  61. INSTALL PARK/NEUTRAL POSITION SWITCH ASSEMBLY 
    1. Install the park/neutral position switch onto the manual valve lever shaft, and temporarily install the adjusting bolt.
    2. Install a new lock washer. Install and tighten the nut.

      Torque: 6.9 N*m (70 kgf*cm, 61 in.*lbf) 

      Fig 83: Identifying Lock Washer
      G04028701Courtesy of © TOYOTA, LICENSE AGREEMENT TMS1002
    3. Using the control shaft lever, turn the manual lever shaft back all the way and then forward 2 notches. It is now in neutral.
      Fig 84: Turning Manual Lever Shaft Back
      G04028702Courtesy of © TOYOTA, LICENSE AGREEMENT TMS1002
    4. Align the neutral basic line with the switch groove as shown in the illustration, and tighten the adjusting bolt.

      Torque: 13 N*m (130 kgf*cm, 9 ft.*lbf) 

      Fig 85: Aligning Neutral Basic Line With Switch Groove
      G04028703Courtesy of © TOYOTA, LICENSE AGREEMENT TMS1002
    5. Using a screwdriver, bend the tabs of the lock washer.

      HINT:

      Bend at least 2 of the lock washer tabs.

      Fig 86: Bending Tabs Of Lock Washer
      G04028704Courtesy of © TOYOTA, LICENSE AGREEMENT TMS1002
  62. INSTALL TRANSMISSION CONTROL SHAFT LEVER RH 
    1. Install the control shaft lever RH, spring washer and the nut.

      Torque: 16 N*m (163 kgf*cm, 12 ft.*lbf) 

  63. REMOVE TRANSAXLE CASE COVER UPPER 
    1. Install the transaxle case cover upper with the 2 bolts.

      Torque: 5.4 N*m (55 kgf*cm, 48 in.*lbf) 

      Fig 87: Identifying Transaxle Case Cover Upper With 2 Bolts
      G04028705Courtesy of © TOYOTA, LICENSE AGREEMENT TMS1002