lemon-mirror:
Home >> Lexus >> 2006 >> GS 430 >> Repair and Diagnosis >> Transmission >> Automatic Trans >> Automatic Transmission >> Floor Shift Assembly >> Reassembly

Floor Shift Assembly: Reassembly

  1. INSTALL TRANSMISSION CONTROL SWITCH 
    1. Install the transmission control switch to the shift lever guide housing.

      HINT:

      Securely engage the claws.

      Fig 1: Identifying Transmission Control Switch To Shift Lever Guide Housing
      G04028461Courtesy of © TOYOTA, LICENSE AGREEMENT TMS1002
  2. INSTALL POSITION INDICATOR HOUSING LOWER 
    1. Install the position indicator housing lower to the shift lever guide housing.

      HINT:

      Securely engage the claws.

      Fig 2: Identifying Position Indicator Housing Lower To Shift Lever Guide Housing
      G04028462Courtesy of © TOYOTA, LICENSE AGREEMENT TMS1002
  3. INSTALL SHIFT LOCK CONTROL ECU SUBASSEMBLY 
    1. Apply MP grease to the hatched area of the shift lever guide housing as indicated in the illustration.
      Fig 3: Applying MP Grease To Hatched Area Of Shift Lever Guide Housing
      G04028463Courtesy of © TOYOTA, LICENSE AGREEMENT TMS1002
    2. Install the shift lock control ECU sub-assembly with the 2 screws.
      Fig 4: Identifying Shift Lock Control ECU Sub-Assembly
      G04028464Courtesy of © TOYOTA, LICENSE AGREEMENT TMS1002
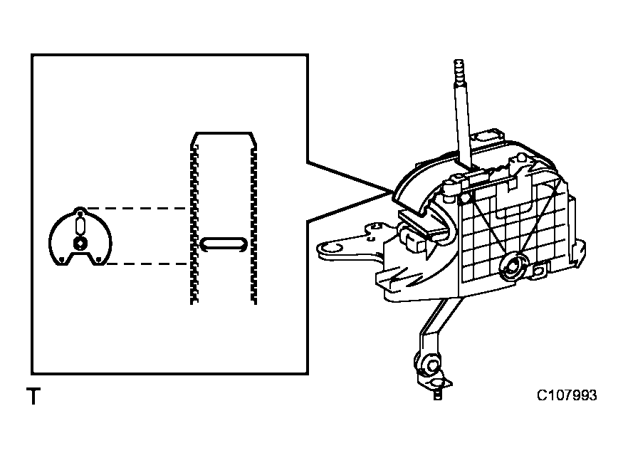
    3. Install the shift lever guide housing with the shift lever lock pin and a new shift lever nut.
      NOTE:
      • Install the shift lever nut and lock pin after first engaging the 2 claws.
      • Securely engage the claws.
      Fig 5: Identifying Shift Lever Guide Housing
      G04028465Courtesy of © TOYOTA, LICENSE AGREEMENT TMS1002
  4. INSTALL POSITION INDICATOR SLIDE COVER 
    1. Install position indicator slide cover No.2 to the position indicator slide cover.
    2. Install the position slide cover to the shift lever guide housing.
      Fig 6: Identifying Position Slide Cover To Shift Lever Guide Housing
      G04028466Courtesy of © TOYOTA, LICENSE AGREEMENT TMS1002
  5. INSTALL SHIFT LOCK RELEASE BUTTON 
    1. Install the shift lock release button and spring to the floor shift assembly.

      HINT:

      Securely engage the claws.

      Fig 7: Identifying Shift Lock Release Button And Spring To Floor Shift Assembly
      G04028467Courtesy of © TOYOTA, LICENSE AGREEMENT TMS1002
  6. INSTALL INDICATOR LIGHT WIRE SUB-ASSEMBLY 
    1. Securely connect the 2 terminals of the indicator light wire harness to the transmission control switch connector.
    2. Install the position indicator light bulb to the indicator light wire sub-assembly.
    3. Install the position indicator bulb cap to the position indicator light bulb.
      Fig 8: Identifying Terminals Of Indicator Light Wire Harness To Transmission Control Switch Connector
      G04028468Courtesy of © TOYOTA, LICENSE AGREEMENT TMS1002
    4. Install the indicator light wire to the position indicator lower.
      NOTE: Make sure that the indicator light wire is securely installed to the position indicator lens.
      Fig 9: Identifying Indicator Light Wire To Position Indicator Lower
      G04028469Courtesy of © TOYOTA, LICENSE AGREEMENT TMS1002
    5. Connect the indicator light wire connector to the floor shift assembly.
      Fig 10: Identifying Indicator Light Wire Connector To Floor Shift Assembly
      G04028470Courtesy of © TOYOTA, LICENSE AGREEMENT TMS1002
  7. INSTALL POSITION INDICATOR LENS 
    1. Install the position indicator lens to the position indicator housing upper.

      HINT:

      Securely engage the claws.

      Fig 11: Identifying Position Indicator Lens To Position Indicator Housing Upper
      G04028471Courtesy of © TOYOTA, LICENSE AGREEMENT TMS1002
  8. INSTALL POSITION INDICATOR HOUSING UPPER 
    1. Install the position indicator housing upper to the shift lever guide housing.

      HINT:

      Securely engage the claws.

  9. INSTALL SHIFT LOCK RELEASE BUTTON COVER 
    1. Install the shift lock release button cover to the position indicator housing upper.
      Fig 12: Identifying Position Indicator Housing Upper To Shift Lever Guide Housing
      G04028472Courtesy of © TOYOTA, LICENSE AGREEMENT TMS1002