lemon-mirror:
Home >> Lexus >> 2006 >> GX 470 >> Repair and Diagnosis >> Engine Performance >> System >> SFI System - Diagnostics >> Registration

SFI System - Diagnostics: Registration

NOTE: The Vehicle Identification Number (VIN) must be input into the replacement ECM.

HINT:

The VIN is in the form of a 17-digit alphanumeric vehicle identification number. A hand-held tester is required to register the VIN.

  1. DESCRIPTION 

    This registration section consists of three parts, Input Instructions, Read VIN and Write VIN.

    1. Input Instructions: Explains the general VIN input instructions using a hand-held tester.
    2. Read VIN: Explains the VIN reading process in a flowchart. This process allows the VIN stored in the ECM to be read, in order to confirm that the two VINs, provided with the vehicle and stored in the vehicle's ECM, are the same.
    3. Write VIN: Explains the VIN writing process in a flowchart. This process allows the VIN to be input into the ECM. If the ECM is changed, or the VIN and VIN do not match, the VIN can be registered, or overwritten in the ECM by following this procedure.
  2. INPUT INSTRUCTIONS 
    1. Hand-held tester
      1. The arrow buttons (UP, DOWN, RIGHT and LEFT) and numerical buttons (0 to 9) are used, in order to input the VIN.
    2. Cursor Operation
      1. To move the cursor around the tester screen, press the RIGHT and LEFT buttons.
    3. Alphabetical Character Input
      1. Press the UP and DOWN buttons to select the desired alphabetical character.
      2. After selection, the cursor should move.
    4. Numeric Character Input
      1. Press the numerical button corresponding to the number that you want to input.
      2. After input, the cursor should move.

        HINT:

        Numerical characters can be selected by using the UP and DOWN buttons.

    5. Correction
      1. When correcting the input character(s), put the cursor onto the character using the RIGHT or LEFT buttons.
      2. Select or input the correct character using the UP/DOWN buttons, or the numerical buttons.
    6. Finishing Input Operation
      1. Make sure that the input VIN matches the vehicle VIN after input.
      2. Press the ENTER button on the tester.
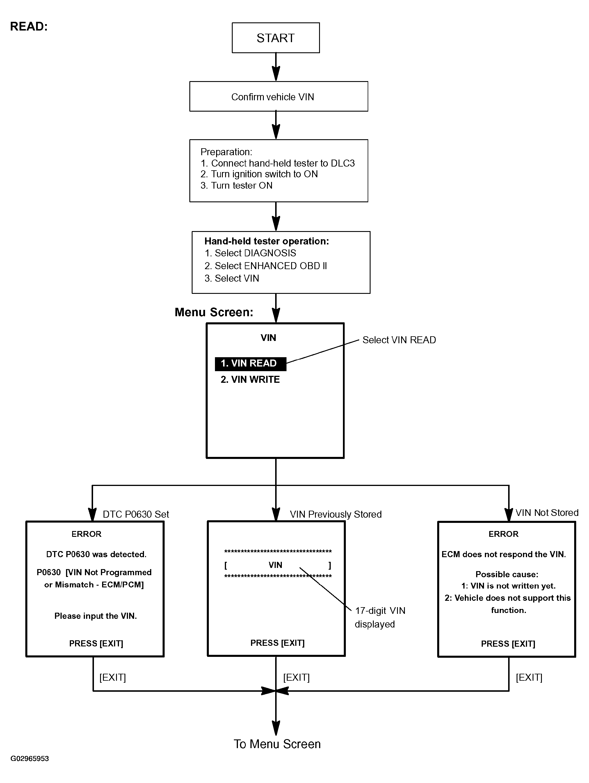
  3. READ VIN (Vehicle Identification Number) 
    1. Read VIN using a hand-held tester.
      Fig 1: Reading VIN Using Hand-Held Tester
      G02965953Courtesy of © TOYOTA, LICENSE AGREEMENT TMS1002
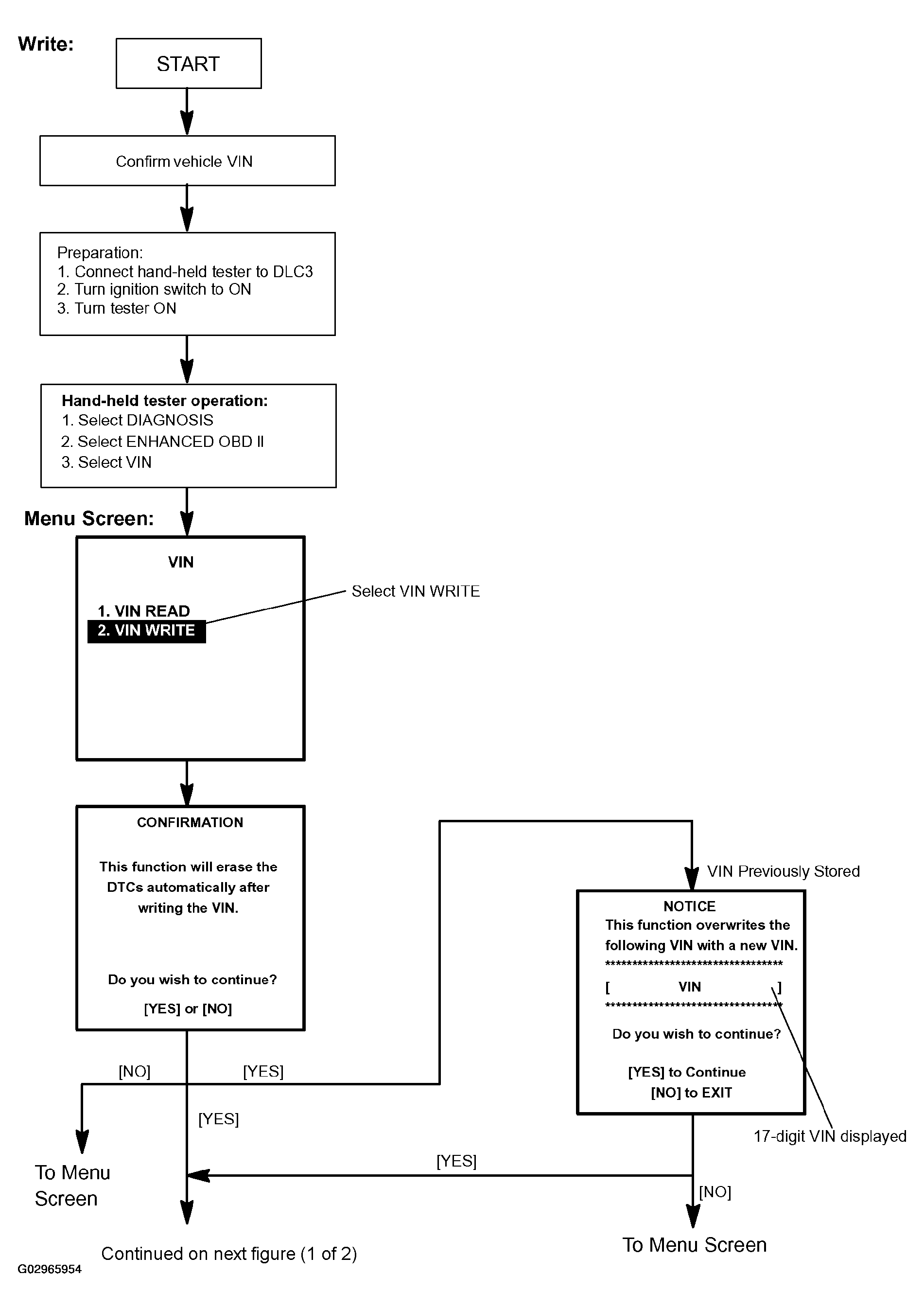
  4. WRITE VIN 
    1. Write VIN using the hand-held tester.
      Fig 2: Writing VIN Using Hand-Held Tester (1 Of 2)
      G02965954Courtesy of © TOYOTA, LICENSE AGREEMENT TMS1002
      Fig 3: Writing VIN Using Hand-Held Tester (2 Of 2)
      G02965955Courtesy of © TOYOTA, LICENSE AGREEMENT TMS1002