lemon-mirror:
Home >> Lexus >> 2006 >> IS 350 >> Repair and Diagnosis >> Engine Performance >> Engine Control System (2GR-FSE) >> Knock Sensor >> Installation

Knock Sensor: Installation

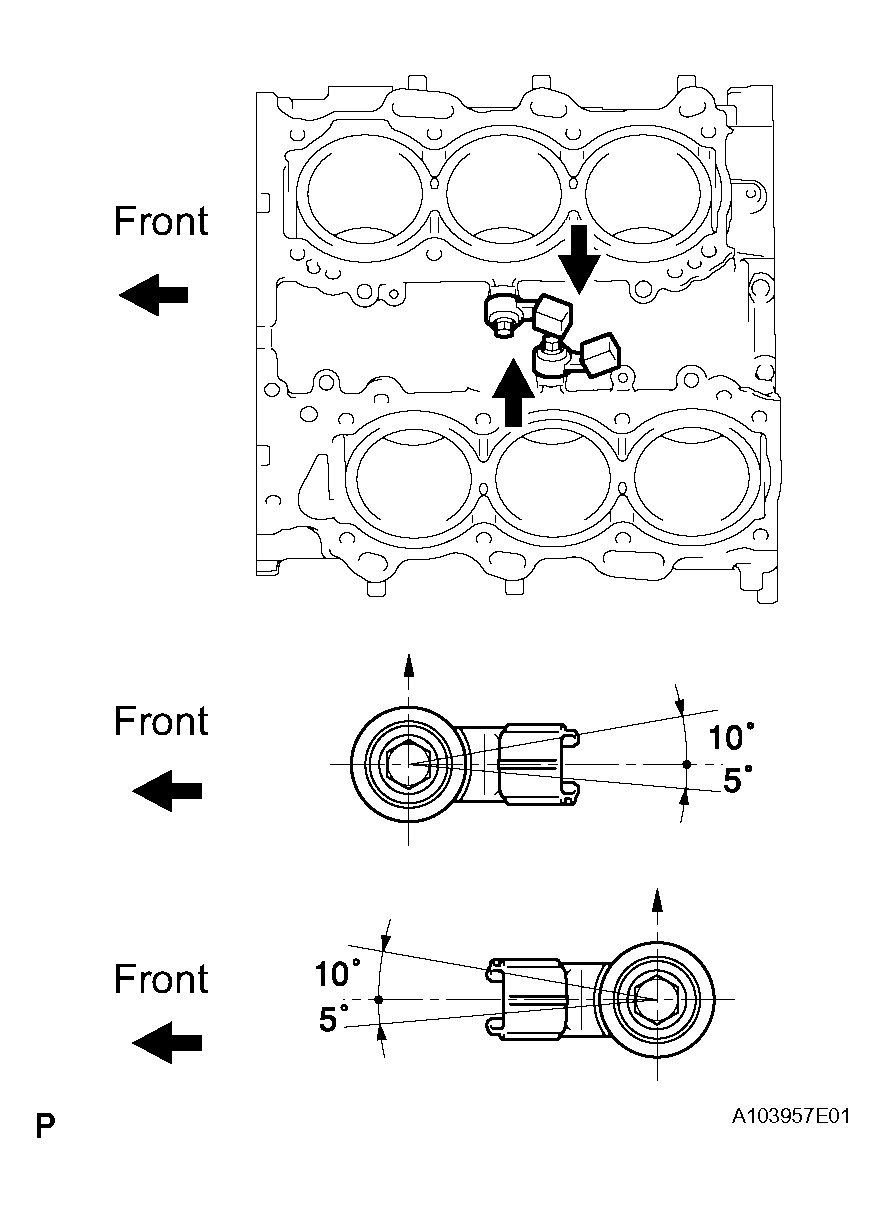
  1. INSTALL KNOCK SENSOR 
    1. Install the 2 knock sensors so that they are horizontal as shown in the illustration. Then install the 2 bolts.

      Torque: 20 N*m (204 kgf*cm, 15 ft.*lbf) 

      HINT:

      It is acceptable for the sensor to be tilted +10° to - 5°.

    2. Connect the 2 knock sensor connectors.
      Fig 1: Identifying Knock Sensor
      G04054976Courtesy of © TOYOTA, LICENSE AGREEMENT TMS1002
  2. INSTALL FUEL INJECTOR SEAL (See  INSTALLATION  ) 
  3. INSTALL INJECTOR (See  INSTALLATION  ) 
  4. INSTALL NO. 1 FUEL DELIVERY PIPE (See  INSTALLATION  ) 
  5. INSTALL NO. 2 FUEL DELIVERY PIPE (See  INSTALLATION  ) 
  6. INSTALL NO. 3 FUEL PIPE (See  INSTALLATION  ) 
  7. INSTALL NO. 2 FUEL PIPE (See  INSTALLATION  ) 
  8. INSTALL FUEL PUMP ASSEMBLY (See  REMOVAL  ) 
  9. CONNECT NO. 2 FUEL PIPE (See  INSTALLATION  ) 
  10. INSTALL NO. 1 FUEL PIPE (See  INSTALLATION  ) 
  11. INSTALL FUEL PRESSURE PULSATION DAMPER (See  INSTALLATION  ) 
  12. INSTALL WATER HOSE JOINT (See  INSTALLATION  ) 
  13. INSTALL INTAKE MANIFOLD (See  INSTALLATION  ) 
  14. INSTALL INTAKE AIR SURGE TANK ASSEMBLY (See  INSTALLATION  ) 
  15. INSTALL THROTTLE BODY (See  INSTALLATION   ) 
  16. INSTALL AIR CLEANER CAP WITH AIR CLEANER HOSE (See  INSTALLATION   ) 
  17. CONNECT NO. 2 VENTILATION HOSE (See  INSTALLATION   ) 
  18. ADD ENGINE COOLANT (See  COOLANT  ) 
  19. CHECK FOR ENGINE COOLANT LEAKAGE (See  COOLANT  ) 
  20. CHECK FOR FUEL LEAKAGE (See  ON-VEHICLE INSPECTION  ) 
  21. INSTALL COWL TOP VENTILATOR LOUVER SUBASSEMBLY (See  INSTALLATION  ) 
  22. INSTALL WINDSHIELD WIPER ARM AND BLADE ASSEMBLY LH (See  INSTALLATION  ) 
  23. INSTALL WINDSHIELD WIPER ARM AND BLADE ASSEMBLY RH (See  INSTALLATION  ) 
  24. INSTALL FRONT WIPER ARM HEAD CAP (See  INSTALLATION  ) 
  25. INSTALL ROOF DRIP SIDE FINISH MOULDING LH 
  26. INSTALL ROOF DRIP SIDE FINISH MOULDING RH 
  27. INSTALL FRONT FENDER PROTECTOR UPPER LH (See  INSTALLATION  ) 
  28. INSTALL FRONT FENDER PROTECTOR UPPER RH (See  INSTALLATION  ) 
  29. INSTALL V-BANK COVER SUB-ASSEMBLY (See  INSTALLATION  ) 
  30. INSTALL ENGINE ROOM SIDE COVER LH (See  INSTALLATION  ) 
  31. INSTALL ENGINE ROOM SIDE COVER RH (See  INSTALLATION  ) 
  32. INSTALL COOL AIR INTAKE DUCT SEAL (See  INSTALLATION  ) 
  33. CHECK FUNCTION THROTTLE BODY (See  INSTALLATION   )