lemon-mirror:
Home >> Lexus >> 2006 >> LS 430 >> Repair and Diagnosis >> Engine Performance >> System >> SFI System - Diagnostics >> Fuel Pump Control Circuit >> Inspection Procedure

Inspection Procedure

  1. PERFORM ACTIVE TEST (OPERATE C/OPN RELAY) 
    1. Connect the hand-held tester to the CAN VIM. Then connect the CAN VIM to the DLC3.
    2. Turn the ignition switch ON and turn the hand-held tester ON.
    3. Enter the following menus: DIAGNOSIS / ENHANCED OBD II / ACTIVE TEST / FUEL PUMP / SPD.
    4. Check the relay operation while operating it using the hand-held tester.

    OK: Operating noise can be heard from the relay. 

    OK: Go to step   6 

    NG: Go to next step 

  2. INSPECT FUSE (IGN) 
    1. Remove the IGN fuse from the engine room No. 1 R/B.
    2. Measure the resistance of the fuse.

    Standard: Below 1 Ω 

    Fig 1: Identifying IGN Fuse
    G03004699Courtesy of © TOYOTA, LICENSE AGREEMENT TMS1002

    NG: REPLACE FUSE 

    OK: Go to next step 

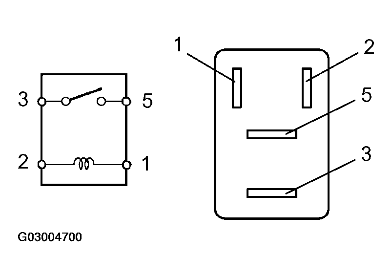
  3. INSPECT RELAY (Marking: C/OPN) 
    1. Remove the C/OPN relay from the engine room No. 1 R/B.
    2. Measure the resistance of the relay.
    Fig 2: Inspecting C/OPN Relay
    G03004700Courtesy of © TOYOTA, LICENSE AGREEMENT TMS1002

    Standard: 

    C/OPN RELAY - RESISTANCE TABLE

    Tester Connection Specified Condition
    3 - 5 10 kΩ or higher
    3 - 5 Below 1 Ω (when battery voltage is applied to terminals 1 and 2)

    NG: REPLACE RELAY 

    OK: Go to next step 

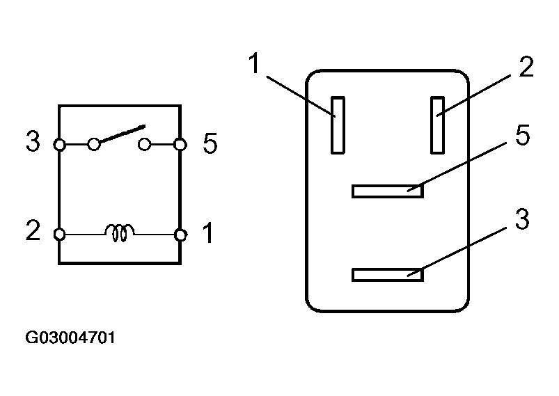
  4. INSPECT RELAY (Marking: IG2) 
    1. Remove the IG2 relay from the engine room No. 1 R/B.
    2. Measure the resistance of the relay.
    3. Fig 3: Inspecting IG2 Relay
      G03004701Courtesy of © TOYOTA, LICENSE AGREEMENT TMS1002

    Standard: 

    IG2 RELAY - RESISTANCE TABLE

    Tester Connection Specified Condition
    3 - 5 10 kΩ or higher
    3 - 5 Below 1 Ω (when battery voltage is applied to terminals 1 and 2)

    NG: REPLACE RELAY 

    OK: Go to next step 

  5. CHECK ECM (FC VOLTAGE) 
    1. Turn the ignition switch ON.
    2. Measure the voltage of the ECM connector.
    3. Fig 4: Identifying ECM Connector Terminal
      G03004702Courtesy of © TOYOTA, LICENSE AGREEMENT TMS1002

    Standard: 

    ECM CONNECTOR - VOLTAGE TABLE

    Tester Connection Specified Condition
    E3-14 (FC) - Body ground 9 to 14 V

    NG: REPAIR OR REPLACE HARNESS AND CONNECTOR 

    OK: REPLACE ECM (See  REPLACEMENT  ) 

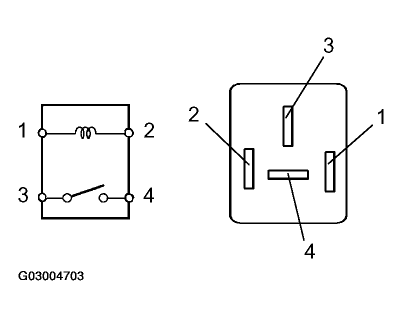
  6. INSPECT RELAY (Marking: F/PMP) 
    1. Remove the F/PMP relay from the engine room No. 1 R/B.
    2. Measure the resistance of the relay.
    3. Fig 5: Inspecting F/PMP Relay
      G03004703Courtesy of © TOYOTA, LICENSE AGREEMENT TMS1002

    Standard: 

    F/PMP RELAY - RESISTANCE TABLE

    Tester Connection Specified Condition
    3 - 4 Below 1 Ω
    3 - 4 10 kΩ or more (when battery voltage is applied to terminals 1 and 2)

    NG: REPLACE RELAY 

    OK: Go to next step 

  7. INSPECT FUEL PUMP 
    1. Check the resistance of the fuel pump.
      1. Measure the resistance between terminals 4 and 5.

      Standard: 0.2 to 3.0 Ω at 20°C (68°F) 

    2. Check the operation of the fuel pump.
      1. Apply battery voltage to both the terminals. Check that the pump operates.
    NOTE:
    • These tests must be done quickly (within 10 seconds) to prevent the coil from burning out.
    • Keep fuel pump as far away from the battery as possible.
    CAUTION: Always turn on and off the voltage on the battery side, not the fuel pump side.
    Fig 6: Identifying Fuel Pump Terminals
    G03004704Courtesy of © TOYOTA, LICENSE AGREEMENT TMS1002

    NG: REPLACE FUEL PUMP (See step 15 on  REPLACEMENT  ) 

    OK: Go to next step 

  8. INSPECT FUEL PUMP RESISTER 
    1. Measure the resistance of the resister.

    Standard: 0.30 to 0.34 Ω at 20°C (68°F) 

    Fig 7: Measuring Resistance Of Resister
    G03004705Courtesy of © TOYOTA, LICENSE AGREEMENT TMS1002

    NG: REPLACE FUEL PUMP RESISTER 

    OK: Go to next step 

  9. CHECK ECM (FPR VOLTAGE) 
    1. Turn the ignition switch ON.
    2. Measure the voltage of the ECM connector.
    3. Fig 8: Identifying ECM Connector Terminal
      G03004706Courtesy of © TOYOTA, LICENSE AGREEMENT TMS1002

    Standard: 

    ECM CONNECTOR - VOLTAGE TABLE

    Tester Connection Specified Condition
    E3-15 (FPR) - Body ground 9 to 14 V

    NG: REPAIR OR REPLACE HARNESS AND CONNECTOR 

    OK: Go to next step 

  10. CHECK FOR SHORT OR OPEN IN ALL HARNESS CONNECTED FUEL PUMP AND FUEL PUMP RESISTER 

    NG: REPAIR OR REPLACE HARNESS AND CONNECTOR 

    OK: REPLACE ECM (See  REPLACEMENT  )