lemon-mirror:
Home >> Lexus >> 2006 >> LS 430 >> Repair and Diagnosis >> Engine Performance >> System >> SFI System - Diagnostics >> SFI System >> System Diagram

System Diagram

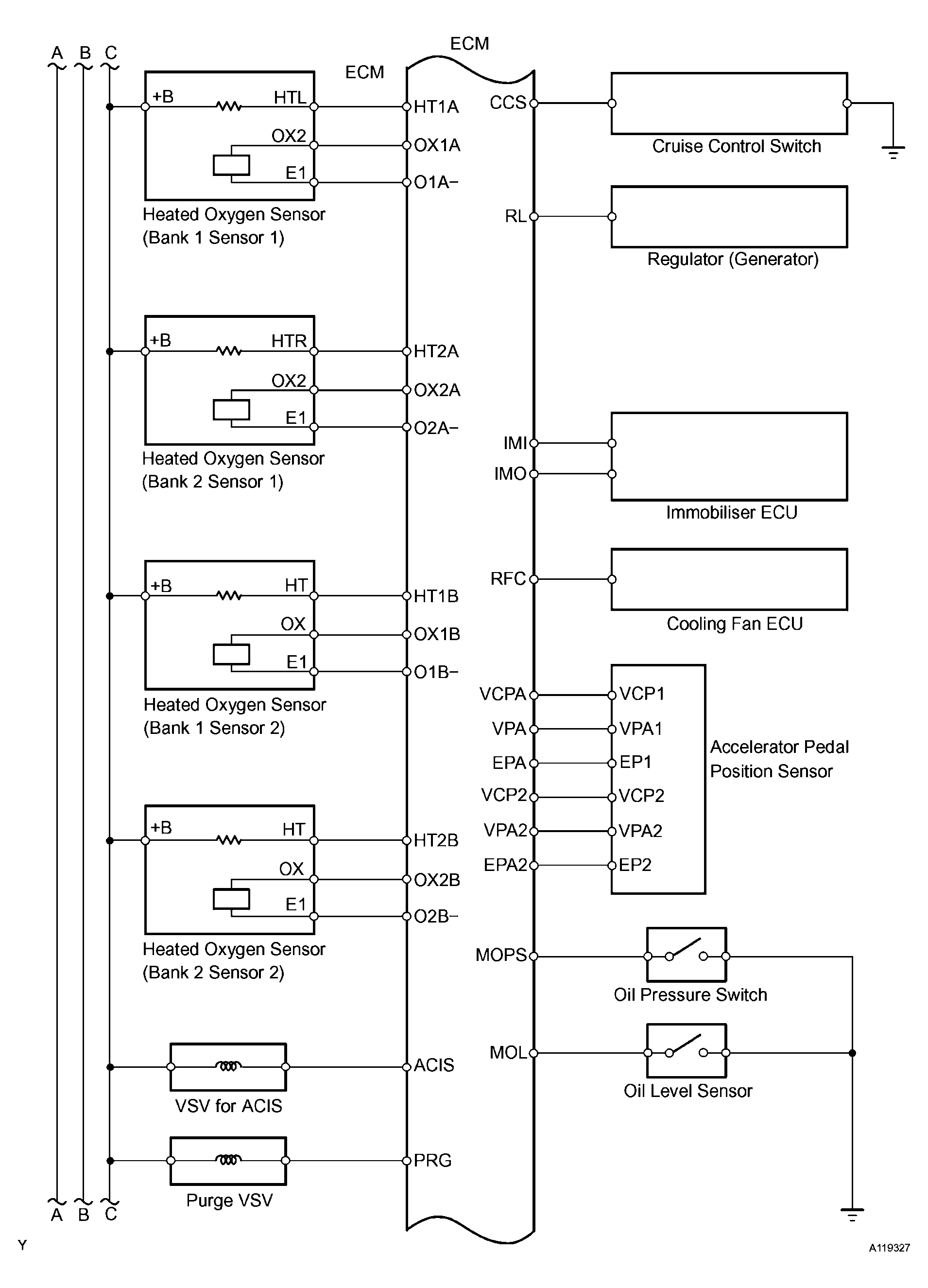
Fig 1: System Diagram - SFI System (1 Of 5)
G04067316Courtesy of © TOYOTA, LICENSE AGREEMENT TMS1002
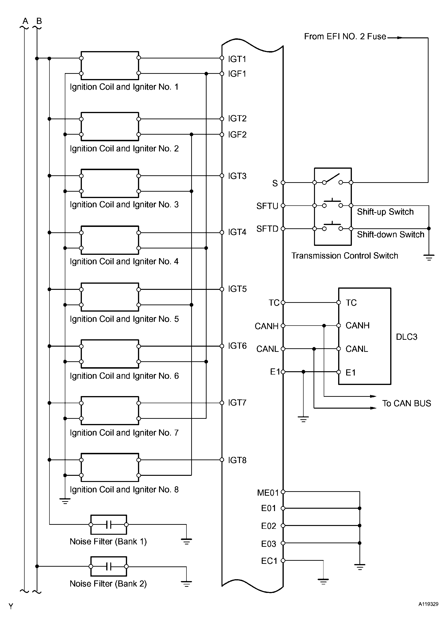
Fig 2: System Diagram - SFI System (2 Of 5)
G04067317Courtesy of © TOYOTA, LICENSE AGREEMENT TMS1002
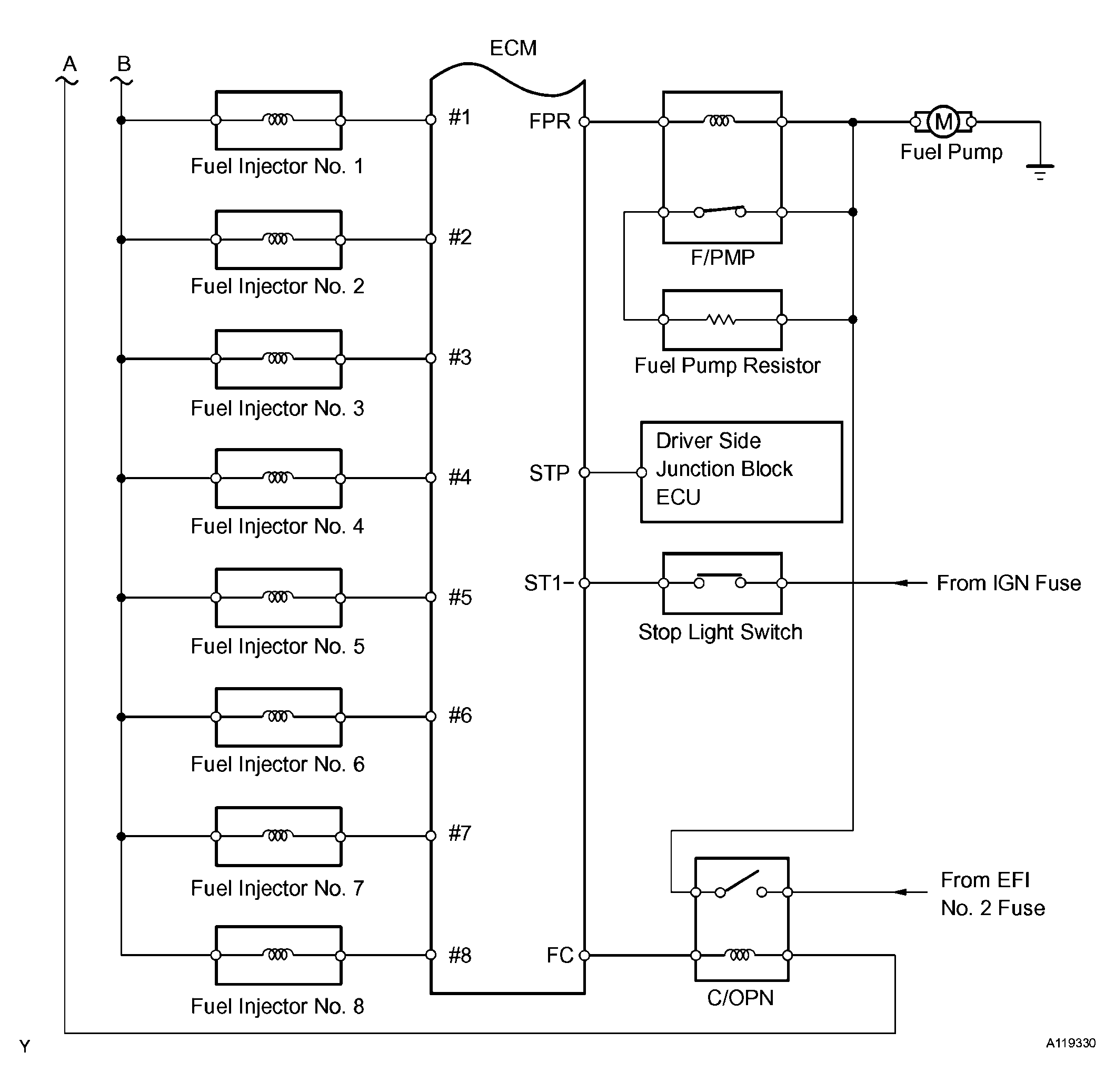
Fig 3: System Diagram - SFI System (3 Of 5)
G04067318Courtesy of © TOYOTA, LICENSE AGREEMENT TMS1002
Fig 4: System Diagram - SFI System (4 Of 5)
G04067319Courtesy of © TOYOTA, LICENSE AGREEMENT TMS1002
Fig 5: System Diagram - SFI System (5 Of 5)
G04067320Courtesy of © TOYOTA, LICENSE AGREEMENT TMS1002