lemon-mirror:
Home >> Lexus >> 2006 >> LS 430 >> Repair and Diagnosis >> Engine Performance >> System >> SFI System - Diagnostics >> VC Output Circuit >> Description

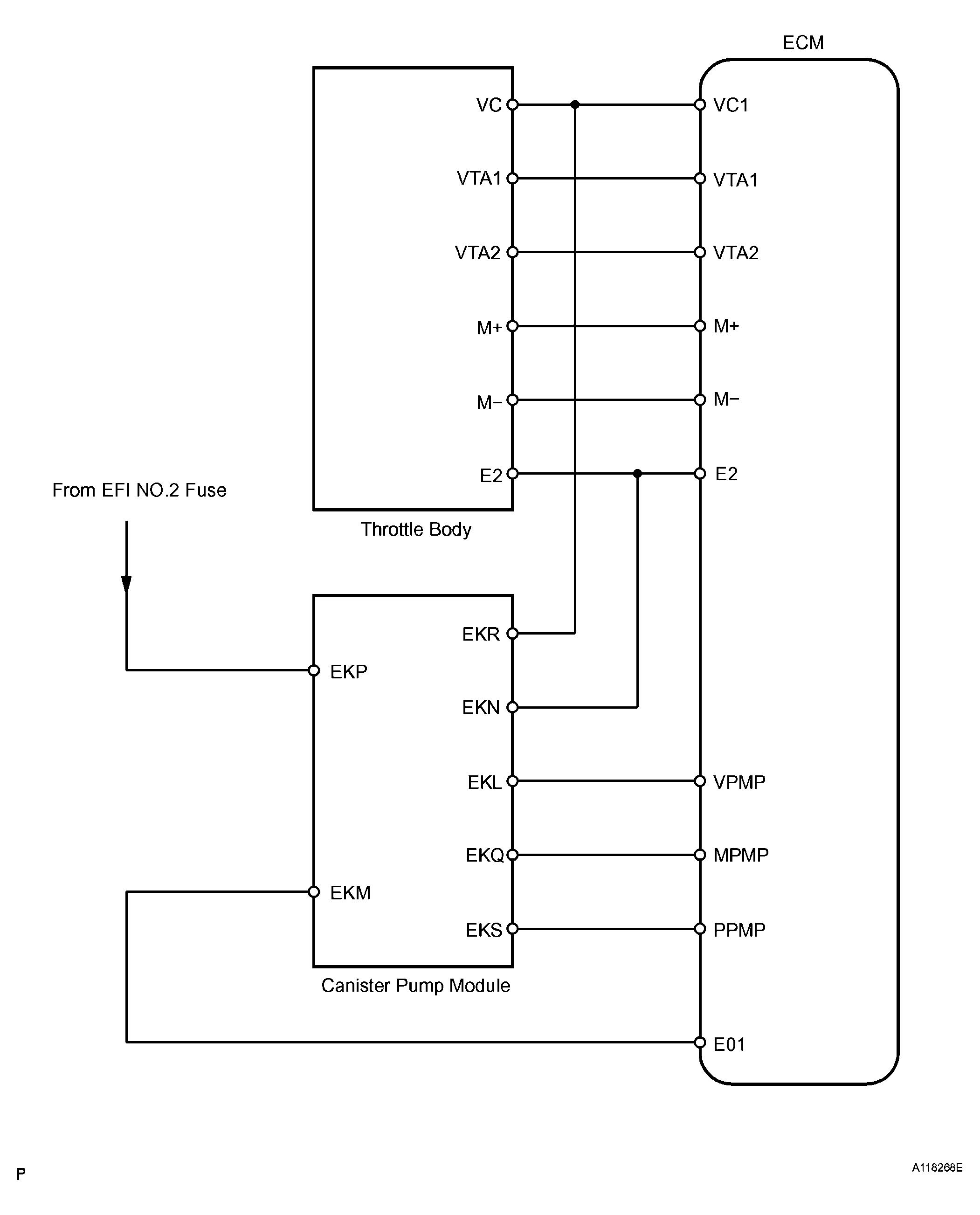
VC Output Circuit: Description

The VC voltage (5 V) is generated in the ECM. The voltage is used to supply power to the throttle position sensor, canister pump module, etc.

Fig 1: Identifying ECM Connectors And Terminals
G04067664Courtesy of © TOYOTA, LICENSE AGREEMENT TMS1002