lemon-mirror:
Home >> Lexus >> 2006 >> LX 470 >> Repair and Diagnosis >> Brakes >> Brakes Control Systems >> Brake Control >> Vehicle Stability Control System >> Operation Check

Operation Check

  1. CHECK WARNING LIGHT AND INDICATOR LIGHT 
    1. Release the parking brake lever.
      NOTE: When releasing the parking brake lever, move the shift lever into the P position to hold the vehicle for safety.
    2. When the ignition switch is turned ON, check that the ABS, VSC TRAC and BRAKE warning lights, VSC OFF, SLIP and TRAC indicator lights come on for 3 seconds.
    3. When depressing the brake pedal repeatedly, it may turn on the ABS, VSC TRAC and BRAKE warning light, VSC OFF indicator light and VSC buzzer.

      HINT:

      • If the ECU stores a DTC, the ABS, VSC TRAC and BRAKE warning lights and VSC OFF indicator light come ON.
      • If the indicator check result is not normal, proceed to troubleshooting for the ABS warning light circuit, VSC TRAC warning light circuit, BRAKE warning light circuit, VSC OFF indicator light circuit, SLIP indicator light circuit and VSC TRAC indicator light circuit.
    Fig 1: Checking Warning Light And Indicator Light
    G04063821Courtesy of © TOYOTA, LICENSE AGREEMENT TMS1002
    TROUBLE AREA PROCEDURE

    Trouble Area See procedure
    ABS warning light circuit ABS WARNING LIGHT CIRCUIT 
    VSC TRAC warning light circuit VSC TRAC WARNING LIGHT CIRCUIT 
    BRAKE warning light circuit BRAKE WARNING LIGHT CIRCUIT 
    VSC OFF indicator light circuit VSC OFF INDICATOR LIGHT CIRCUIT 
    SLIP indicator light circuit SLIP INDICATOR LIGHT CIRCUIT 
    TRAC indicator light circuit TRAC INDICATOR LIGHT CIRCUIT 
  2. CHECK SENSOR SIGNAL BY TEST MODE (When not using intelligent tester) 
    1. Procedures for test mode:
      1. Turn the ignition switch OFF.
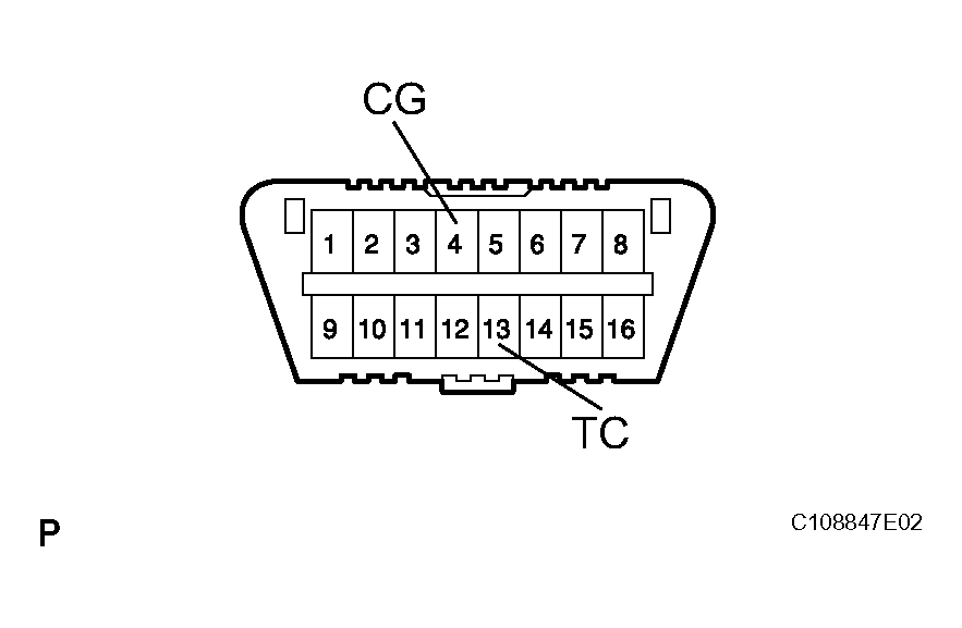
      2. Using SST, connect terminals 12 (TS) and 4 (CG) of DLC3.

        SST 09843-18040 

      3. Check that the steering wheel is in the straightahead position and move the shift lever to P.
      4. Turn the ignition switch ON.
        Fig 2: Identifying Connector Terminals DLC3
        G04063822Courtesy of © TOYOTA, LICENSE AGREEMENT TMS1002
      5. Check that the ABS warning light and VSC TRAC warning light blinks as shown in illustration.

        HINT:

        If no code appears, check the TC circuit, ABS warning light circuit and VSC TRAC warning light circuit.

      Fig 3: Identifying Blinking Pattern
      G04063823Courtesy of © TOYOTA, LICENSE AGREEMENT TMS1002
      TROUBLE AREA PROCEDURE

      Trouble Area See procedure
      TC terminal circuit TC and CG Terminal Circuit 
      ABS warning light circuit ABS WARNING LIGHT CIRCUIT 
      VSC TRAC warning light circuit VSC TRAC WARNING LIGHT CIRCUIT 
    2. Check the deceleration sensor.
      1. Create gravitational force (0.2 G or more) on the vehicle through deceleration. Use one of the following methods to decelerate the vehicle in the direction it is moving:
        • Apply the brakes.
        • Drive over a bump.
        • Drive on an incline.
      2. When the deceleration is 0.2 G or more, check that the ABS warning light illuminates.
    3. Check the master cylinder pressure sensor.
      1. Leave the vehicle in a stationary condition and the brake pedal released for 1 second or more. Then quickly depress the brake pedal with a force of 98 N (10 kgf, 22 lbf) or more for 1 second or more.

      HINT:

      At this time, the ABS warning light turns on for 3 seconds.

      Fig 4: Identifying ABS Warning Light Blinking Pattern
      G04063824Courtesy of © TOYOTA, LICENSE AGREEMENT TMS1002
    4. Check the speed sensor.
      1. Drive the vehicle straight forward at the following speed. Then check the ABS warning light.
        VEHICLE SPEED ABS WARNING LIGHT

        Vehicle Speed Check ABS Warning Light
        3 to 5 km/h (2 to 3 mph) Response of sensors Blinking
        45 km/h (28 mph) or higher Deviations of sensor signal Turns off

        HINT:

        The sensor signal check may not complete if the vehicle's wheels slip or the steering wheel is turned during this check.

      2. Stop the vehicle.
      3. Read the DTCs.
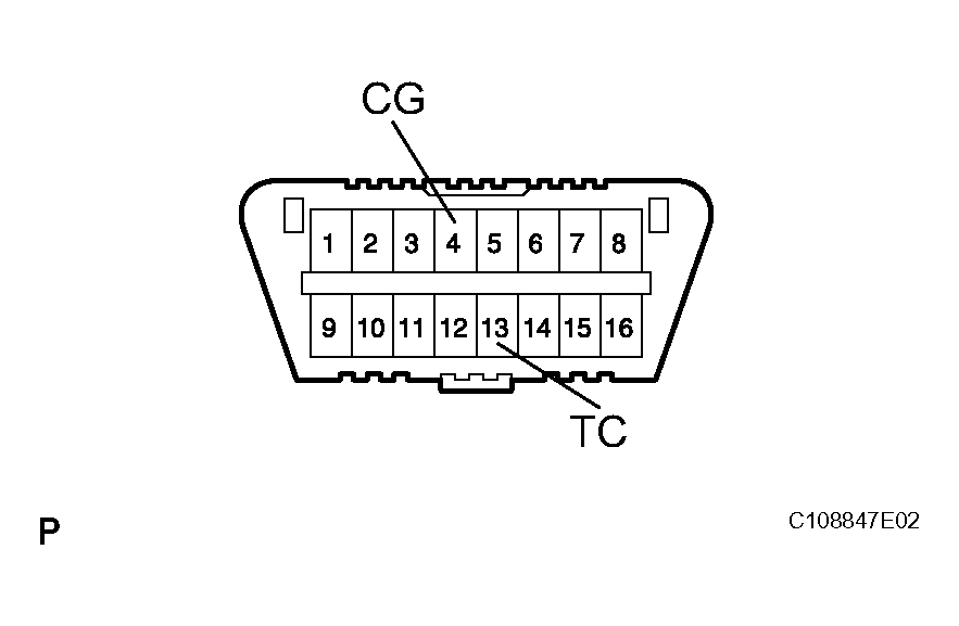
      4. Using SST, connect terminals 13 (TC) and 4 (CG) of the DLC3.

        SST 09843-18040 

        Fig 5: Identifying Connector Terminals DLC3
        G04063825Courtesy of © TOYOTA, LICENSE AGREEMENT TMS1002
      5. Read the number of blinks of the ABS warning light.
        Fig 6: Identifying Blinks Of ABS Warning Light
        G04063826Courtesy of © TOYOTA, LICENSE AGREEMENT TMS1002

        HINT:

        • As an example, the blinking patterns for trouble codes 72 and 76 are shown above.
        • Conditions are explained in Diagnostic Trouble Code chart.
        • For the normal code, the light cycles between ON and OFF at intervals of 0.25 seconds.
        • If more than 1 DTC is detected at the same time, the lowest numbered code will be displayed first.
      6. After the check, disconnect SST from terminals 13 (TC) and 4 (CG) of the DLC3.
    5. Check the yaw rate sensor.
      1. Move the shift lever to D and drive the vehicle at the vehicle speed of approximately 5 km/h (3 mph). Turn the steering wheel either to left or right 90°or more, and drive the vehicle in a halfcircle pattern.
      2. Stop the vehicle and move the shift lever to P. Check that the VSC buzzer sounds for 3 seconds.

        If the VSC buzzer sounds, the sensor check has completed normally.

        If the VSC buzzer does not sound, check the VSC buzzer circuit and check the sensor again. If the VSC buzzer still does not sound, there is malfunction in the VSC sensor. Check the DTCs.

        Fig 7: Checking Yaw Rate Sensor
        G04063827Courtesy of © TOYOTA, LICENSE AGREEMENT TMS1002

        HINT:

        • Drive the vehicle in a half-circle pattern. At the end of the turn, the direction of the vehicle should be within 180 +- 5°from its start position.
        • Do not spin the wheels.
      3. Read the DTCs.
      4. Using SST, connect terminals 13 (TC) and 4 (CG) of the DLC3.

        SST 09843-18040 

      5. Read the number of blinks of the VSC TRAC warning light.
        Fig 8: Identifying Connector Terminals DLC3
        G04063828Courtesy of © TOYOTA, LICENSE AGREEMENT TMS1002
        Fig 9: Identifying Blinking Pattern
        G04063829Courtesy of © TOYOTA, LICENSE AGREEMENT TMS1002

        HINT:

        • As an example, the blinking patterns for trouble codes 71 and 72 are shown above.
        • Conditions are explained in Diagnostic Trouble Code chart.
        • For the normal code, the light cycles between ON and OFF at intervals of 0.25 seconds.
        • If more than 1 DTC is detected at the same time, the lowest numbered code will be displayed first.
      6. After the check, disconnect SST from terminals 13 (TC) and 4 (CG) of the DLC3.
  3. CHECK SENSOR SIGNAL BY TEST MODE (When using Intelligent tester) 
    1. Procedures for test mode:
      1. Turn the ignition switch OFF.
      2. Check that the shift lever is on P.
      3. Connect the intelligent tester (with CAN VIM) to the DLC3.
      4. Start the engine.
      5. Select the Test Mode following the intelligent tester screen.
        Fig 10: Connecting Intelligent Tester To DLC3
        G04064541Courtesy of © TOYOTA, LICENSE AGREEMENT TMS1002

        HINT:

        Refer to the intelligent tester operator's manual for further details.

      6. Check that the ABS warning light and VSC TRAC warning light blinks.

        HINT:

        If the ABS warning light and VSC TRAC warning light does not blink, check the ABS warning light circuit and VSC TRAC warning light circuit.

        TROUBLE AREA REFERENCE CHART

        Trouble Area See procedure
        ABS warning light circuit ABS WARNING LIGHT CIRCUIT 
        VSC TRAC warning light circuit VSC TRAC WARNING LIGHT CIRCUIT 
        Fig 11: Identifying ABS Warning Light And VSC TRAC Warning Light Blinking Pattern
        G04063831Courtesy of © TOYOTA, LICENSE AGREEMENT TMS1002
      7. Start the engine.
    2. Check the deceleration sensor.
      1. Create gravitational force (0.2 G or more) on the vehicle through deceleration. Use one of the following methods to decelerate the vehicle in the direction it is moving:
        • Apply the brakes.
        • Drive over a bump.
        • Drive on an incline.
      2. When the deceleration is 0.2 G or more, check that the ABS warning light illuminates.
    3. Check the master cylinder pressure sensor.
      1. Leave the vehicle in a stationary condition and the brake pedal released for 1 second or more. Then quickly depress the brake pedal with a force of 98 N (10 kgf, 22 lbf) or more 1 second or more.

        HINT:

        At this time, the ABS warning light turns on for 3 second.

    4. Check the speed sensor.
      1. Drive the vehicle straight forward at the following speed. Then check the ABS warning light.
        VEHICLE SPEED REFERENCE CHART

        Vehicle Speed Check ABS Warning Light
        3 to 5 km/h (2 to 3 mph) Response of sensors Blinking
        45 km/h (28 mph) or higher Deviations of sensor signal Turns off

        HINT:

        The sensor signal check may not complete if the vehicle's wheels slip or the steering wheel is turned during this check.

      2. Stop the vehicle
      3. Read the DTCs.
    5. Check the yaw rate sensor.
      1. Move the shift lever to D and drive the vehicle at the vehicle speed of approximately 5 km/h (3 mph). Turn the steering wheel either to left or right 90°or more, and drive the vehicle in a halfcircle pattern.
      2. Stop the vehicle and move the shift lever to P. Check that the VSC buzzer sounds for 3 seconds.

        If the VSC buzzer sounds, the sensor check has completed normally.

        If the VSC buzzer does not sound, check the VSC buzzer circuit, and check the sensor again. If the VSC buzzer still does not sound, there is malfunction in the VSC sensor. Check the DTCs.

        HINT:

        • Drive the vehicle in a half-circle pattern. At the end of the turn, the direction of the vehicle should be within 180 +- 5°from its start position.
        • Do not spin the wheels.
      3. Read the DTCs.
        Fig 12: Checking Yaw Rate Sensor
        G04063832Courtesy of © TOYOTA, LICENSE AGREEMENT TMS1002

        DTC of ABS sensor check function: 

        CODE NO DIAGNOSIS TROUBLE AREA CHART

        Code No. Diagnosis Trouble Area
        C1271/71 Low output voltage in right front speed sensor
        • Right front speed sensor
        • Sensor installation
        • Sensor rotor
        C1272/72 Low output voltage in left front speed sensor
        • Left front speed sensor
        • Sensor installation
        • Sensor rotor
        C1273/73 Low output voltage in right rear speed sensor
        • Right rear speed sensor
        • Sensor installation
        • Sensor rotor
        C1274/74 Low output voltage in left rear speed sensor
        • Left rear speed sensor
        • Sensor installation
        • Sensor rotor
        C1275/75 Abnormal change in output voltage of right front speed sensor Right front speed sensor rotor
        C1276/76 Abnormal change in output voltage of left front speed sensor Left front speed sensor rotor
        C1277/77 Abnormal change in output voltage of left front speed sensor Right rear speed sensor rotor
        C1278/78 Abnormal change in output voltage of left front speed sensor Left rear speed sensor rotor
        C1279/79 Deceleration sensor is faulty
        • Deceleration sensor
        • Sensor installation
        C1281/81 Master cylinder pressure sensor output signal is faulty Master cylinder pressure sensor
        C1282/82 Transfer indicator (center diff. lock) switch malfunction Transfer indicator (center diff. lock) switch
        C1283/83 Transfer L4 position switch malfunction Transfer L4 position switch

        HINT:

        Read the number of blinks of the ABS warning light.

        DTC of VSC sensor check function: 

        CODE NO DIAGNOSIS TROUBLE AREA CHART

        Code No. Diagnosis Trouble Area
        C0371/71 Yaw rate sensor output signal malfunction
        • Yaw rate sensor
        • Yaw rate sensor circuit

        HINT:

        Read the number of blinks of the VSC TRAC warning light.