lemon-mirror:
Home >> Lexus >> 2006 >> LX 470 >> Repair and Diagnosis >> Transmission >> Automatic Trans >> Automatic Transmission >> Automatic Transmission Unit >> Disassembly

Automatic Transmission Unit: Disassembly

  1. REMOVE TRANSMISSION CONTROL SHAFT LEVER LH 
    1. Remove the nut, washer and control shaft lever LH.
    Fig 1: Identifying Nut, Washer And Control Shaft Lever LH
    G04062777Courtesy of © TOYOTA, LICENSE AGREEMENT TMS1002
  2. REMOVE PARK/NEUTRAL POSITION SWITCH ASSEMBLY 
    1. Using a screwdriver, pry out the lock washer.
    2. Remove the nut, lock washer and bolt.
    3. Remove the park/neutral position switch.
  3. REMOVE OIL COOLER TUBE UNION 
    1. Remove the 2 oil cooler tube unions.
    2. Remove the O-ring from the oil cooler tube union.
    Fig 2: Identifying Oil Cooler Tube Union
    G04062778Courtesy of © TOYOTA, LICENSE AGREEMENT TMS1002
  4. REMOVE TRANSMISSION REVOLUTION SENSOR 
    1. Remove the 2 bolts and 2 transmission revolution sensors.
    2. Remove the O-ring from each sensor.
    Fig 3: Identifying Transmission Revolution Sensor
    G04062779Courtesy of © TOYOTA, LICENSE AGREEMENT TMS1002
  5. REMOVE AUTOMATIC TRANSAXLE BREATHER TUBE 
    1. Remove the 3 bolts.
    2. Remove the breather tube.
    3. Remove the O-ring from each tube.
    Fig 4: Identifying Automatic Transaxle Breather Tube
    G04062780Courtesy of © TOYOTA, LICENSE AGREEMENT TMS1002
  6. REMOVE AUTOMATIC TRANSMISSION HOUSING 
    1. Remove the 10 bolts.
    2. Remove the transmission housing.
    Fig 5: Identifying Automatic Transmission Housing
    G04062781Courtesy of © TOYOTA, LICENSE AGREEMENT TMS1002
  7. REMOVE TRANSMISSION CASE ADAPTER SUBASSEMBLY 
    1. Remove the 8 bolts.
    2. Remove the transmission case adapter assembly.

      HINT:

      Use a brass bar and a hammer to remove the extension housing assembly.

    3. Remove the gasket from the transmission case adapter assembly.
    Fig 6: Identifying Transmission Case Adapter Subassembly
    G04062782Courtesy of © TOYOTA, LICENSE AGREEMENT TMS1002
  8. REMOVE TRANSMISSION CASE ADAPTOR OIL SEAL 
    1. Using a screwdriver, pry out the oil seal.
    Fig 7: Identifying Transmission Case Adaptor Oil Seal
    G04062783Courtesy of © TOYOTA, LICENSE AGREEMENT TMS1002
  9. FIX AUTOMATIC TRANSMISSION CASE SUBASSEMBLY 
    1. Install the transmission case on the overhaul attachment.
    Fig 8: Identifying Transmission Case On Overhaul Attachment
    G04062784Courtesy of © TOYOTA, LICENSE AGREEMENT TMS1002
  10. REMOVE AUTOMATIC TRANSMISSION OIL PAN SUB-ASSEMBLY 
    NOTE: Do not turn the transmission over as this will contaminate the valve body with foreign matter on the bottom of the pan.
    1. Remove the drain plug and the 20 bolts.
  11. INSPECT AUTOMATIC TRANSMISSION OIL PAN SUB-ASSEMBLY (See  INSPECTION   ) 
  12. REMOVE VALVE BODY OIL STRAINER ASSEMBLY 
    1. Turn over the transmission.
    2. Remove the 4 bolts holding the valve body oil strainer assembly to the valve body.
    3. Remove the O-ring from the valve body oil strainer assembly.
    Fig 9: Identifying Valve Body Oil Strainer Assembly
    G04062785Courtesy of © TOYOTA, LICENSE AGREEMENT TMS1002
  13. REMOVE TRANSMISSION WIRE 
    1. Remove the ATF temperature sensor.
    2. Remove the bolt and clamp.
    3. Disconnect the 7 connectors from the shift solenoid valves.
      Fig 10: Disconnecting Connectors From Shift Solenoid Valves
      G04062786Courtesy of © TOYOTA, LICENSE AGREEMENT TMS1002
    4. Remove the bolt from the case.
    5. Pull the transmission wire out of the transmission case.
    6. Remove the O-ring from the transmission wire.
    Fig 11: Removing O-Ring From Transmission Wire
    G04062787Courtesy of © TOYOTA, LICENSE AGREEMENT TMS1002
  14. REMOVE TRANSMISSION VALVE BODY ASSEMBLY 
    1. Remove the 19 bolts.
    2. Remove the valve body assembly.
    Fig 12: Identifying Bolts
    G04062788Courtesy of © TOYOTA, LICENSE AGREEMENT TMS1002
  15. REMOVE TRANSAXLE CASE GASKET 
    1. Remove the 3 transaxle case gaskets.
    Fig 13: Identifying Transaxle Case Gaskets
    G04062789Courtesy of © TOYOTA, LICENSE AGREEMENT TMS1002
  16. REMOVE BRAKE DRUM GASKET 
    1. Remove the 3 brake drum gaskets.
    Fig 14: Identifying Brake Drum Gaskets
    G04062790Courtesy of © TOYOTA, LICENSE AGREEMENT TMS1002
  17. REMOVE CHECK BALL BODY 
    1. Remove the check ball body and spring.
    Fig 15: Identifying Check Ball Body
    G04062791Courtesy of © TOYOTA, LICENSE AGREEMENT TMS1002
  18. REMOVE C-2 ACCUMULATOR PISTON 
    1. Applying compressed air to the oil hole, and remove the C-2 accumulator piston and spring.
    2. Remove the 2 O-rings from the piston.
      NOTE: Be careful as the C-3 and B-3 accumulator piston may jump out.
      Fig 16: Identifying C-2 Accumulator Piston
      G04062792Courtesy of © TOYOTA, LICENSE AGREEMENT TMS1002
  19. REMOVE B-3 ACCUMULATOR PISTON 
    1. Applying compressed air to the oil hole, and remove the B-3 accumulator piston and spring.
    2. Remove the 2 O-rings from the piston.
      NOTE: Be careful as the C-3 accumulator piston may jump out.
    Fig 17: Identifying B-3 Accumulator Piston
    G04062793Courtesy of © TOYOTA, LICENSE AGREEMENT TMS1002
  20. REMOVE C-3 ACCUMULATOR PISTON 
    1. Applying compressed air to the oil hole, and remove the C-3 accumulator piston and spring.
    2. Remove the 2 O-rings from the piston.
    Fig 18: Identifying C-3 Accumulator Piston
    G04062794Courtesy of © TOYOTA, LICENSE AGREEMENT TMS1002
  21. REMOVE C-1 ACCUMULATOR VALVE 
    1. Remove the C-1 accumulator valve and 2 springs.
    Fig 19: Identifying C-1 Accumulator Valve
    G04062795Courtesy of © TOYOTA, LICENSE AGREEMENT TMS1002
  22. REMOVE PARKING LOCK PAWL BRACKET 
    1. Remove the 3 bolts and parking lock pawl bracket.
    Fig 20: Identifying Parking Lock Pawl Bracket
    G04062796Courtesy of © TOYOTA, LICENSE AGREEMENT TMS1002
  23. REMOVE PARKING LOCK ROD SUB-ASSEMBLY 
    1. Disconnect the parking lock rod from the manual valve lever.
    Fig 21: Identifying Parking Lock Rod Sub-Assembly
    G04062797Courtesy of © TOYOTA, LICENSE AGREEMENT TMS1002
  24. REMOVE PARKING LOCK PAWL SHAFT 
    1. Pull out the parking lock pawl shaft from the front side, and then remove the lock pawl and spring.
    2. Remove the E-ring from the shaft.
    Fig 22: Identifying Parking Lock Pawl Shaft
    G04062798Courtesy of © TOYOTA, LICENSE AGREEMENT TMS1002
  25. REMOVE MANUAL VALVE LEVER SUB-ASSEMBLY 
    1. Using a hammer and screwdriver, cut off the spacer and remove it from the shaft.
      Fig 23: Cutting Off Spacer
      G04062799Courtesy of © TOYOTA, LICENSE AGREEMENT TMS1002
    2. Using a pin punch and hammer, tap out the spring pin.

      HINT:

      Slowly drive out the spring pin so that it does not fall into the transmission case.

    3. Pull the manual valve lever shaft out through the case, and remove the manual valve lever.
    Fig 24: Tapping Out Spring Pin
    G04062800Courtesy of © TOYOTA, LICENSE AGREEMENT TMS1002
  26. REMOVE MANUAL VALVE LEVER SHAFT OIL SEAL 
    1. Using a screwdriver, pry out the 2 oil seals.
    Fig 25: Removing Manual Valve Lever Shaft Oil Seal
    G04062801Courtesy of © TOYOTA, LICENSE AGREEMENT TMS1002
  27. REMOVE OIL PUMP ASSEMBLY 
    1. Remove the 10 bolts holding the oil pump from the transmission case.
      Fig 26: Identifying Oil Pump Assembly
      G04062802Courtesy of © TOYOTA, LICENSE AGREEMENT TMS1002
    2. Using SST, remove the oil pump.

      SST 09350-30020 (09350-07020) 

      Fig 27: Identifying Oil Pump
      G04062803Courtesy of © TOYOTA, LICENSE AGREEMENT TMS1002
    3. Remove the No. 1 thrust bearing race from the front oil pump.
    Fig 28: Identifying No. 1 Thrust Bearing Race And Front Oil Pump
    G04062804Courtesy of © TOYOTA, LICENSE AGREEMENT TMS1002
  28. REMOVE CLUTCH DRUM AND INPUT SHAFT ASSEMBLY 
    1. Remove the clutch drum and input shaft drum assembly from the transmission case.
      Fig 29: Removing Clutch Drum And Input Shaft Drum Assembly From Transmission Case
      G04062805Courtesy of © TOYOTA, LICENSE AGREEMENT TMS1002
    2. Remove the clutch drum thrust washer and thrust needle roller bearing.
  29. INSPECT NO. 2 1-WAY CLUTCH ASSEMBLY (See  INSPECTION   ) 
    Fig 30: Removing Clutch Drum Thrust Washer And Thrust Needle Roller Bearing
    G04062806Courtesy of © TOYOTA, LICENSE AGREEMENT TMS1002
  30. REMOVE NO. 2 1-WAY CLUTCH ASSEMBLY 
    1. Remove the No. 2 1-way clutch assembly and No. 2 clutch drum thrust washer from the clutch drum and input shaft assembly.
    Fig 31: Identifying No 2 One-Way Clutch Assembly
    G04062807Courtesy of © TOYOTA, LICENSE AGREEMENT TMS1002
  31. REMOVE NO. 3 BRAKE SNAP RING 
    1. Using a screwdriver, remove the No. 3 brake snap ring from the case.
    Fig 32: Identifying No. 3 Brake Snap Ring
    G04062808Courtesy of © TOYOTA, LICENSE AGREEMENT TMS1002
  32. REMOVE NO. 3 BRAKE DISC 
    1. Remove the flange, cushion plate, 4 discs and 4 plates from the case.
  33. INSPECT NO. 3 BRAKE DISC (See  INSPECTION   ) 
    Fig 33: Identifying No. 3 Brake Disc
    G04062809Courtesy of © TOYOTA, LICENSE AGREEMENT TMS1002
  34. REMOVE 2ND BRAKE PISTON HOLE SNAP RING 
    1. Using SST, remove the snap ring.

    SST 09350-30020 (09350-07060) 

    Fig 34: Identifying 2Nd Brake Piston Hole Snap Ring
    G04062810Courtesy of © TOYOTA, LICENSE AGREEMENT TMS1002
  35. REMOVE 1-WAY CLUTCH ASSEMBLY 
    1. Remove the 1-way clutch assembly and No. 1 planetary carrier thrust washer from the case.
    Fig 35: Identifying 1-Way Clutch Assembly
    G04062811Courtesy of © TOYOTA, LICENSE AGREEMENT TMS1002
  36. REMOVE 2ND BRAKE CYLINDER 
    1. Remove the 2nd brake cylinder from the case.
    Fig 36: Identifying 2Nd Brake Cylinder
    G04062812Courtesy of © TOYOTA, LICENSE AGREEMENT TMS1002
  37. REMOVE 2ND BRAKE PISTON 
    1. Using SST, a press and screwdriver, remove the snap ring.

      SST 09351-40010 

      Fig 37: Identifying Snap Ring
      G04062813Courtesy of © TOYOTA, LICENSE AGREEMENT TMS1002
    2. Hold the 2nd brake piston and apply compressed air (392 kPa, 4.0 kgf/cm2 , 57 psi) to the brake cylinder to remove the 2nd brake piston.
      Fig 38: Identifying 2Nd Brake Piston
      G04062814Courtesy of © TOYOTA, LICENSE AGREEMENT TMS1002
    3. Remove the 2 O-rings from the 2nd brake piston.
  38. INSPECT NO. 3 BRAKE PISTON RETURN SPRING SUB-ASSEMBLY (See  INSPECTION   ) 
  39. REMOVE FRONT PLANETARY GEAR ASSEMBLY 
  40. INSPECT FRONT PLANETARY GEAR ASSEMBLY (See  INSPECTION   ) 
  41. INSPECT 1-WAY CLUTCH ASSEMBLY (See  INSPECTION   ) 
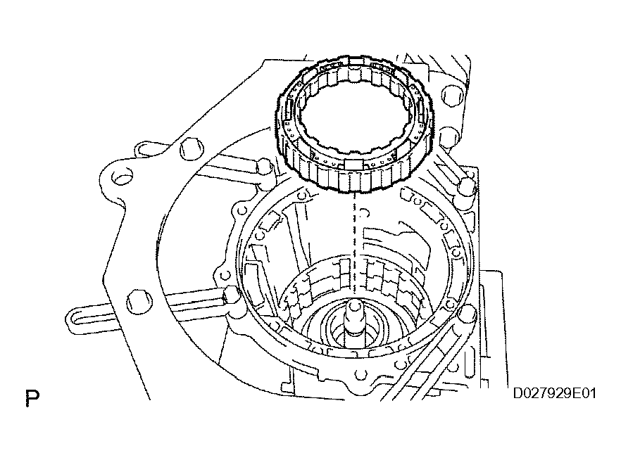
  42. REMOVE FRONT PLANETARY RING GEAR 
    Fig 39: Identifying Front Planetary Ring Gear
    G04062815Courtesy of © TOYOTA, LICENSE AGREEMENT TMS1002
    1. Remove the front planetary ring gear and bearing from the transmission case.
    Fig 40: Removing Front Planetary Ring Gear And Bearing From Transmission Case
    G04062816Courtesy of © TOYOTA, LICENSE AGREEMENT TMS1002
  43. REMOVE CENTER PLANETARY RING GEAR 
    1. Using a screwdriver, remove the snap ring.
      Fig 41: Identifying Snap Ring
      G04062817Courtesy of © TOYOTA, LICENSE AGREEMENT TMS1002
    2. Remove the center planetary ring gear and front planetary ring gear flange from the front planetary ring gear.
    Fig 42: Identifying Center Planetary Ring Gear
    G04062818Courtesy of © TOYOTA, LICENSE AGREEMENT TMS1002
  44. REMOVE NO. 1 BRAKE DISC 
    1. Remove the flange, 3 discs and 3 plates from the case.
    Fig 43: Identifying No. 1 Brake Disc
    G04062819Courtesy of © TOYOTA, LICENSE AGREEMENT TMS1002
  45. INSPECT NO. 1 BRAKE DISC (See  INSPECTION   ) 
  46. REMOVE BRAKE PISTON RETURN SPRING SNAP RING 
    1. Using a screwdriver, remove the brake piston return spring snap ring from the case.
    Fig 44: Identifying Brake Piston Return Spring Snap Ring
    G04062820Courtesy of © TOYOTA, LICENSE AGREEMENT TMS1002
  47. REMOVE BRAKE PISTON RETURN SPRING SUBASSEMBLY 
    1. Remove the brake piston return spring and No. 1 brake piston with the No. 1 brake cylinder from the transmission case.
    Fig 45: Identifying Brake Piston Return Spring Subassembly
    G04062821Courtesy of © TOYOTA, LICENSE AGREEMENT TMS1002
  48. INSPECT BRAKE PISTON RETURN SPRING SUBASSEMBLY (See  INSPECTION   ) 
  49. REMOVE NO. 1 BRAKE PISTON 
    1. Hold the No. 1 brake piston and apply compressed air (392 kPa, 4 kgf/cm2 , 57 psi) to the transmission case to remove the No. 1 brake piston.

      HINT:

      If the piston does not pop out with compressed air, lift the piston out with needle-nose pliers.

    2. Remove the 2 O-rings from the No. 1 brake piston.
    Fig 46: Identifying No. 1 Brake Piston
    G04062822Courtesy of © TOYOTA, LICENSE AGREEMENT TMS1002
  50. REMOVE NO. 2 BRAKE DISC 
    1. Using a screwdriver, remove the snap ring from the case.
      Fig 47: Identifying No. 2 Brake Disc
      G04062823Courtesy of © TOYOTA, LICENSE AGREEMENT TMS1002
    2. Remove the flange, brake piston return spring, 3 discs and 3 plates from the case.
  51. INSPECT NO. 2 BRAKE DISC (See  INSPECTION   ) 
  52. INSPECT NO. 2 BRAKE PISTON RETURN SPRING SUB-ASSEMBLY (See  INSPECTION   ) 
    Fig 48: Removing Flange, Brake Piston Return Spring, Discs And Plates From Case
    G04062824Courtesy of © TOYOTA, LICENSE AGREEMENT TMS1002
  53. REMOVE NO. 2 BRAKE PISTON 
    1. Hold the No. 2 brake piston and apply compressed air (392 kPa, 4 kgf/cm2 , 57 psi) to the transmission case to remove the No. 2 brake piston.

      HINT:

      If the piston does not pop out with compressed air, lift the piston out with needle-nose pliers.

    2. Remove the 2 O-rings from the No. 2 brake piston.
    Fig 49: Identifying No. 2 Brake Piston
    G04062825Courtesy of © TOYOTA, LICENSE AGREEMENT TMS1002
  54. REMOVE CENTER PLANETARY GEAR ASSEMBLY 
    1. Remove the center planetary gear assembly, planetary sun gear and No. 4 thrust bearing race from the case.
    Fig 50: Identifying Center Planetary Gear Assembly
    G04062826Courtesy of © TOYOTA, LICENSE AGREEMENT TMS1002
  55. INSPECT CENTER PLANETARY GEAR ASSEMBLY (See  INSPECTION   ) 
    Fig 51: Inspecting Center Planetary Gear Assembly
    G04062827Courtesy of © TOYOTA, LICENSE AGREEMENT TMS1002
  56. REMOVE INTERMEDIATE SHAFT 
    1. Using a screwdriver, remove the snap ring from the case.
      Fig 52: Removing Snap Ring From Case
      G04062828Courtesy of © TOYOTA, LICENSE AGREEMENT TMS1002
    2. Remove the intermediate shaft with the No. 3 1-way clutch assembly from the case.
  57. INSPECT NO. 3 1-WAY CLUTCH ASSEMBLY (See  INSPECTION   ) 
  58. REMOVE NO. 3 1-WAY CLUTCH ASSEMBLY 
    1. Remove the No. 3 1-way clutch assembly and 1- way clutch inner race from the intermediate shaft.
    Fig 53: Identifying No. 3 1-Way Clutch Assembly
    G04062829Courtesy of © TOYOTA, LICENSE AGREEMENT TMS1002
  59. REMOVE REAR PLANETARY RING GEAR FLANGE SUB-ASSEMBLY 
    1. Remove the No. 8 thrust bearing race, thrust needle roller bearing, No. 7 thrust bearing race and planetary ring gear flange from the intermediate shaft.
  60. INSPECT REAR PLANETARY RING GEAR FLANGE SUB-ASSEMBLY (See  INSPECTION   ) 
  61. INSPECT INTERMEDIATE SHAFT (See  INSPECTION   ) 
  62. REMOVE BRAKE PLATE STOPPER SPRING 
    1. Remove the brake plate stopper spring from the case.
    Fig 54: Removing No. 8 Thrust Bearing Race, Thrust Needle Roller Bearing, No. 7 Thrust Bearing Race
    G04062830Courtesy of © TOYOTA, LICENSE AGREEMENT TMS1002
    Fig 55: Removing Brake Plate Stopper Spring From Case
    G04062831Courtesy of © TOYOTA, LICENSE AGREEMENT TMS1002
  63. REMOVE NO. 4 BRAKE DISC 
    1. Remove the 7 plates, 8 discs and 2 flanges from the case.
  64. INSPECT NO. 4 BRAKE DISC (See  INSPECTION   ) 
  65. REMOVE REAR PLANETARY GEAR ASSEMBLY 
    1. Remove the rear planetary gear assembly from the case.
      Fig 56: Identifying No. 4 Brake Disc
      G04062832Courtesy of © TOYOTA, LICENSE AGREEMENT TMS1002
      Fig 57: Removing Rear Planetary Gear Assembly From Case
      G04062833Courtesy of © TOYOTA, LICENSE AGREEMENT TMS1002
    2. Remove the No. 9 thrust bearing race and thrust needle roller bearing from the rear planetary gear assembly.
      Fig 58: Removing No. 9 Thrust Bearing Race And Thrust Needle Roller Bearing From Rear Planetary Gear Assembly
      G04062834Courtesy of © TOYOTA, LICENSE AGREEMENT TMS1002
    3. Remove the thrust needle roller bearing from the case.
  66. INSPECT REAR PLANETARY GEAR ASSEMBLY (See  INSPECTION   ) 
    Fig 59: Removing Thrust Needle Roller Bearing From Case
    G04062835Courtesy of © TOYOTA, LICENSE AGREEMENT TMS1002
  67. REMOVE 1ST AND REVERSE BRAKE RETURN SPRING SUB-ASSEMBLY 
    1. Place SST on the spring retainer and compress the brake return spring.

      SST 09350-30020 (09350-07050) 

    2. Using SST, remove the snap ring and brake return spring.

      SST 09350-30020 (09350-07070) 

    Fig 60: Identifying Snap Ring And Brake Return Spring
    G04062836Courtesy of © TOYOTA, LICENSE AGREEMENT TMS1002
  68. INSPECT 1ST AND REVERSE BRAKE RETURN SPRING SUB-ASSEMBLY (See  INSPECTION   ) 
  69. REMOVE 1ST AND REVERSE BRAKE PISTON 
    1. Hold the No. 2 brake piston and apply compressed air (392 kPa, 4 kgf/cm2 , 57 psi) to the transmission case to remove the No. 2 brake piston.

      HINT:

      If the piston does not pop out with compressed air, lift the piston out with needle-nose pliers.

    2. Remove the O-ring from the No. 2 brake piston.
    Fig 61: Removing O-Ring From No. 2 Brake Piston
    G04062837Courtesy of © TOYOTA, LICENSE AGREEMENT TMS1002
  70. REMOVE BRAKE REACTION SLEEVE 
    1. Using SST, remove the reaction sleeve.

      SST 09350-30020 (09350-07080) 

    2. Remove the O-ring from the reaction sleeve.
      Fig 62: Identifying Reaction Sleeve
      G04062838Courtesy of © TOYOTA, LICENSE AGREEMENT TMS1002
  71. REMOVE NO. 4 BRAKE PISTON 
    1. Using SST, remove the No. 4 brake piston.

      SST 09350-30020 (09350-07090) 

    2. Remove the 2 O-rings from the No. 4 piston.
    Fig 63: Identifying No. 4 Brake Piston
    G04062839Courtesy of © TOYOTA, LICENSE AGREEMENT TMS1002