lemon-mirror:
Home >> Lexus >> 2006 >> LX 470 >> Repair and Diagnosis >> Transmission >> Automatic Trans >> Automatic Transmission >> Shift Lock System >> On-Vehicle Inspection

On-Vehicle Inspection

  1. CHECK SHIFT LOCK CONTROL ECU 
    1. Measure the voltage of the connector.

      HINT:

      Do not disconnect the ECU connector.

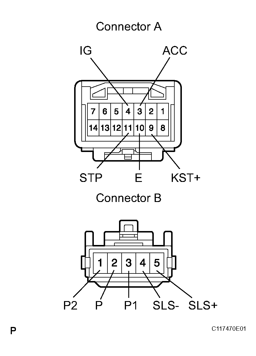
      Fig 1: Identifying Shift Lock Control ECU Terminals
      G04062691Courtesy of © TOYOTA, LICENSE AGREEMENT TMS1002

    Standard Voltage 

    TESTER CONNECTION SPECIFIED CONDITION CHART

    Tester Connection Condition Specified Condition
    Connector A
    3 (ACC) - 10 (E) Ignition switch ACC 10 to 14 V
    4 (IG) - 10 (E) Ignition switch ON 10 to 14 V
    10 (E) - 11 (STP) Brake pedal depressed 10 to 14 V
    9 (KLS+) - 10 (E) Ignition switch ACC and shift lever on P Below 1 V
    Ignition switch ACC and shift lever not on P Within approx. 1 second 7.5 to 10.5 V
    Ignition switch ACC and shift lever not on P After approx. 1 second 6 to 9 V
    Connector B
    5 (SLS+) - 4 (SLS-) Ignition switch ACC and shift lever not on P Below 1 V
    Ignition switch ON, brake pedal depressed and shift lever on P 8.5 to 13.5 V
    Ignition switch ON, brake pedal depressed and shift lever not on P Below 1 V
    3 (P1) - 2 (P) Ignition switch ON, brake pedal depressed and shift lever on P Below 1 V
    Ignition switch ON, brake pedal depressed and shift lever not on P 9 to 13.5 V
    2 (P) - 1 (P2) Ignition switch ACC and shift lever on P 9 to 13.5 V
    Ignition switch ACC and shift lever not on P Below 1 V