lemon-mirror:
Home >> Lexus >> 2006 >> LX 470 >> Repair and Diagnosis >> Transmission >> Automatic Trans >> Automatic Transmission >> Valve Body >> Reassembly

Valve Body: Reassembly

  1. INSTALL SHIFT SOLENOID VALVE S2 
    1. Install the O-ring to the shift solenoid valve S2.
    2. Install the shift solenoid valve S2 with the bolt.

      Torque: 10 N*m (102 kgf*cm, 7 ft.*lbf) 

    Fig 1: Identifying Shift Solenoid Valve S2
    G04063060Courtesy of © TOYOTA, LICENSE AGREEMENT TMS1002
  2. INSTALL SHIFT SOLENOID VALVE S1 
    1. Install the O-ring to the shift solenoid valve S1.
    2. Install the shift solenoid valve S1 with the bolt.

      Torque: 6.4 N*m (65 kgf*cm, 57 in.*lbf) 

    Fig 2: Identifying Shift Solenoid Valve S2
    G04063061Courtesy of © TOYOTA, LICENSE AGREEMENT TMS1002
    Fig 3: Identifying Shift Solenoid Valve S1
    G04063062Courtesy of © TOYOTA, LICENSE AGREEMENT TMS1002
  3. INSTALL SHIFT SOLENOID VALVE SL1 
    Fig 4: Identifying Shift Solenoid Valve Sl1
    G04063063Courtesy of © TOYOTA, LICENSE AGREEMENT TMS1002
  4. INSTALL SHIFT SOLENOID VALVE SLT 
    1. Install the shift solenoid valve SLT.
    2. Install the, 2 straight pins and solenoid lock plate with the bolt.

      Torque: 6.4 N*m (65 kgf*cm, 57 in.*lbf) 

    Fig 5: Identifying Shift Solenoid Valve SLT
    G04063064Courtesy of © TOYOTA, LICENSE AGREEMENT TMS1002
  5. INSTALL SHIFT SOLENOID VALVE SL2 
    1. Install the shift solenoid valve SL2.
    Fig 6: Identifying Shift Solenoid Valve SL2
    G04063065Courtesy of © TOYOTA, LICENSE AGREEMENT TMS1002
  6. INSTALL SHIFT SOLENOID VALVE SLU 
    1. Install the shift solenoid valve SLU.
    2. Install the bolt, 2 straight pins and solenoid lock plate.

      Torque: 6.4 N*m (65 kgf*cm, 57 in.*lbf) 

    Fig 7: Identifying Shift Solenoid Valve SLU
    G04063066Courtesy of © TOYOTA, LICENSE AGREEMENT TMS1002
  7. INSTALL SHIFT SOLENOID VALVE SR 
    1. Install the and shift solenoid valve SR with the 2 bolts.

      Torque: 6.4 N*m (65 kgf*cm, 57 in.*lbf) 

    Fig 8: Identifying Shift Solenoid Valve SR
    G04063067Courtesy of © TOYOTA, LICENSE AGREEMENT TMS1002
  8. INSTALL TRANSMISSION VALVE BODY ASSEMBLY 
    1. Align the groove of the manual valve with the pin of the lever.
      Fig 9: Identifying Transmission Valve Body Assembly
      G04063068Courtesy of © TOYOTA, LICENSE AGREEMENT TMS1002
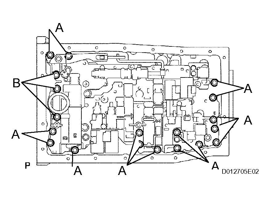
    2. Install the 19 bolts.

      Torque: 11 N*m (110 kgf*cm, 8 ft.*lbf) 

      HINT:

      Each bolt length is indicated below.

      Standard bolt length: 

      25 mm (0.98 in.) for bolt A 

      36 mm (1.42 in.) for bolt B 

      Fig 10: Identifying Bolts
      G04063069Courtesy of © TOYOTA, LICENSE AGREEMENT TMS1002