lemon-mirror:
Home >> Lexus >> 2006 >> RX 330 FWD >> Repair and Diagnosis >> Body & Frame >> Windows >> Windshield / WINDOWGLASS >> Power Window Control System >> System Diagram

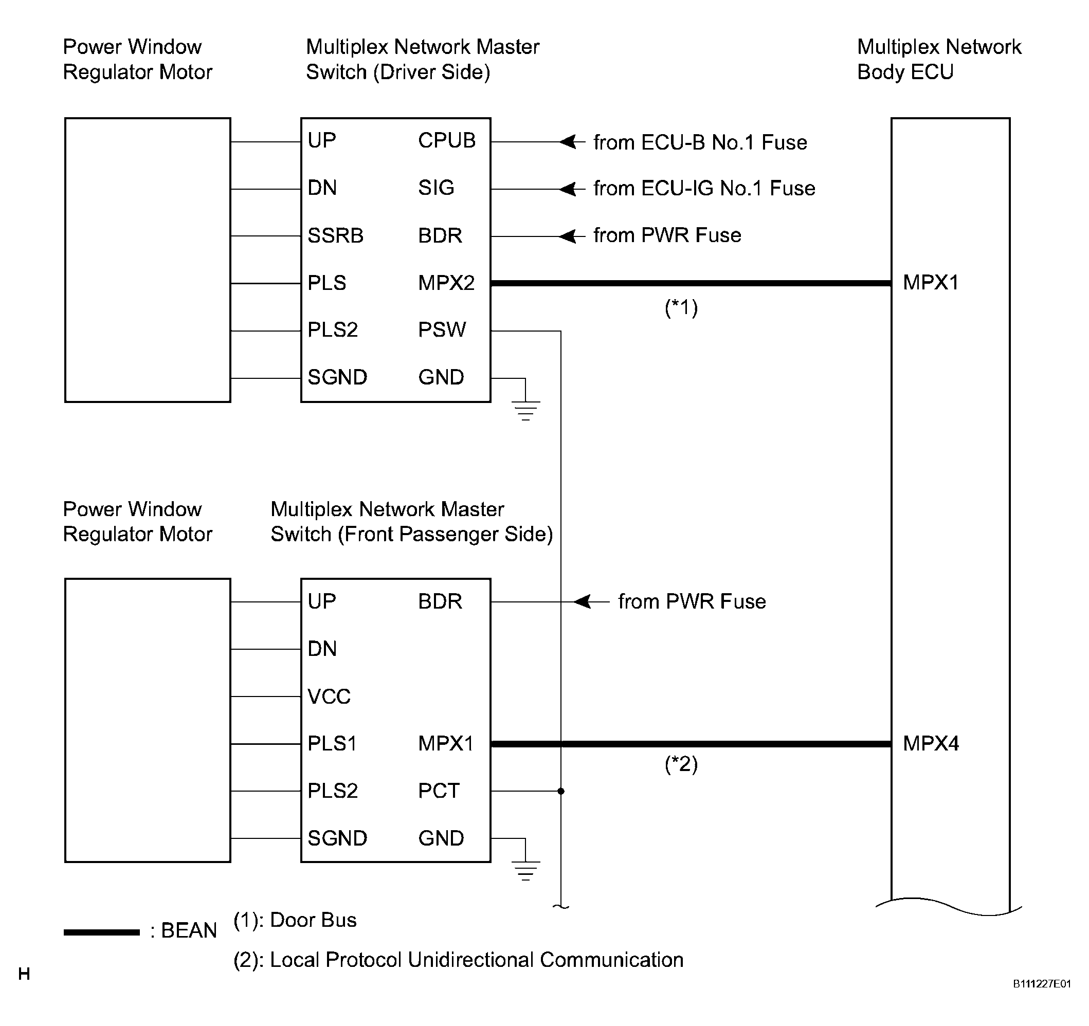
System Diagram

Fig 1: Power Window Control System Diagram (1 Of 2)
G04093165Courtesy of © TOYOTA, LICENSE AGREEMENT TMS1002
Fig 2: Power Window Control System Diagram (2 Of 2)
G04093166Courtesy of © TOYOTA, LICENSE AGREEMENT TMS1002