lemon-mirror:
Home >> Lexus >> 2006 >> RX 330 FWD >> Repair and Diagnosis >> Brakes >> Brakes Control Systems >> Brake Control >> Vehicle Stability Control System >> Test Mode Procedure

Test Mode Procedure

  1. WARNING LIGHT AND INDICATOR LIGHT BULB CHECK 
    1. Check the warning lights.
      1. Release parking brake pedal.
      2. When the ignition switch is turned to the ON position, check that the ABS warning light, BRAKE warning light, VSC warning light, TRAC OFF indicator light (2WD) and SLIP indicator light stay on for approx. 3 seconds.

    HINT:

    • When the parking brake is applied or the level of brake fluid is low, the BRAKE warning light comes on.
    • If the ECU has any stored DTCs, the ABS warning light, VSC warning light and TRAC OFF indicator light (2WD) comes on.
    • If the indicator does not come on, inspect it the bulb is blown out, and also the wire harness between the skid control ECU and the combination meter.
    • If the indicator remains on, proceed to troubleshooting for the light circuit below.
    TROUBLE AREA REFERENCE

    Trouble Area See procedure
    ABS warning light circuit ABS Warning Light Remains ON 
    VSC warning light circuit VSC Warning Light Remains ON 
    BRAKE warning light circuit Brake Warning Light Remains ON 
    TRAC OFF indicator light circuit (2WD) TRAC OFF Indicator Light, TRAC OFF Switch Circuit 
    Slip indicator light circuit SLIP INDICATOR LIGHT CIRCUIT 
    Fig 1: Identifying Warning Light And Indicator Light Bulb
    G04090540Courtesy of TOYOTA MOTOR SALES, U.S.A., INC.
  2. SENSOR SIGNAL CHECK BY TEST MODE (SIGNAL CHECK) (WHEN USING INTELLIGENT TESTER): 
    1. When having replaced the skid control ECU and / or yaw rate and deceleration sensor, perform zero point calibration of the yaw rate and deceleration sensor.

      HINT:

      • If the ignition switch is turned from the ON position to the ACC or off during test mode (signal check), DTCs of the signal check function will be erased.
      • During test mode (signal check), the skid control ECU records all DTCs of the signal check function. By performing the test mode (signal check), the codes are erased if normality is confirmed. The remaining codes are the codes where an abnormality was found.
    2. Procedures for test mode.
      1. Turn the ignition switch off.
      2. Connect the intelligent tester to the DLC3.
      3. Check that the steering wheel is in the straight ahead position and move the shift lever to the P position.
      4. Turn the ignition switch on.
        Fig 2: Identifying Blinking Pattern
        G04090541Courtesy of TOYOTA MOTOR SALES, U.S.A., INC.
      5. Set the intelligent tester to test mode (select "SIGNAL CHECK").
        Fig 3: Consult-II Display - Signal Check
        G04090542Courtesy of TOYOTA MOTOR SALES, U.S.A., INC.

        HINT:

        Refer to the intelligent tester operator's manual for further details.

      6. Check that the ABS warning light and VSC warning light blink and "CHECK VSC SYSTEM" is displayed on the multi information display (test mode).

        HINT:

        If the ABS warning light and VSC warning light do not blink, inspect the ABS warning light circuit and / or VSC warning light circuit.

    TROUBLE AREA REFERENCE

    Trouble Area See procedure
    ABS Warning Light ABS WARNING LIGHT 
    VSC Warning Light VSC WARNING LIGHT 
    Fig 4: Identifying Blinking Pattern
    G04090543Courtesy of TOYOTA MOTOR SALES, U.S.A., INC.
  3. MASTER CYLINDER PRESSURE SENSOR CHECK (WHEN USING INTELLIGENT TESTER): 
    1. Leave the vehicle in a stationary condition and release the brake pedal for 1 second or more, and quickly depress the brake pedal with a force of 98 N (10 kgf, 22 lbf) or more for 1 second or more.
    2. Check the ABS warning light stays on for 3 seconds.

      HINT:

      • Ensure that the ABS warning light comes on.
      • While the ABS warning light stays on, continue to depress the brake pedal with a force of 98 N (10 kgf, 22 lbf) or more.
      • The ABS warning light comes on for 3 seconds every time brake pedal operation above is performed.
  4. SPEED SENSOR CHECK (WHEN USING INTELLIGENT TESTER): 
    1. Check the backward signal.
      1. Drive the vehicle in reverse for more than 1 second at 2 mph (3 km/h) or higher.

        HINT:

        Drive the vehicle in reverse and check the speed sensor signal. Note that the signal check cannot be completed if the vehicle speed is 28 mph (45 km/h) or more.

    2. Check the forward signal.
      1. Drive the vehicle straight forward. Drive the vehicle at a speed of 28 mph (45 km/h) or higher for several seconds and check that the ABS warning light goes off.

        HINT:

        The signal check may not be completed if the vehicle has its wheels spun or the steering wheel turned during this check.

    3. Stop the vehicle.
  5. YAW RATE SENSOR CHECK (WHEN USING INTELLIGENT TESTER): 
    1. Check the output of the yaw rate sensor.
      1. Move the shift lever to the D position, drive the vehicle at a speed of approximately 3 mph (5 km/h), and turn the steering wheel either to the left or right 90° or more until the vehicle makes a 180° turn.
      2. Stop the vehicle and move the shift lever to the P position. Check that the skid control buzzer sounds for 3 seconds.
        Fig 5: Identifying Blinking Pattern
        G04090544Courtesy of TOYOTA MOTOR SALES, U.S.A., INC.

        HINT:

        • If the skid control buzzer sounds, the signal check is completed normally.
        • If the skid control buzzer does not sound, check the skid control buzzer circuit, then perform the signal check again.
        • If the skid control buzzer does not sound yet, there is a malfunction in the VSC sensor, so check the DTC.
        • Make 180° turn. At the end of the turn, the direction of the vehicle should be within 180° +- 5° of its start position.
        • Do not spin the wheels.
  6. SENSOR SIGNAL CHECK BY TEST MODE (SIGNAL CHECK) (WHEN USING SST CHECK WIRE): 
    1. When having replaced the skid control ECU and / or yaw rate and deceleration sensor, perform zero point calibration of the yaw rate and deceleration sensor.

      HINT:

      • If the ignition switch is turned from the ON position to the ACC or off during test mode (signal check), DTCs of the signal check function will be erased.
      • During test mode (signal check), the skid control ECU records all DTCs of the signal check function. By performing the test mode (signal check), the codes are erased if normality is confirmed. The remaining codes are the codes where an abnormality was found.
    2. Procedures for test mode.
      1. Turn the ignition switch off.
      2. Check that the steering wheel is in the straight ahead position and move the shift lever to the P position.
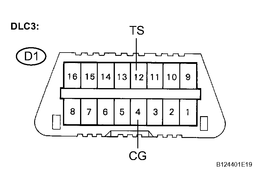
      3. Using STT, connect terminals TS and CG of the DLC3.

        SST 09843-18040 

      4. Turn the ignition switch on.
        Fig 6: Identifying DLC3 Connector Terminals
        G04090545Courtesy of TOYOTA MOTOR SALES, U.S.A., INC.
      5. Check that the ABS warning light and VSC warning light blink (test mode).

      HINT:

      If the ABS warning light and VSC warning light do not blink, inspect the TS and CG terminal circuit, ABS warning light circuit and / or warning light circuit.

    TROUBLE AREA REFERENCE

    Trouble Area See procedure
    TS And CG Terminal Circuit TS AND CG TERMINAL CIRCUIT 
    ABS warning light circuit ABS WARNING LIGHT CIRCUIT 
    VSC Warning Light Circuit VSC WARNING LIGHT CIRCUIT 
    Fig 7: Identifying Blinking Pattern
    G04090546Courtesy of TOYOTA MOTOR SALES, U.S.A., INC.
  7. MASTER CYLINDER PRESSURE SENSOR CHECK (WHEN USING SST CHECK WIRE): 
    1. Leave the vehicle in a stationary condition and release the brake pedal for 1 second or more, and quickly depress the brake pedal with a force of 98 N (10 kgf, 22 lbf) or more for 1 second or more.
    2. Check the ABS warning light stays on for 3 seconds.

      HINT:

      • At this time, the ABS warning light stays on for 3 seconds.
      • While the ABS warning light stays on, continue to depress the brake pedal with a force of 98N (10 kgf) or more.
      • The ABS warning light comes on for 3 seconds every time the brake pedal operation above is performed.
      • If master cylinder pressure sensor check can not be completed, do not depress the brake pedal frequently. It may further reduce negative pressure and make the sensor check difficult to complete.
      • If the negative pressure is insufficient, master cylinder pressure sensor check may not be completed. In this case, idle the engine to get enough negative pressure.
      • If the brake pedal is depressed during engine stop, negative pressure may become insufficient and the BRL may come on. (It runs the motor and performs incorrect control.)
  8. SPEED SENSOR CHECK (WHEN USING SST CHECK WIRE): 
    1. Check the speed sensor signal.
      1. Drive the vehicle straight forward. Drive the vehicle at a speed of 28 mph (45 km/h) or higher for several seconds and check that the ABS warning light goes off.

      HINT:

      The signal check may not be completed if the vehicle has its wheels spun or the steering wheel turned during this check.

    2. Stop the vehicle.
      NOTE:
      • Before performing the speed sensor signal check, complete the deceleration sensor and master cylinder pressure sensor checks.
      • The speed sensor signal check may not be completed if the speed sensor signal check is started while turning the steering wheel or spinning the wheels.
      • After the ABS warning light goes off, if vehicle speed exceeds 50 mph (80 km/h), a signal check code will be stored again. Decelerate or stop the vehicle before the speed reaches 50 mph (80 km/h).
      • If the signal check has not been completed, the ABS warning light blinks while driving and the ABS system does not operate.

      HINT:

      When the signal check has been completed, the ABS warning light goes off while driving and blinks in the test mode pattern while stationary.

  9. YAW RATE SENSOR CHECK (WHEN USING SST CHECK WIRE): 
    1. Check the zero point voltage of the yaw rate sensor.
      1. Keep the vehicle in a stationary condition on a level surface for 1 second or more.
    2. Check the output of the yaw rate sensor.
      1. Move the shift lever to the D position, drive the vehicle at a speed of approximately 3 mph (5 km/h), and turn the steering wheel either to the left or right 90° or more until the vehicle makes 180° turn.
      2. Stop the vehicle and move the shift lever to the position. Check that the skid control buzzer sounds for 3 seconds.

      HINT:

      • If the skid control buzzer sounds, the signal check is completed normally.
      • If the skid control buzzer does not sound, check the skid control buzzer circuit, then perform the signal check again.
      • If the skid control buzzer does not sound yet, there is a malfunction in the yaw rate sensor, so check the DTC.
      • Make a 180° turn. At the end of the turn, the direction of the vehicle should be within 180 +- 5° of its start position.
      • Do not spin the wheels.