lemon-mirror:
Home >> Lexus >> 2006 >> RX 330 FWD >> Repair and Diagnosis >> Engine Performance >> Engine Control System (3MZ-FE) >> SFI System >> ACIS Control Circuit >> Inspection Procedure

Inspection Procedure

  1. PERFORM ACTIVE TEST BY INTELLIGENT TESTER (OPERATE VSV FOR ACIS) 
    1. Disconnect the vacuum hose.
    2. Connect the intelligent tester to the DLC3.
    3. Turn the ignition switch ON and push the intelligent tester main switch ON.
    4. Enter the following menus: DIAGNOSIS / ENHANCED OBD II / ACTIVE TEST / INTAKE CTL VSV1. Operate the VSV.
    5. Check the VSV operation when it is operated by the intelligent tester.

    Standard 

    OPERATE VSV FOR ACIS

    Tester Operation Specified Condition
    VSV is ON Air from port E flows out through port F
    VSV is OFF Air from port E flows out through the air filter
    Fig 1: Checking VSV Operation For ACIS
    G04087472Courtesy of © TOYOTA, LICENSE AGREEMENT TMS1002

    OK : GO TO STEP   4 

    NG : Go to next step 

  2. CHECK VSV FOR ACIS (OPERATION) 
    1. Check that air flows from port E to the air filter.
      Fig 2: Checking Air Flows From Port E To Air Filter
      G04087473Courtesy of © TOYOTA, LICENSE AGREEMENT TMS1002
    2. Apply battery positive voltage across the terminals.
    3. Check that air flows from port E to port F.
    4. Fig 3: Checking Air Flows From Port E To Port F
      G04087474Courtesy of © TOYOTA, LICENSE AGREEMENT TMS1002

    NG : REPLACE VSV FOR ACIS 

    OK : Go to next step 

  3. CHECK HARNESS AND CONNECTOR (VSV FOR ACIS - ECM, VSV FOR ACIS - EFI MAIN RELAY) 
    1. Check the wire harness between the VSV and the ECM.
      1. Disconnect the V1 VSV connector.
      2. Disconnect the E8 ECM connector.
      3. Measure the resistance of the wire harness side connectors.

      Standard resistance 

      VSV FOR ACIS - ECM

      Tester Connection Specified Condition
      V1-2 - E8-15 (ACIS) Below 1 Ω
      V1-2 or E8-15 (ACIS) - Body ground 10 kΩ or higher
    2. Check the wire harness between the VSV and EFI MAIN relay.
      1. Check the EFI No. 2 fuse.
        • Remove the EFI No. 2 fuse from the fusible link block.
        • Measure the resistance of the EFI No. 2 fuse.

          Standard resistance: 

          Below 1 Ω 

        • Reinstall the EFI No. 2 fuse.
      2. Disconnect the V2 VSV connector.
      3. Remove the EFI MAIN relay from the engine room R/B.
      4. Measure the resistance of the wire harness side connectors.

      Standard resistance 

      VSV FOR ACIS - EFI MAIN RELAY

      Tester Connection Specified Condition
      V1-1 - EFI MAIN relay terminal 3 Below 1 Ω
    3. Install the EFI MAIN relay.
    4. Reconnect the VSV connector and ECM connector.
    5. Fig 4: Checking Harness And Connector (VSV For ACIS - ECM, VSV For ACIS - EFI Main Relay)
      G04087475Courtesy of © TOYOTA, LICENSE AGREEMENT TMS1002

    NG : REPAIR OR REPLACE HARNESS OR CONNECTOR 

    OK : Go to next step 

  4. CHECK VACUUM HOSES (INTAKE MANIFOLD - INTAKE AIR CONTROL VALVE) 

    Check that the vacuum hoses are:

    1. Connected correctly.
    2. Are not loose or disconnected.
    3. Do not have cracks, holes or damage.

    NG : REPAIR OR REPLACE VACUUM HOSES 

    OK : Go to next step 

  5. INSPECT INTAKE AIR CONTROL VALVE 
    1. Inspect the intake air control valve. (See INTAKE AIR CONTROL SYSTEM )

    NG : REPLACE INTAKE AIR CONTROL VALVE 

    OK : REPLACE ECM 

  1. INSPECT VSV FOR ACIS (OPERATION) 
    1. Disconnect the VSV for ACIS connector.
    2. Check operation of the VSV for ACIS when battery positive voltage is applied to the terminals of the VSV for ACIS.

      Standard: 

      Battery positive voltage is not applied: 

      Air from port E flows out through the air filter. 

      Battery positive voltage is applied: 

      Air from port E flows out through port F. 

    3. Fig 5: Inspecting VSV For ACIS (Operation)
      G04087476Courtesy of © TOYOTA, LICENSE AGREEMENT TMS1002

    NG : REPLACE VSV FOR ACIS 

    OK : Go to next step 

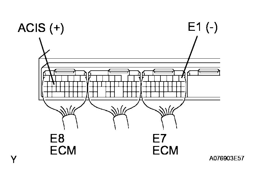
  2. INSPECT ECM (ACIS VOLTAGE) 
    1. Start the engine.
    2. Measure the voltage of the ECM connectors.

    Standard voltage 

    ECM (ACIS VOLTAGE)

    Tester Connection Condition Specified Condition
    E8-15 (ACIS) - E7-1 (E1)
    • Engine speed is 4,000 rpm or less
    • Throttle valve opening angle is 30° or more
    9 to 14 V
    Fig 6: Inspecting ECM (ACIS Voltage)
    G04087477Courtesy of © TOYOTA, LICENSE AGREEMENT TMS1002

    OK : GO TO STEP 4 

    NG : Go to next step 

  3. CHECK HARNESS AND CONNECTOR (VSV FOR ACIS - ECM, VSV FOR ACIS - EFI MAIN RELAY) 
    1. Check the wire harness between the VSV for ACIS and the ECM.
      1. Disconnect the V1 VSV for ACIS connector.
      2. Disconnect the E8 ECM connector.
      3. Measure the resistance of the wire harness side connectors.

      Standard resistance 

      VSV FOR ACIS - ECM

      Tester Connection Specified Condition
      V1-2 - E8-15 (ACIS) Below 1 Ω
      V1-2 or E8-15 (ACIS) - Body ground 10 kΩ or higher
    2. Check the wire harness between the VSV and EFI MAIN relay.
      1. Check the EFI No. 2 fuse.
        • Remove the EFI No. 2 fuse from the fusible link block.
        • Measure the resistance of the EFI No. 2 fuse.

          Standard resistance: 

          Below 1 Ω 

        • Reinstall the EFI No. 2 fuse.
      2. Disconnect the V1 VSV connector.
      3. Remove the EFI MAIN relay from the engine room R/B.
      4. Measure the resistance OF the wire harness side connectors.

      Standard resistance 

      VSV FOR ACIS - EFI MAIN RELAY

      Tester Connection Specified Condition
      V1-1 (VSV for ACIS) - EFI MAIN relay terminal 3 Below 1 Ω
      Fig 7: Checking Harness And Connector (VSV For ACIS - ECM, VSV For ACIS - EFI Main)
      G04087478Courtesy of © TOYOTA, LICENSE AGREEMENT TMS1002
    3. Install the EFI MAIN relay.
    4. Reconnect the VSV connector and ECM connector.

    NG : REPAIR OR REPLACE HARNESS OR CONNECTOR 

    OK : Go to next step 

  4. CHECK VACUUM HOSES (INTAKE MANIFOLD - INTAKE AIR CONTROL VALVE) 

    Check that the vacuum hoses are:

    • Connected correctly.
    • Are not loose or disconnected.
    • Do not have cracks, holes or damage.

    NG : REPAIR OR REPLACE VACUUM HOSES 

    OK : Go to next step 

  5. INSPECT INTAKE AIR CONTROL VALVE 
    1. Inspect the intake air control valve. (See INTAKE INTAKE AIR CONTROL SYSTEM )

      NG : REPLACE INTAKE AIR CONTROL VALVE 

      OK : REPLACE ECM