lemon-mirror:
Home >> Lexus >> 2006 >> RX 330 FWD >> Repair and Diagnosis >> Engine Performance >> Engine Control System (3MZ-FE) >> SFI System >> Air Intake Control Circuit >> Inspection Procedure

Inspection Procedure

  1. READ VALUE OF INTELLIGENT TESTER (VSV FOR AICV) 
    1. Turn the ignition switch ON and push the intelligent tester main switch ON.
    2. Enter the following menus: DIAGNOSIS / ENHANCED OBD II / ACTIVE TEST / INTAKE CTL VSV1. Operate the VSV.
    3. Check the operation of the VSV when the VSV is operated by the intelligent tester.

    Standard 

    VSV FOR AICV

    Tester Operation Specified Condition
    VSV is ON Air from port E flows out through port F
    VSV is OFF Air from port E flows out through the air filter
    Fig 1: Checking Operation Of VSV For AICV
    G04087480Courtesy of © TOYOTA, LICENSE AGREEMENT TMS1002

    OK : GO TO STEP   4 

    NG : Go to next step 

  2. CHECK VSV FOR AICV 
    1. Inspect the VSV for AICV. (See ON-VEHICLE INSPECTION )

    NG : REPLACE VSV FOR AICV 

    OK : Go to next step 

  3. CHECK HARNESS AND CONNECTOR (VSV FOR AICV - ECM, VSV FOR AICV - EFI MAIN RELAY) 
    1. Check the wire harness between the VSV and ECM.
      1. Disconnect the I1 VSV connector for AICV.
      2. Disconnect the E8 ECM connector.
      3. Measure the resistance of the wire harness side connectors.

      Standard resistance 

      VSV FOR AICV - ECM

      Tester Connection Specified Condition
      I1-1 - E8-33 (AICV) Below 1 Ω
      I1-1 or E8-33 (AICV) - Body ground 10 kΩ or higher
    2. Check the wire harness between the VSV and the EFI MAIN relay.
      1. Check the EFI No. 2 fuse.
        • Remove the EFI No. 2 fuse from the fusible link block.
        • Measure the resistance of the EFI No. 2 fuse.

          Standard resistance: 

          Below 1 Ω 

        • Reinstall the EFI No. 2 fuse.
      2. Disconnect the I1 VSV for AICV connector.
      3. Remove the EFI MAIN relay from the engine room R/B.
      4. Measure the resistance of the wire harness side connectors.

      Standard resistance 

      VSV FOR AICV - EFI MAIN RELAY

      Tester Connection Specified Condition
      I1-2 (VSV for AICV) - EFI MAIN relay terminal 3 Below 1 Ω
      Fig 2: Checking Harness And Connector (VSV For AICV - ECM, VSV For AICV - EFI Main Relay)
      G04087481Courtesy of © TOYOTA, LICENSE AGREEMENT TMS1002
    3. Install the EFI MAIN relay.
    4. Reconnect the VSV connector and ECM connector.

    NG : REPAIR OR REPLACE HARNESS OR CONNECTOR 

    OK : Go to next step 

  4. INSPECT VACUUM TANK 
    1. Inspect the vacuum tank. (See ON-VEHICLE INSPECTION )

    NG : REPLACE VACUUM TANK 

    OK : REPLACE ECM 

  1. CHECK VSV FOR AICV 

    NG : REPLACE INTAKE AIR CONTROL VALVE ASSEMBLY NO. 3 

    OK : Go to next step 

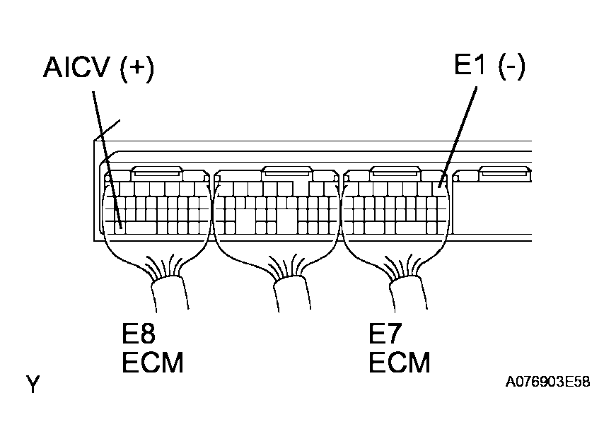
  2. INSPECT ECM 
    1. Turn the ignition switch ON.
    2. Measure the voltage of the ECM connectors.

    Standard voltage 

    VSV FOR AICV

    Tester Connection Specified Condition
    E8-33 (AICV) - E7-1 (E1) 9 to 14 V
    Fig 3: Inspecting ECM
    G04087482Courtesy of © TOYOTA, LICENSE AGREEMENT TMS1002

    NG : REPAIR OR REPLACE HARNESS OR CONNECTOR 

    OK : Go to next step 

  3. INSPECT VACUUM TANK 
    1. Inspect the vacuum tank. (See ON-VEHICLE INSPECTION )

    NG : REPLACE VACUUM TANK 

    OK : Go to next step 

  4. CHECK HARNESS AND CONNECTOR (VSV FOR AICV - ECM, VSV FOR AICV - EFI MAIN RELAY) 
  1. Check the wire harness between the VSV for AICV and ECM.
    1. Disconnect the I1 VSV for AICV connector.
    2. Disconnect the E8 ECM connector.
    3. Measure the resistance of the wire harness side connectors.

    Standard resistance 

    VSV FOR AICV - ECM

    Tester Connection Specified Condition
    I1-1 - E8-33 (AICV) Below 1 Ω
    I1-1 or E8-33 (AICV) - Body ground 10 kΩ or higher
  2. Check the wire harness between the VSV for AICV and EFI MAIN relay.
    1. Check the EFI No. 2 fuse.
      • Remove the EFI No. 2 fuse from the fusible link block.
      • Measure the resistance of the EFI No. 2 fuse.

        Standard resistance: 

        Below 1 Ω 

      • Reinstall the EFI No. 2 fuse.
    2. Disconnect the I1 VSV for AICV connector.
    3. Remove the EFI MAIN relay from the engine room R/B.
    4. Measure the resistance of the wire harness side connectors.

    Standard resistance 

    VSV FOR AICV - EFI MAIN RELAY

    Tester Connection Specified Condition
    I1-2 (VSV for AICV) - EFI MAIN relay terminal 3 Below 1 Ω
    Fig 4: Checking Harness And Connector (VSV For AICV - ECM, VSV For AICV - EFI Main Relay)
    G04087483Courtesy of © TOYOTA, LICENSE AGREEMENT TMS1002
  3. Install the EFI MAIN relay.
  4. Reconnect the VSV connector and ECM connector.

NG : REPAIR OR REPLACE HARNESS OR CONNECTOR 

OK : REPLACE ECM