lemon-mirror:
Home >> Lexus >> 2006 >> RX 330 FWD >> Repair and Diagnosis >> General Information >> Identification >> Introduction >> Identification Information >> Vehicle Identification And Serial Numbers

Vehicle Identification And Serial Numbers

  1. VEHICLE IDENTIFICATION NUMBER 
    1. The vehicle identification number is stamped on the vehicle body and on the certification label, as shown in the illustration.

      A: 

      Vehicle Identification Number 

      B: 

      Certification Label 

      C: 

      Frame Number 

    Fig 1: Identifying Vehicle Identification Number, Certification Label And Frame Number
    G04085173Courtesy of © TOYOTA, LICENSE AGREEMENT TMS1002
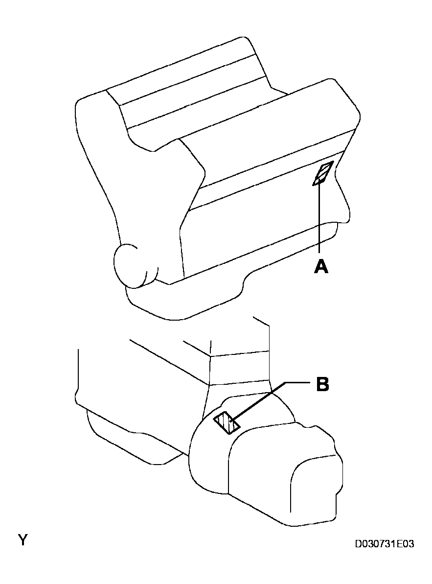
  2. ENGINE SERIAL NUMBER AND TRANSMISSION SERIAL NUMBER 
    1. The engine serial number is stamped on the cylinder block of the engine and the transaxle serial number is stamped on the housing as shown in the illustration.

      A: 

      Engine Serial Number 

      B: 

      Transaxle Serial Number 

    Fig 2: Identifying Engine Serial Number And Transmission Serial Number
    G04085174Courtesy of © TOYOTA, LICENSE AGREEMENT TMS1002