lemon-mirror:
Home >> Lexus >> 2006 >> RX 400h FWD >> Repair and Diagnosis >> Brakes >> Brakes Control Systems >> Brake Control >> Electronically Controlled Brake System >> Calibration

Electronically Controlled Brake System: Calibration

  1. DESCRIPTION 

    After replacing the VSC relevant components or performing "Front wheel alignment adjustment", clear and read the sensor calibration data. Follow the chart to perform calibration.

    REPLACEMENT / ADJUSTMENT PARTS REFERENCE

    Replacement / Adjustment Parts Necessary Operation
    Skid control ECU Yaw rate and deceleration sensor zero point calibration.
    Yaw rate and deceleration sensor
    1. Clearing zero point calibration data.
    2. Yaw rate and deceleration sensor zero point calibration.
    Front wheel alignment
    1. Clearing zero point calibration data.
    2. Yaw rate and deceleration sensor zero point calibration.
  2. CLEAR ZERO POINT CALIBRATION (WHEN USING INTELLIGENT TESTER): 
    1. Connect the intelligent tester to the DLC3.
    2. Turn the ignition switch on.
      Fig 1: Connecting Intelligent Tester To DLC3
      G04113148Courtesy of © TOYOTA, LICENSE AGREEMENT TMS1002
    3. Operate the intelligent tester to erase the codes (select "RESET MEMORY").

      HINT:

      Refer to the intelligent tester operator's manual for further details.

    4. Using the intelligent tester, perform zero point calibration of the yaw rate and deceleration sensor.
      Fig 2: Identifying Tester Diagnostic Menu
      G04113149Courtesy of © TOYOTA, LICENSE AGREEMENT TMS1002
  3. PERFORM ZERO POINT CALIBRATION OF YAW RATE AND DECELERATION SENSOR (WHEN USING INTELLIGENT TESTER): 
    NOTE:
    • While obtaining the zero point, do not vibrate the vehicle by tilting, moving or shaking it and keep it in a stationary condition. (Do not turn the ignition switch on.)
    • Be sure to do this on a level surface (with an inclination of less than 1 degree).
    1. Procedures for test mode.
      1. Check that the steering wheel is in the straight ahead position and move the shift lever to the P position and apply the parking brake.
        NOTE: DTC C1210/36 and C1336/39 will be recorded if the shift lever is not in the P position.
      2. Connect the intelligent tester to the DLC3.
      3. Turn the ignition switch on.
        Fig 3: Connecting Intelligent Tester To DLC3
        G04113150Courtesy of © TOYOTA, LICENSE AGREEMENT TMS1002
      4. Set the intelligent tester to test mode (select "TEST MODE").

        HINT:

        Refer to the intelligent tester operator's manual for further details.

    2. Obtain the zero point of the yaw rate and deceleration sensor.
      1. Keep the vehicle in the stationary condition on a level surface for 2 seconds or more.
        Fig 4: Identifying Tester Diagnostic Menu
        G04113151Courtesy of © TOYOTA, LICENSE AGREEMENT TMS1002
      2. Check that the ABS and brake control warning lights blink and "CHECK VSC SYSTEM" is displayed on the multi information display (test mode).

        HINT:

        • If the ABS and brake control warning lights do not blink and/or "CHECK VSC SYSTEM" is not displayed on the multi information display, perform zero point calibration again.
        • The zero point calibration is performed only once after the system enters the test mode.
        • Calibration cannot be performed again until the stored data is cleared once.
    3. Turn the ignition switch off and disconnect the intelligent tester.
      Fig 5: Checking VSC System Display
      G04113152Courtesy of © TOYOTA, LICENSE AGREEMENT TMS1002
  4. CLEAR ZERO POINT CALIBRATION (WHEN USING SST CHECK WIRE): 
    1. Turn the ignition switch on.
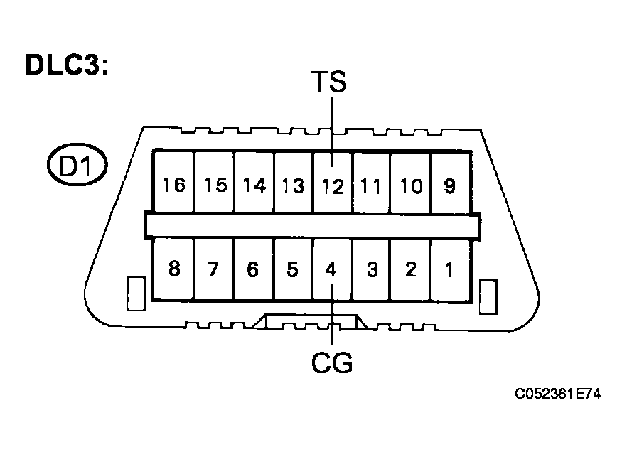
    2. Using SST, connect and disconnect terminals TS and CG of the DLC3 4 times or more within 8 seconds.

      SST 09843-18040 

    3. Check that no codes other than ABS code 42, VSC code 45 and ECB code 48, 66, or 95 are stored in the diagnostic system.
      Fig 6: Connecting Terminals TS And CG Of DLC3
      G04113153Courtesy of © TOYOTA, LICENSE AGREEMENT TMS1002

      HINT:

      The ABS warning light and multi information display do not indicate the normal system code.

      Fig 7: Checking VSC Code Display
      G04113154Courtesy of © TOYOTA, LICENSE AGREEMENT TMS1002
    4. Remove the SST from the terminals of the DLC3.
    5. Using a check wire, perform zero point calibration of the yaw rate and deceleration sensor.
  5. PERFORM ZERO POINT CALIBRATION OF YAW RATE AND DECELERATION SENSOR (WHEN USING SST CHECK WIRE): 
    NOTE:
    • While obtaining the zero point, do not vibrate the vehicle by tilting, moving or shaking it and keep it in a stationary condition. (Do not turn the ignition switch on.)
    • Be sure to do this on a level surface (with an inclination of less than 1 degree).
    1. Procedures for test mode.
      1. Turn the ignition switch off.
      2. Using SST, connect terminals TS and CG of the DLC3.

        SST 09843-18040 

      3. Check that the steering wheel is in the straight ahead position and move the shift lever to the P position.
        Fig 8: Connecting Terminals TS And CG Of DLC3
        G04113155Courtesy of © TOYOTA, LICENSE AGREEMENT TMS1002
        NOTE: DTC C1210/36 and C1336/39 will be recorded if the shift lever is not in the P position.
    2. Obtain the zero point of the yaw rate and deceleration sensor.
      1. Turn the ignition switch on.
      2. Keep the vehicle in a stationary condition on a level surface for 2 seconds or more.
      3. Check that the ABS and brake control warning lights blink and "CHECK VSC SYSTEM" is displayed on the multi information display (test mode).

        HINT:

        • If the ABS and brake control warning lights do not blink and/or "CHECK VSC SYSTEM" is not displayed on the multi information display, perform zero point calibration again.
        • The zero point calibration is performed only once after the system enters the test mode.
        • Calibration cannot be performed again until the stored data is cleared once.
    3. Turn the ignition switch off and disconnect the SST from the DLC3.
      Fig 9: Checking VSC System
      G04113156Courtesy of © TOYOTA, LICENSE AGREEMENT TMS1002