lemon-mirror:
Home >> Lexus >> 2006 >> RX 400h FWD >> Repair and Diagnosis >> Brakes >> Brakes Control Systems >> Brake Control >> Electronically Controlled Brake System >> Test Mode Procedure

Test Mode Procedure

  1. WARNING LIGHT AND INDICATOR LIGHT BULB CHECK 
    1. Release the parking brake.
      NOTE: Before releasing the parking brake, set chocks to hold the vehicle for safety.

      HINT:

  2. SENSOR SIGNAL CHECK BY TEST MODE (SIGNAL CHECK) (WHEN USING INTELLIGENT TESTER): 
    1. When having replaced the skid control ECU and/or yaw rate and deceleration sensor, perform zero point calibration of the yaw rate and deceleration sensor.

      HINT:

      • If the ignition switch is turned from the ON position to the ACC or off during test mode (signal check), DTCs of the signal check function will be erased.
      • During test mode (signal check), the skid control ECU records all DTCs of the signal check function. By performing the test mode (signal check), the codes are erased if normality is confirmed. The remaining codes are the codes where an abnormality was found.
    2. Procedures for test mode.
      1. Turn the ignition switch off.
      2. Connect the intelligent tester to the DLC3.
      3. Check that the steering wheel is in the straight ahead position and move the shift lever to the P position.
      4. Turn the ignition switch on.
        Fig 2: Connecting Intelligent Tester To DLC3
        G04113158Courtesy of © TOYOTA, LICENSE AGREEMENT TMS1002
      5. Set the intelligent tester to test mode (select "SIGNAL CHECK").
        Fig 3: Identifying Tester Diagnostic Menu
        G04113159Courtesy of © TOYOTA, LICENSE AGREEMENT TMS1002

        HINT:

        Refer to the intelligent tester operator's manual for further details.

      6. Check that the ABS and warning lights blink and "CHECK VSC SYSTEM" is displayed on the multi information display (test mode).
        Fig 4: Checking VSC System
        G04113160Courtesy of © TOYOTA, LICENSE AGREEMENT TMS1002

        HINT:

        If the ABS and brake control warning light do not blink, inspect the TS and CG terminal circuit, ABS warning light circuit and/or brake control warning light circuit.

      7. ABS SENSOR CHECK

        HINT:

        Check that the ABS warning light is blinking in test mode and perform the check.

  3. DECELERATION SENSOR CHECK (WHEN USING INTELLIGENT TESTER): 
    1. Keep the vehicle in a stationary condition on a level surface for 1 second or more.
      Fig 5: Identifying Blinking Pattern
      G04113161Courtesy of © TOYOTA, LICENSE AGREEMENT TMS1002

      HINT:

      Deceleration sensor check can be performed with the following master cylinder pressure sensor check.

  4. MASTER CYLINDER PRESSURE SENSOR CHECK (WHEN USING INTELLIGENT TESTER): 
    1. Leave the vehicle in a stationary condition and release the brake pedal for 1 second or more, and quickly depress the brake pedal with a force of 98 N (10 kgf, 22 lbf) or more for 1 second or more.
    2. Check the ABS warning light stays on for 3 seconds.

      HINT:

      • Ensure that the ABS warning light comes on.
      • While the ABS warning light stays on, continue to depress the brake pedal with a force of 98 N (10kgf, 22 lbf) or more.
      • The ABS warning light comes on for 3 seconds every time brake pedal operation above is performed.
  5. SPEED SENSOR CHECK (WHEN USING INTELLIGENT TESTER): 
    1. Check the backward signal.
      1. Drive the vehicle in reverse for more than 1 second at 2 mph (3 km/h) or higher.

        HINT:

        Drive the vehicle in reverse and check the speed sensor signal. Note that the signal check cannot be completed if the vehicle speed is 28 mph (45 km/h) or more.

    2. Check the forward signal.
      1. Drive the vehicle straight forward. Drive the vehicle at a speed of 28 mph (45 km/h) or higher for several seconds and check that the ABS warning light goes off.

        HINT:

        The signal check may not be completed if the vehicle has its wheels spun or the steering wheel turned during this check.

    3. Stop the vehicle.
      NOTE:
      • Before performing the speed sensor signal check, complete the deceleration sensor and master cylinder pressure sensor checks.
      • The speed sensor signal check may not be completed if the speed sensor signal check is started while turning the steering wheel or spinning the wheels.
      • After the ABS warning light goes off and if the vehicle speed exceeds 50 mph (80 km/h), a signal check code will be stored again. Decelerate or stop the vehicle before the speed reaches 50 mph (80 km/h).
      • If the signal check has not been completed, the ABS warning light blinks while driving and the ABS system does not operate.

      HINT:

      When the signal check has been completed, the ABS warning light goes off while driving and blinks in the test mode pattern while stationary.

      1. VSC SENSOR CHECK

        Check that the brake warning light blinks and "CHECK VSC SYSTEM" is displayed on the multi information display, and perform the check (refer to step 6).

  6. YAW RATE SENSOR CHECK (WHEN USING INTELLIGENT TESTER): 
    1. Check the zero point voltage of the yaw rate sensor.
      1. Keep the vehicle in a stationary condition on a level surface for 1 second or more.
        Fig 6: Checking Yaw Rate Sensor
        G04113162Courtesy of © TOYOTA, LICENSE AGREEMENT TMS1002
    2. Check the output of the yaw rate sensor and the direction of the steering angle sensor.
      1. Move the shift lever to the D position, drive the vehicle at a speed of approximately 3 mph (5 km/h), and turn the steering wheel either to the left or right 90° or more until the vehicle makes a 180° turn.
      2. Stop the vehicle and move the shift lever to the P position. Check that the skid control buzzer sounds for 3 seconds.
        Fig 7: Checking Yaw Rate Sensor
        G04052052Courtesy of © TOYOTA, LICENSE AGREEMENT TMS1002

        HINT:

        • If the skid control buzzer sounds, the signal check is completed normally.
        • If the skid control buzzer does not sound, check the skid control buzzer circuit, then perform the signal check again.
        • If the skid control buzzer does not sound yet, there is a malfunction in the yaw rate sensor, so check the DTC.
        • Make 180° turn. At the end of the turn, the direction of the vehicle should be within 180° +- 5° of its start position.
        • Do not spin the wheels.
        • Do not turn the ignition switch off while turning.
        • Do not move the shift lever to the P position while turning, but change in the vehicle speed, stopping, or driving in reverse is possible.
        • Complete the turn within 20 seconds.
  7. END OF SENSOR CHECK (WHEN USING INTELLIGENT TESTER): 
    1. If the sensor check is completed, the ABS warning light blinks (test mode) when the vehicle stops and the ABS warning light is off when the vehicle is driving.
      Fig 8: Identifying Blinking Pattern
      G04113164Courtesy of © TOYOTA, LICENSE AGREEMENT TMS1002
      NOTE:
      • When the yaw rate sensor, deceleration sensor, speed sensor and master cylinder pressure sensor checks are completed, the sensor check is completed.
      • If the sensor check is not completed, the ABS warning light blinks even while the vehicle is driving and the ABS does not operate.
  8. READ DTC OF SIGNAL CHECK FUNCTION (WHEN USING INTELLIGENT TESTER): 
    1. Read the DTC(s) by following the tester screen.
      NOTE:
      • If the DTCs are displayed, repair the malfunctioning area and clear the DTCs.
      • If the DTCs or test mode codes (DTC of signal check function) are displayed, repair the malfunctioning area, clear the DTCs and perform the test mode inspection.

      HINT:

      See the list of DTC.

  9. DTC OF TEST MODE FUNCTION (SIGNAL CHECK) (WHEN USING INTELLIGENT TESTER): 

    ABS sensor: 

    ABS SENSOR TROUBLE AREA

    Code No. Diagnosis Trouble Area
    C1271/71 Low output signal of front speed sensor RH
    • Right front speed sensor
    • Sensor installation
    • Speed sensor rotor
    C1272/72 Low output signal of front speed sensor LH
    • Left front speed sensor
    • Sensor installation
    • Speed sensor rotor
    C1273/73 Low output signal of rear speed sensor RH
    • Right rear speed sensor
    • Sensor installation
    • Speed sensor rotor
    C1274/74 Low output signal of rear speed sensor LH
    • Left rear speed sensor
    • Sensor installation
    • Speed sensor rotor
    C1275/75 Abnormal change in output signal of front speed sensor RH Right front speed sensor rotor
    C1276/76 Abnormal change in output signal of front speed sensor LH Left front speed sensor rotor
    C1277/77 Abnormal change in output signal of rear speed sensor RH Right rear speed sensor rotor
    C1278/78 Abnormal change in output signal of rear speed sensor LH Left rear speed sensor rotor
    C1279/79 Deceleration sensor output voltage malfunction
    • Yaw rate and acceleration sensor
    • Sensor installation
    C1281/81 Master cylinder pressure sensor output malfunction
    • Master cylinder pressure sensor
    • Stop light switch circuit

    VSC sensor: 

    VSC SENSOR TROUBLE AREA

    Code No. Diagnosis Trouble Area
    C0371/71 Yaw rate sensor Yaw rate and acceleration sensor

    ECB sensor: 

    ECB SENSOR TROUBLE AREA

    Code No. Diagnosis Trouble Area
    C1346/71 Stroke sensor zero point learning malfunction Brake pedal stroke sensor

    HINT:

    The codes in this table are output only in test mode (signal check).

  10. SENSOR SIGNAL CHECK BY TEST MODE (SIGNAL CHECK) (WHEN USING SST CHECK WIRE): 
    1. When having replaced the skid control ECU and/or yaw rate and deceleration sensor, perform zero point calibration of the yaw rate and deceleration sensor.

      HINT:

      • If the ignition switch is turned from the ON position to the ACC or off during test mode (signal check), DTCs of the signal check function will be erased.
      • During test mode (signal check), the skid control ECU records all DTCs of the signal check function. By performing the test mode (signal check), the codes are erased if normality is confirmed. The remaining codes are the codes where an abnormality was found.
    2. Procedures for test mode.
      1. Turn the ignition switch off.
      2. Check that the steering wheel is in the straight ahead position and move the shift lever to the P position.
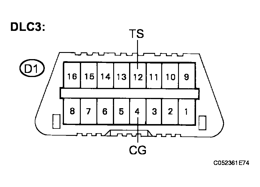
      3. Using SST, connect terminals TS and CG of the DLC3.

        SST 09843-18040 

      4. Turn the ignition switch on.
        Fig 9: Connecting Terminals TS And CG Of DLC3
        G04113165Courtesy of © TOYOTA, LICENSE AGREEMENT TMS1002
      5. Check that the ABS and brake control warning lights blink and "CHECK VSC SYSTEM" is displayed on the multi information display (test mode).
        Fig 10: Checking VSC System
        G04113166Courtesy of © TOYOTA, LICENSE AGREEMENT TMS1002

        HINT:

        If the ABS and brake control warning light do not blink, inspect the TS and CG terminal circuit, ABS warning light circuit and/or brake control warning light (multi information display) circuit.

      6. ABS SENSOR CHECK

        HINT:

        Check that the ABS warning lights is blinking in test mode and perform the check.

  11. DECELERATION SENSOR CHECK (WHEN USING SST CHECK WIRE): 
    1. Keep the vehicle in a stationary condition on a level surface for 1 second or more.
      Fig 11: Identifying Blinking Pattern
      G04113167Courtesy of © TOYOTA, LICENSE AGREEMENT TMS1002

      HINT:

      Deceleration sensor check can be performed with the following master cylinder pressure sensor check.

  12. MASTER CYLINDER PRESSURE SENSOR CHECK (WHEN USING SST CHECK WIRE): 
    1. Leave the vehicle in a stationary condition and release the brake pedal for 1 second or more, and quickly depress the brake pedal with a force of 98 N (10 kgf, 22 lbf) or more for 1 second or more.
    2. Check the ABS warning light stays on for 3 seconds.

      HINT:

      • Ensure that the ABS warning light comes on.
      • While the ABS warning light stays on, continue to depress the brake pedal with a force of 98 N (10 kgf, 22 lbf) or more.
      • The ABS warning light comes on for 3 seconds every time the brake pedal operation above is performed.
  13. SPEED SENSOR CHECK (WHEN USING SST CHECK WIRE): 
    1. Check the backward signal.
      1. Drive the vehicle in reverse for more than 1 second at 2 mph (3 km/h) or higher.

        HINT:

        Drive the vehicle in reverse and check the speed sensor signal. Note that the signal check cannot be completed if the vehicle speed is 28 mph (45 km/h) or more.

    2. Check the forward signal.
      1. Drive the vehicle straight forward. Drive the vehicle at a speed of 28 mph (45 km/h) or higher for several seconds and check that the ABS warning light goes off.

        HINT:

        The signal check may not be completed if the vehicle has its wheels spun or the steering wheel turned during this check.

    3. Stop the vehicle.
      NOTE:
      • Before performing the speed sensor signal check, complete the deceleration sensor and master cylinder pressure sensor checks.
      • The speed sensor signal check may not be completed if the speed sensor signal check is started while turning the steering wheel or spinning the wheels.
      • After the ABS warning light goes off, if vehicle speed exceeds 50 mph (80 km/h), a signal check code will be stored again. Decelerate or stop the vehicle before the speed reaches 50 mph (80 km/h).
      • If the signal check has not been completed, the ABS warning light blinks while driving and the ABS system does not operate.

      HINT:

      When the signal check has been completed, the ABS warning light goes off while driving and blinks in the test mode pattern while stationary.

      1. VSC SENSOR CHECK

        Check that the brake control warning light blinks and "CHECK VSC SYSTEM" is displayed on the multi information display, and perform the check (refer to step 14).

  14. YAW RATE SENSOR CHECK (WHEN USING SST CHECK WIRE): 
    1. Check the zero point voltage of the yaw rate sensor.
      1. Keep the vehicle in a stationary condition on a level surface for 1 second or more.
        Fig 12: Checking VSC System
        G04113168Courtesy of © TOYOTA, LICENSE AGREEMENT TMS1002
    2. Check the output of the yaw rate sensor and the direction of the steering angle sensor.
      1. Move the shift lever to the D position, drive the vehicle at a speed of approximately 3 mph (5 km/h), and turn the steering wheel either to the left or right 90° or more until the vehicle makes a 180° turn.
      2. Stop the vehicle and move the shift lever to the P position. Check that the skid control buzzer sounds for 3 seconds.
        Fig 13: Checking Yaw Rate Sensor
        G04052052Courtesy of © TOYOTA, LICENSE AGREEMENT TMS1002

        HINT:

        • If the skid control buzzer sounds, the signal check is completed normally.
        • If the skid control buzzer does not sound, check the skid control buzzer circuit, then perform the signal check again.
        • If the skid control buzzer does not sound yet, there is a malfunction in the yaw rate sensor, so check the DTC.
        • Make a 180° turn. At the end of the turn, the direction of the vehicle should be within 180° +- 5° of its start position.
        • Do not spin the wheels.
        • Do not turn the ignition switch off while turning.
        • Do not move the shift lever to the P position while turning, but change in the vehicle speed, stopping, or driving in reverse is possible.
        • Complete the turn within 20 seconds.
  15. END OF SENSOR CHECK (WHEN USING SST CHECK WIRE): 
    1. If the sensor check is completed, the ABS warning light blinks (test mode) when the vehicle stops and the ABS warning light is off when the vehicle is driving.
      Fig 14: Identifying Blinking Pattern
      G04113170Courtesy of © TOYOTA, LICENSE AGREEMENT TMS1002
      NOTE:
      • When the yaw rate sensor, deceleration sensor, speed sensor and master cylinder pressure sensor checks are completed, the sensor check is completed.
      • If the sensor check is not completed, the ABS warning light blinks even while the vehicle is driving and the ABS does not operate.
  16. READ DTC OF SIGNAL CHECK FUNCTION (WHEN USING SST CHECK WIRE): 
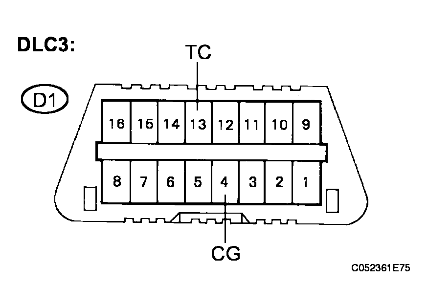
    1. Using SST, connect terminals TC and CG of the DLC3.
      Fig 15: Connecting Terminals TS And CG Of DLC3
      G04113171Courtesy of © TOYOTA, LICENSE AGREEMENT TMS1002

      SST 09843-18040 

    2. Count the number of blinks of the ABS and brake control warning light, and read the "DIAG VSC" indication on the multi information display.
      Fig 16: Checking VSC Code Display
      G04113172Courtesy of © TOYOTA, LICENSE AGREEMENT TMS1002
      NOTE:
      • If the DTCs are displayed, repair the malfunctioning area and clear the DTCs.
      • If the DTCs or test mode codes (DTC of signal check function) are displayed, repair the malfunctioning area, clear the DTCs and perform the test mode inspection.

      HINT:

      • If more than 1 malfunction is detected at the same time, the lowest numbered code will be displayed first.
      • See the list of DTC.
    3. After performing the check, disconnect the SST from terminals TS and CG, TC and CG of the DLC3 and turn the ignition switch off.
    4. Turn the ignition switch on.

      HINT:

      If the ignition switch is not turned to the ON position after the SST is removed from the DLC3, the previous test mode will continue.

  17. DTC OF TEST MODE FUNCTION (SIGNAL CHECK) (WHEN USING SST CHECK WIRE): 

    ABS sensor: 

    ABS SENSOR TROUBLE AREA

    Code No. Diagnosis Trouble Area
    C1271/71 Low output signal of front speed sensor RH
    • Right front speed sensor
    • Sensor installation
    • Speed sensor rotor
    C1272/72 Low output signal of front speed sensor LH
    • Left front speed sensor
    • Sensor installation
    • Speed sensor rotor
    C1273/73 Low output signal of rear speed sensor RH
    • Right rear speed sensor
    • Sensor installation
    • Speed sensor rotor
    C1274/74 Low output signal of rear speed sensor LH
    • Left rear speed sensor
    • Sensor installation
    • Speed sensor rotor
    C1275/75 Abnormal change in output signal of front speed sensor RH Right front speed sensor rotor
    C1276/76 Abnormal change in output signal of front speed sensor LH Left front speed sensor rotor
    C1277/77 Abnormal change in output signal of rear speed sensor RH Right rear speed sensor rotor
    C1278/78 Abnormal change in output signal of rear speed sensor LH Left rear speed sensor rotor
    C1279/79 Deceleration sensor output voltage malfunction
    • Yaw rate and acceleration sensor
    • Sensor installation
    C1281/81 Master cylinder pressure sensor output malfunction
    • Master cylinder pressure sensor
    • Stop light switch circuit

    VSC sensor: 

    VSC SENSOR TROUBLE AREA

    Code No. Diagnosis Trouble Area
    C0371/71 Yaw rate sensor Yaw rate and acceleration sensor

    ECB sensor: 

    ECB SENSOR TROUBLE AREA

    Code No. Diagnosis Trouble Area
    C1346/71 Stroke sensor zero point learning malfunction Brake pedal stroke sensor

    HINT:

    The codes in this table are output only in test mode (signal check).