lemon-mirror:
Home >> Lexus >> 2007 >> ES 350 >> Repair and Diagnosis >> Electrical >> Charging Systems >> Charging >> Generator >> Reassembly

Charging Systems: Charging: Generator: Reassembly

  1. INSTALL GENERATOR DRIVE END FRAME BEARING 
    1. Using SST and a press, press in a new generator drive end frame bearing.

      SST 09950-60010 (09951-00470), 09950-70010 (09951-07100) 

      Fig 1: Installing Generator Drive End Frame Bearing
      G04975804Courtesy of © TOYOTA, LICENSE AGREEMENT TMS1002
    2. Fit the tabs on the retainer plate into the cutouts on the drive end frame to install the retainer plate.
    3. Install the 4 screws.

      Torque: 2.3 N*m (23 kgf*cm, 20 in.*lbf) 

  2. INSTALL GENERATOR ROTOR ASSEMBLY 
    1. Place the drive end frame on the clutch pulley.
      Fig 2: Locating Retainer Plate Screws
      G04975805Courtesy of © TOYOTA, LICENSE AGREEMENT TMS1002
    2. Install the generator rotor assembly to the drive end frame.
      Fig 3: Locating Generator Rotor Assembly
      G04975794Courtesy of © TOYOTA, LICENSE AGREEMENT TMS1002
    3. Place a new generator washer on the generator rotor.
      Fig 4: Locating Generator Washer
      G04975735Courtesy of © TOYOTA, LICENSE AGREEMENT TMS1002
  3. INSTALL GENERATOR COIL ASSEMBLY 
    1. Using a deep socket wrench (21 mm) and a press, slowly press in the generator coil assembly.
      Fig 5: Identifying Deep Socket Wrench
      G05248999Courtesy of © TOYOTA, LICENSE AGREEMENT TMS1002
    2. Install the 4 bolts.

      Torque: 5.8 N*m (59 kgf*cm, 51 in.*lbf) 

      Fig 6: Locating Generator Coil Assembly Bolts
      G04975791Courtesy of © TOYOTA, LICENSE AGREEMENT TMS1002
  4. INSTALL GENERATOR BRUSH HOLDER ASSEMBLY 
    1. While pushing the 2 brushes into the generator brush holder assembly, insert a ø1.0 mm (0,039 in.) pin into the brush holder hole.
      Fig 7: Identifying Pin Into Brush Holder Hole
      G04975753Courtesy of © TOYOTA, LICENSE AGREEMENT TMS1002
    2. Install the brush holder assembly to the generator coil with the 2 screws.

      Torque: 1.8 N*m (18 kgf*cm, 16 in.*lbf) 

    3. Pull out the pin from the generator brush holder.
      Fig 8: Locating Brush Holder Assembly Screws
      G05249002Courtesy of © TOYOTA, LICENSE AGREEMENT TMS1002
  5. INSTALL GENERATOR TERMINAL INSULATOR 
    1. Install the terminal insulator to the generator coil.
      NOTE: Be sure to install the terminal insulator in the correct direction.
      Fig 9: Locating Terminal Insulator
      G04975812Courtesy of © TOYOTA, LICENSE AGREEMENT TMS1002
  6. INSTALL GENERATOR REAR END COVER 
    1. Install the generator rear end cover to the generator coil with the 3 nuts.

      Torque: 4.6 N*m (47 kgf*cm, 41 in.*lbf) 

      Fig 10: Locating Generator Rear End Cover Nuts
      G04975788Courtesy of © TOYOTA, LICENSE AGREEMENT TMS1002
  7. INSTALL GENERATOR CLUTCH PULLEY 
    1. Temporarily install the clutch pulley onto the rotor shaft.
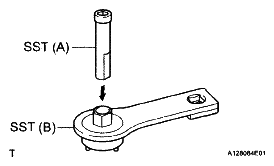
    2. Set SST (A) and (B).

      SST 09820-63020 

      Fig 11: Setting SST A And B
      G04975758Courtesy of © TOYOTA, LICENSE AGREEMENT TMS1002
    3. Clamp SST (A) in a vise.
    4. Place the rotor shaft end into SST (A).
      Fig 12: Identifying Rotor Shaft And SST A
      G04975784Courtesy of © TOYOTA, LICENSE AGREEMENT TMS1002
    5. Fit SST (B) to the clutch pulley.
      Fig 13: Identifying Clutch Pulley And SST B
      G04975785Courtesy of © TOYOTA, LICENSE AGREEMENT TMS1002
    6. Tighten the pulley by turning SST (B) in the direction shown in the illustration.

      Torque: 111 N*m (1,125 kgf*cm, 81 ft.*lbf) 

      NOTE: The torque shown above should be used for tightening without using the SST. When the SST is used for tightening, the torque should be calculated based on the length of the SST (See REPAIR INSTRUCTION ).
    7. Remove the generator assembly from the SST.
    8. Check that the clutch pulley rotates smoothly.
      Fig 14: Turning SST
      G04975817Courtesy of © TOYOTA, LICENSE AGREEMENT TMS1002
    9. Install a new clutch pulley cap to the clutch pulley.