lemon-mirror:
Home >> Lexus >> 2007 >> GS 430 >> Repair and Diagnosis >> External Pages >> Different car >> Section 11 (Transfer Case) >> Transfer Assembly >> Disassembly

Transfer Assembly: Disassembly

WARNING: This page is about a different car, the 2007 Lexus GS 350. However, it is still accessible from the selected car via links, so may be relevant.
  1. REMOVE TRANSFER OIL PAN 
    1. Remove the 9 bolts.
      Fig 1: Locating Transfer Oil Pan Bolts
      G05295858Courtesy of © TOYOTA, LICENSE AGREEMENT TMS1002
    2. Insert the blade of SST between the transfer oil pan and transfer case. Cut through the sealer and remove the transfer oil pan.

      SST 09032-00100 

      NOTE: Do not damage the contact surface of the transfer oil pan.
      Fig 2: Inserting Blade Of SST Between Transfer Oil Pan And Transfer Case
      G05295859Courtesy of © TOYOTA, LICENSE AGREEMENT TMS1002
    3. Remove the transfer oil cleaner magnet from the transfer oil pan.
      NOTE:
      • Clean the inside of the oil pan thoroughly, removing all metal shavings, sludge and any other foreign objects.
      • Remove any metal shavings from the magnet.
    Fig 3: Removing Metal Shavings From Magnet
    G05295860Courtesy of © TOYOTA, LICENSE AGREEMENT TMS1002
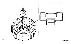
  2. REMOVE TRANSFER VALVE BODY ASSEMBLY 
    1. Remove the 4 bolts and the transfer valve body assembly.
    2. Disconnect the transfer wire connector from the transfer control solenoid.
      Fig 4: Locating Bolts And Transfer Valve Body Assembly
      G05295861Courtesy of © TOYOTA, LICENSE AGREEMENT TMS1002
    3. Remove the bolt and the transfer wire.
    Fig 5: Locating Bolt And Transfer Wire
    G05295862Courtesy of © TOYOTA, LICENSE AGREEMENT TMS1002
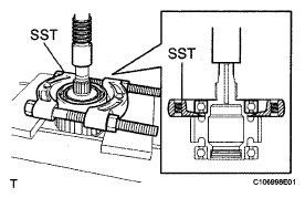
  3. REMOVE TRANSFER EXTENSION HOUSING DUST DEFLECTOR 
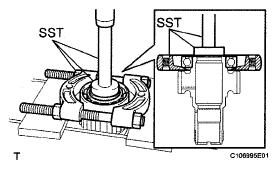
    1. Using SST, remove the transfer extension housing dust deflector.

      SST 09950-40011 (09951-04010, 09952-04010, 09953-04020, 09954-04010, 09955-04051, 09958-04011) 

      NOTE: Apply grease to the threads and tip of the SST center bolt before use.
    Fig 6: Removing Transfer Extension Housing Dust Deflector
    G05295863Courtesy of © TOYOTA, LICENSE AGREEMENT TMS1002
  4. REMOVE TRANSFER CASE 
    1. Remove the 8 bolts and clamp.
      Fig 7: Locating Bolts And Clamp
      G05295864Courtesy of © TOYOTA, LICENSE AGREEMENT TMS1002
    2. Using a plastic hammer, tap the transfer case to remove it.
    Fig 8: Removing Transfer Case
    G05295865Courtesy of © TOYOTA, LICENSE AGREEMENT TMS1002
  5. REMOVE TRANSFER REAR OUTPUT SHAFT ASSEMBLY 
    1. Remove the transfer rear output shaft assembly.
    Fig 9: Installing Transfer Rear Output Shaft
    G05295866Courtesy of © TOYOTA, LICENSE AGREEMENT TMS1002
  6. REMOVE FLANGE YOKE 
    1. Using SST and a hammer, release the staked part of the nut.

      SST 09930-00010 

      NOTE:
      • Be sure to use the SST with the tapered surface facing the shaft.
      • Do not grind the tip of the SST with a grinder etc.
      • Completely loosen the staked part of the nut when removing it.
      • Do not damage the threads of the transfer drive sprocket.
      Fig 10: Releasing Staked Part Of Nut
      G05295867Courtesy of © TOYOTA, LICENSE AGREEMENT TMS1002
    2. Using SST, hold the yoke.

      SST 09330-00021, 09213-54015 

    3. Using a deep socket wrench (30 mm), remove the nut.
    4. Remove the flange yoke.
    Fig 11: Removing Flange Yoke
    G05295868Courtesy of © TOYOTA, LICENSE AGREEMENT TMS1002
  7. REMOVE TRANSFER CHAIN CASE REAR 
    1. Remove the 10 bolts.
      Fig 12: Locating Rear Transfer Chain Case Bolts
      G05295869Courtesy of © TOYOTA, LICENSE AGREEMENT TMS1002
    2. Tap the 3 protrusions of the transfer chain case gently with a brass bar and hammer to loosen, and remove it.
      NOTE: Do not damage the transfer chain case.
    Fig 13: Identifying Protrusions Of Transfer Chain Case
    G05295870Courtesy of © TOYOTA, LICENSE AGREEMENT TMS1002
  8. REMOVE TRANSFER FRONT DRIVE CHAIN, TRANSFER DRIVE SPROCKET ASSEMBLY AND TRANSFER FRONT DRIVEN CLUTCH SLEEVE ASSEMBLY 
    1. Remove the transfer front drive chain, transfer drive sprocket and transfer front driven clutch sleeve.
    2. Remove the transfer front drive chain from the transfer drive sprocket and transfer front driven clutch sleeve.
    Fig 14: Installing Transfer Front Drive Chain
    G05295871Courtesy of © TOYOTA, LICENSE AGREEMENT TMS1002
  9. REMOVE TRANSFER CHAIN CASE FRONT 
    1. Remove the 6 bolts and transfer chain case front.

      HINT:

      If necessary, tap the transfer chain case front with a plastic hammer to loosen and remove it.

    Fig 15: Locating Bolts And Transfer Chain Case Front
    G05295872Courtesy of © TOYOTA, LICENSE AGREEMENT TMS1002
  10. REMOVE TRANSFER CASE REAR OIL SEAL 
    1. Using a screwdriver with its tip taped, pry out the oil seal from the transfer case.
      Fig 16: Prying Out Oil Seal From Transfer Case Using Screwdriver
      G05295873Courtesy of © TOYOTA, LICENSE AGREEMENT TMS1002
    2. Remove the bolt and clamp.
    Fig 17: Locating Bolt And Clamp
    G05295874Courtesy of © TOYOTA, LICENSE AGREEMENT TMS1002
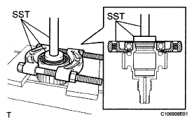
  11. REMOVE TRANSFER CASE BEARING 
    1. Using SST, remove the transfer case bearing from the transfer case.

      SST 09308-00010 

    Fig 18: Removing Transfer Case Bearing
    G05295875Courtesy of © TOYOTA, LICENSE AGREEMENT TMS1002
  12. REMOVE TRANSFER BAFFLE VALVE SUB-ASSEMBLY 
    1. Remove the bolt and transfer baffle valve from the transfer chain case rear.
    Fig 19: Locating Bolt And Transfer Baffle Valve
    G05295876Courtesy of © TOYOTA, LICENSE AGREEMENT TMS1002
  13. REMOVE TRANSFER CHAIN CASE GOVERNOR APPLY GASKET 
    1. Remove the screw, O-ring, and 2 gaskets from the transfer chain case front.
      Fig 20: Identifying Screw, O-Ring, And Gaskets
      G05295877Courtesy of © TOYOTA, LICENSE AGREEMENT TMS1002
    2. Remove the 2 gaskets from the transfer chain case rear.
    Fig 21: Identifying Gasket
    G05295878Courtesy of © TOYOTA, LICENSE AGREEMENT TMS1002
  14. REMOVE TRANSFER CASE FRONT OIL SEAL 
    1. Using a screwdriver with its tip taped, pry out the oil seal from the transfer chain case front.
    Fig 22: Removing Transfer Case Front Oil Seal
    G05295879Courtesy of © TOYOTA, LICENSE AGREEMENT TMS1002
  15. REMOVE TRANSFER REAR OUTPUT SHAFT AND CENTER DIFFERENTIAL CARRIER 
    1. Remove the transfer rear output shaft and center differential carrier from the transfer direct clutch drum.
    Fig 23: Identifying Transfer Rear Output Shaft And Center Differential Carrier
    G05295880Courtesy of © TOYOTA, LICENSE AGREEMENT TMS1002
  16. REMOVE TRANSFER REAR OUTPUT SHAFT BEARING 
    1. Remove the transfer rear output shaft bearing from the transfer direct clutch drum.
    Fig 24: Identifying Transfer Rear Output Shaft Bearing
    G05295881Courtesy of © TOYOTA, LICENSE AGREEMENT TMS1002
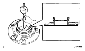
  17. INSPECT CENTER DIFFERENTIAL CARRIER ASSEMBLY 
    1. Using a feeler gauge, measure the center differential carrier pinion gear thrust clearance.

      Standard clearance: 

      0.2 to 0.5 mm (0.008 to 0.020 in.) 

      If the clearance is greater than the standard clearance, replace the center differential carrier.

    Fig 25: Measuring Center Differential Carrier Pinion Gear Thrust Clearance
    G05295882Courtesy of © TOYOTA, LICENSE AGREEMENT TMS1002
  18. REMOVE CENTER DIFFERENTIAL CLUTCH DISC SET 
    1. Using a screwdriver with its tip taped, remove the snap ring from the transfer direct clutch drum.
      Fig 26: Removing Snap Ring From Transfer Direct Clutch Drum
      G05295883Courtesy of © TOYOTA, LICENSE AGREEMENT TMS1002
    2. Remove the 2 center differential clutch disc flanges and center differential clutch disc set from the transfer direct clutch drum.

      HINT:

      • A: Center differential clutch disc flange (No. 1)
      • B: Center differential clutch disc set (Discs)
      • C: Center differential clutch disc set (Plates)
      • D: Center differential clutch disc flange (No.2)
    Fig 27: Identifying Center Differential Clutch Disc Flanges And Center Differential Clutch Disc Set
    G05295884Courtesy of © TOYOTA, LICENSE AGREEMENT TMS1002
  19. INSPECT CENTER DIFFERENTIAL CLUTCH DISC SET 
    1. Check whether the sliding surfaces of the disc and flange are worn or burnt. If necessary, replace them.
      NOTE:
      • If the lining of the disc is peeled off or discolored, or if any part of the printed numbers is damaged, replace all discs.
      • Before assembling new discs, soak them in ATF for at least 15 minutes.
    Fig 28: Identifying Center Differential Clutch Disc Set
    G05295885Courtesy of © TOYOTA, LICENSE AGREEMENT TMS1002
  20. REMOVE CENTER DIFFERENTIAL CLUTCH PRESSURE BALANCER 
    1. Place SST on the center differential clutch pressure balancer, and compress the return spring with a press.

      SST 09350-30020 (09350-07040) 

    2. Using SST, remove the snap ring.

      SST 09350-30020 (09350-07040, 09350-07070) 

      Fig 29: Installing Snap Ring
      G05295886Courtesy of © TOYOTA, LICENSE AGREEMENT TMS1002
    3. Remove the center differential clutch pressure balancer from the transfer direct clutch drum.
    Fig 30: Identifying Center Differential Clutch Pressure Balancer
    G05295887Courtesy of © TOYOTA, LICENSE AGREEMENT TMS1002
  21. REMOVE TRANSFER DIRECT CLUTCH RETURN SPRING ASSEMBLY 
    1. Remove the transfer direct clutch return spring from the transfer direct clutch drum.
    Fig 31: Identifying Transfer Direct Clutch Return Spring
    G05295888Courtesy of © TOYOTA, LICENSE AGREEMENT TMS1002
  22. INSPECT TRANSFER DIRECT CLUTCH RETURN SPRING ASSEMBLY 
    1. Using vernier calipers, measure the free length of the spring together with the spring seat.

      Standard free length: 

      15.2 to 15.8 mm (0.5984 to 0.6220 in.) 

      If the free length is shorter than the standard free length, replace the transfer direct clutch return spring.

    Fig 32: Measuring Free Length Of Spring
    G05295889Courtesy of © TOYOTA, LICENSE AGREEMENT TMS1002
  23. REMOVE CENTER DIFFERENTIAL CLUTCH PISTON 
    1. Install the transfer direct clutch drum to the transfer center support.
      Fig 33: Identifying Transfer Direct Clutch Drum And Transfer Center Support
      G05295890Courtesy of © TOYOTA, LICENSE AGREEMENT TMS1002
    2. While pushing down evenly on the center differential clutch piston, apply air (200 kpa, 2.0 kgf*cm2, 19 psi), at the oil hole on the transfer chain case rear as shown in the illustration, to remove the center differential clutch piston from the transfer direct clutch drum.
    3. Remove the direct clutch drum from the transfer center support.
    Fig 34: Removing Direct Clutch Drum From Transfer Center Support
    G05295891Courtesy of © TOYOTA, LICENSE AGREEMENT TMS1002
  24. REMOVE TRANSFER DIRECT CLUTCH PISTON O-RING 
    1. Remove the 2 O-rings from the center differential clutch piston.
    Fig 35: Identifying Transfer Direct Clutch Piston O-Ring
    G05295892Courtesy of © TOYOTA, LICENSE AGREEMENT TMS1002
  25. INSPECT TRANSFER DIRECT CLUTCH DRUM 
    1. Using a cylinder gauge, measure the inside diameter of the transfer direct clutch drum.

      Standard inside diameter: 

      65.00 to 65.06 mm (2.559 to 2.564 in.) 

      If the inside diameter is greater than the standard inside diameter, replace the transfer direct clutch drum.

    Fig 36: Measuring Inside Diameter Of Transfer Direct Clutch Drum
    G05295893Courtesy of © TOYOTA, LICENSE AGREEMENT TMS1002
  26. REMOVE TRANSFER CENTER SUPPORT 
    1. Remove the 5 bolts and transfer center support.
    2. Remove the 2 screws and 2 O-rings from the transfer chain case rear.
    Fig 37: Locating Bolts And Transfer Center Support
    G05295894Courtesy of © TOYOTA, LICENSE AGREEMENT TMS1002
  27. REMOVE TRANSFER CENTER SUPPORT SEAL RING 
    1. Remove the 2 transfer center support seal rings from the transfer center support.
    Fig 38: Identifying Seal Rings
    G05295895Courtesy of © TOYOTA, LICENSE AGREEMENT TMS1002
  28. INSPECT TRANSFER CENTER SUPPORT 
    1. Using a cylinder gauge, measure the inside diameter of the transfer center support.

      Standard inside diameter: 

      49.9 to 50.1 mm (1.965 to 1.972 in.) 

      If the inside diameter is greater than the standard inside diameter, replace the transfer center support.

    Fig 39: Measuring Inside Diameter Of Transfer Center Support
    G05295896Courtesy of © TOYOTA, LICENSE AGREEMENT TMS1002
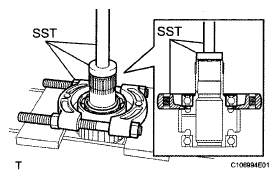
  29. REMOVE TRANSFER DRIVEN SPROCKET BEARING 
    1. Using SST and a press, remove the transfer driven sprocket bearing from the transfer front driven clutch sleeve.

      SST 09950-00020 

      Fig 40: Removing Transfer Driven Sprocket Bearing From Transfer Front Driven Clutch Sleeve
      G05295897Courtesy of © TOYOTA, LICENSE AGREEMENT TMS1002
    2. Using SST and a press, remove the transfer driven sprocket bearing from the transfer front driven clutch sleeve.

      SST 09950-60010 (09951-00530), 09950-70010 (09951-07100) 

    Fig 41: Removing Transfer Driven Sprocket Bearing From Transfer Front Driven Clutch Sleeve Using SST
    G05295898Courtesy of © TOYOTA, LICENSE AGREEMENT TMS1002
  30. REMOVE TRANSFER DRIVE SPROCKET BEARING 
    1. Using SST and a press, remove the transfer drive sprocket bearing from the transfer drive sprocket.

      SST 09950-00020, 09950-70010 (09951-07100), 09950-60010 (09951-00480) 

      Fig 42: Removing Transfer Drive Sprocket Bearing From Transfer Drive Sprocket
      G05295899Courtesy of © TOYOTA, LICENSE AGREEMENT TMS1002
    2. Using SST and a press, remove the transfer drive sprocket bearing from the transfer drive sprocket.

      SST 09950-00020, 09950-70010 (09951-07100), 09950-60010 (09951-00550) 

    Fig 43: Removing Transfer Drive Sprocket Bearing From Transfer Drive Sprocket
    G05295900Courtesy of © TOYOTA, LICENSE AGREEMENT TMS1002
  31. REMOVE TRANSFER CONTROL SOLENOID 
    1. Remove the bolt, solenoid lock plate and transfer control solenoid.
    Fig 44: Locating Bolt, Solenoid Lock Plate And Transfer Control Solenoid
    G05295901Courtesy of © TOYOTA, LICENSE AGREEMENT TMS1002
  32. REMOVE TRANSFER VALVE BODY COVER 
    1. Remove the 6 bolts.
      Fig 45: Locating Bolts
      G05295902Courtesy of © TOYOTA, LICENSE AGREEMENT TMS1002
    2. Remove the transfer valve body cover and transfer valve body plate upper from the transfer upper valve body.
    3. Remove the solenoid oil strainer from the transfer valve body cover.
    Fig 46: Identifying Solenoid Oil Strainer And Transfer Valve Body Cover
    G05295903Courtesy of © TOYOTA, LICENSE AGREEMENT TMS1002
  33. REMOVE TRANSFER SOLENOID MODULATOR VALVE 
    1. While pushing on the transfer modulator valve plug, remove the transfer solenoid modulator valve plug seat from the transfer upper valve body.
      Fig 47: Locating Transfer Solenoid Modulator Valve Plug Seat
      G05295904Courtesy of © TOYOTA, LICENSE AGREEMENT TMS1002
    2. Remove the transfer solenoid modulator valve plug, transfer solenoid modulator valve and low-high shift valve compression spring from the transfer upper valve body.
    Fig 48: Identifying Low-High Shift Valve Compression Spring, Transfer Solenoid Modulator Valve And Valve Plug
    G05295905Courtesy of © TOYOTA, LICENSE AGREEMENT TMS1002
  34. REMOVE CENTER DIFFERENTIAL CLUTCH CONTROL VALVE 
    1. While pushing on the center differential clutch control valve plug, remove the center differential clutch control valve plug seat from the transfer upper valve body.
    2. Remove the center differential clutch control valve plug, center differential clutch control valve, transfer direct clutch modulator valve spring and center differential clutch control valve sleeve from the transfer upper valve body.
    Fig 49: Locating Center Differential Clutch Control Valve Seat
    G05295906Courtesy of © TOYOTA, LICENSE AGREEMENT TMS1002
    Fig 50: Identifying Center Differential Clutch Control Valve
    G05295907Courtesy of © TOYOTA, LICENSE AGREEMENT TMS1002