lemon-mirror:
Home >> Lexus >> 2007 >> GS 430 >> Repair and Diagnosis >> External Pages >> Different car >> Section 11 (Transfer Case) >> Transfer Assembly >> Reassembly

Transfer Assembly: Reassembly

WARNING: This page is about a different car, the 2007 Lexus GS 350. However, it is still accessible from the selected car via links, so may be relevant.
  1. INSTALL CENTER DIFFERENTIAL CLUTCH CONTROL VALVE 
    1. Install the center differential clutch control valve sleeve, transfer direct clutch modulator valve spring, center differential clutch control valve and center differential clutch control valve plug to the transfer upper valve body.
      Fig 1: Identifying Center Differential Clutch Control Valve
      G05295907Courtesy of © TOYOTA, LICENSE AGREEMENT TMS1002
    2. While pushing on the center differential control valve plug, install the center differential clutch control valve seat on the transfer upper valve body.
  2. INSTALL TRANSFER SOLENOID MODULATOR VALVE 
    1. Install the low-high shift valve compression spring, transfer solenoid modulator valve and transfer solenoid modulator valve plug to the transfer upper valve body.
      Fig 2: Locating Center Differential Clutch Control Valve Seat
      G05295906Courtesy of © TOYOTA, LICENSE AGREEMENT TMS1002
      Fig 3: Identifying Low-High Shift Valve Compression Spring, Transfer Solenoid Modulator Valve And Valve Plug
      G05295905Courtesy of © TOYOTA, LICENSE AGREEMENT TMS1002
    2. While pushing on the transfer solenoid modulator valve plug, install the transfer solenoid modulator valve plug seat on the transfer upper valve body.
    Fig 4: Locating Transfer Solenoid Modulator Valve Plug Seat
    G05295904Courtesy of © TOYOTA, LICENSE AGREEMENT TMS1002
  3. INSTALL TRANSFER VALVE BODY COVER 
    1. Install the solenoid oil strainer to the transfer valve body cover.
    2. Install the transfer valve body cover and transfer valve body plate upper to the transfer upper valve body.
      Fig 5: Identifying Transfer Valve Body Cover And Transfer Valve Body Plate Upper
      G05295903Courtesy of © TOYOTA, LICENSE AGREEMENT TMS1002
    3. Install the 6 bolts.

      Torque: 6.4 N*m (65 kgf*cm, 57 in.*lbf) 

      HINT:

      Bolt length:

      • Bolt A: 35 mm (1.38 in.)
      • Bolt B: 20 mm (0.79 in.)
    Fig 6: Locating Bolts
    G05295902Courtesy of © TOYOTA, LICENSE AGREEMENT TMS1002
  4. INSTALL TRANSFER CONTROL SOLENOID 
    1. Install the transfer control solenoid and solenoid lock plate to the transfer upper valve body with the bolt.

      Torque: 6.4 N*m (65 kgf*cm, 57 in.*lbf) 

      HINT:

      Install the solenoid lock plate into the cutout on the transfer control solenoid.

    Fig 7: Installing Solenoid Lock Plate
    G05295914Courtesy of © TOYOTA, LICENSE AGREEMENT TMS1002
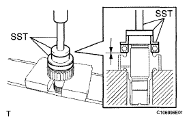
  5. INSTALL TRANSFER DRIVE SPROCKET BEARING 
    1. Using SST and a press, install a new transfer drive sprocket bearing to the transfer drive sprocket.

      SST 09950-70010 (09951-07100), 09950-60010 (09951-00640), 09316-20011 

      Fig 8: Installing Transfer Drive Sprocket Bearing Using SST (1 Of 2)
      G05295915Courtesy of © TOYOTA, LICENSE AGREEMENT TMS1002
    2. Using SST and a press, install a new transfer drive sprocket bearing to the transfer drive sprocket.

      SST 09316-60011 (09316-00011) 

      NOTE: Install the transfer drive sprocket bearing with the shield facing upward.
    Fig 9: Installing Transfer Drive Sprocket Bearing Using SST (2 Of 2)
    G05295916Courtesy of © TOYOTA, LICENSE AGREEMENT TMS1002
  6. INSTALL TRANSFER DRIVEN SPROCKET BEARING 
    1. Using SST and a press, install a new transfer driven sprocket bearing to the transfer front driven clutch sleeve.

      SST 09950-70010 (09951-07100), 09950-60010 (09951-00640), 09316-20011 

      Fig 10: Installing Transfer Driven Sprocket Bearing (1 Of 2)
      G05295917Courtesy of © TOYOTA, LICENSE AGREEMENT TMS1002
    2. Using SST and a press, install a new transfer driven sprocket bearing to the transfer front driven clutch sleeve.

      SST 09316-60011 (09316-00011, 09316-00041) 

    Fig 11: Installing Transfer Driven Sprocket Bearing (2 Of 2)
    G05295918Courtesy of © TOYOTA, LICENSE AGREEMENT TMS1002
  7. INSTALL TRANSFER CENTER SUPPORT SEAL RING 
    1. Coat the 2 seal rings with ATF.
    2. Compress the 2 transfer center support seal rings as shown in the illustration and install them into the grooves on the transfer center support.
      NOTE:
      • Do not expand the ring ends excessively.
      • If any ring is damaged or deformed, replace it with a new one.
    Fig 12: Identifying Transfer Center Support Seal Rings
    G05295919Courtesy of © TOYOTA, LICENSE AGREEMENT TMS1002
  8. INSTALL TRANSFER CENTER SUPPORT 
    1. Install the transfer center support to the transfer chain case rear with the 5 bolts.

      Torque: 26 N*m (260 kgf*cm, 19 ft.*lbf) 

    2. Coat 2 new O-rings with ATF.
    3. Install the 2 O-rings to the screws.
    4. Install the 2 gaskets and 2 screws to the transfer chain case rear.

      Torque: 7.4 N*m (75 kgf*cm, 65 in.*lbf) 

    Fig 13: Locating Bolts And Transfer Center Support
    G05295894Courtesy of © TOYOTA, LICENSE AGREEMENT TMS1002
  9. INSTALL TRANSFER DIRECT CLUTCH PISTON O-RING 
    1. Coat 2 new O-rings with ATF.
    2. Install the 2 O-rings to the transfer direct clutch piston.

      O-ring size: 

      O-RING SPECIFICATIONS

      Installation position Inner diameter mm (In.) Thickness mm (in.)
      Inner 56.45 to 57.45 (2.222 to 2.262) 2.54 to 2.70 (0.100 to 0.106)
      Outer 116.20 to 117.80 (4.575 to 4.638) 3.0 to 3.2 (0.118 to 0.126)
    Fig 14: Identifying Transfer Direct Clutch Piston O-Ring
    G05295892Courtesy of © TOYOTA, LICENSE AGREEMENT TMS1002
  10. INSTALL CENTER DIFFERENTIAL CLUTCH PISTON 
    1. Install the center differential clutch piston to the transfer direct clutch drum.
      NOTE: Do not damage the O-rings.
    Fig 15: Identifying Center Differential Clutch Piston
    G05295922Courtesy of © TOYOTA, LICENSE AGREEMENT TMS1002
  11. INSTALL TRANSFER DIRECT CLUTCH RETURN SPRING 
    1. Install the transfer direct clutch return spring to the transfer direct clutch drum.
    Fig 16: Identifying Transfer Direct Clutch Return Spring
    G05295888Courtesy of © TOYOTA, LICENSE AGREEMENT TMS1002
  12. INSTALL CENTER DIFFERENTIAL CLUTCH PRESSURE BALANCER 
    1. Coat the rubber on the center differential clutch pressure balancer with ATF.
    2. Install the center differential clutch pressure balancer to the transfer direct clutch drum.
      Fig 17: Coating Rubber On Center Differential Clutch Pressure Balancer With ATF
      G05295924Courtesy of © TOYOTA, LICENSE AGREEMENT TMS1002
    3. Place SST on the center differential clutch pressure balancer, and compress the return spring with a press.

      SST 09350-30020 (09350-07040) 

    4. Using SST, install the snap ring.

      SST 09350-30020 (09350-07040, 09350-07070) 

    Fig 18: Installing Snap Ring
    G05295886Courtesy of © TOYOTA, LICENSE AGREEMENT TMS1002
  13. INSTALL CENTER DIFFERENTIAL CLUTCH DISC SET 
    1. Install the 2 center differential clutch disc flanges and center differential clutch disc set to the transfer direct clutch drum.

      HINT:

      • A: Center differential clutch disc flange (No.1)
      • B: Center differential clutch disc set (Discs)
      • C: Center differential clutch disc set (Plates)
      • D: Center differential clutch disc flange (No.2)

      Install in the following order: 

      A - B - C - B - C - B - C - B - C - B - D 

      HINT:

      • A: thickness 2.95 to 3.45 mm (0.116 to 0.136 in.)
      • B: thickness 1.99 to 2.09 mm (0.078 to 0.082 in.)
      • C: thickness 1.95 to 2.05 mm (0.077 to 0.081 in.)
      • D: thickness 2.95 to 3.05 mm (0.116 to 0.120 in.)
      NOTE: Before assembling new discs, soak them in ATF for at least 15 minutes.
      Fig 19: Identifying Center Differential Clutch Disc Set
      G05295926Courtesy of © TOYOTA, LICENSE AGREEMENT TMS1002
    2. Using a screwdriver with its tip taped, install the snap ring to the transfer direct clutch drum.
      Fig 20: Installing Snap Ring
      G05295883Courtesy of © TOYOTA, LICENSE AGREEMENT TMS1002
    3. Install the transfer direct clutch drum to the transfer center support.
      Fig 21: Identifying Transfer Direct Clutch Drum And Transfer Center Support
      G05295928Courtesy of © TOYOTA, LICENSE AGREEMENT TMS1002
    4. Set the dial indicator perpendicular to the flange.
    5. Apply air (200 kpa, 2.0 kgf*cm2, 19 psi) at the oil hole as shown in the illustration. Measure the pack clearance.

      Standard: 

      0.40 to 0.80 mm (0.016 to 0.031 in.) 

      HINT:

      • Check that the piston moves smoothly.
      • Perform the measurement at 2 or 3 points and take the average.
    6. If the clearance is not within the specified range, select another center differential clutch disc flange (No.1).

      Flange thickness: 

      FLANGE THICKNESS CHART

      Thickness mm (in.) Mark
      2.95 to 3.05 (0.116 to 0.120) 90
      3.15 to 3.25 (0.124 to 0.128) 91
      3.35 to 3.45 (0.132 to 0.136) 92
      Fig 22: Measuring Pack Clearance
      G05295929Courtesy of © TOYOTA, LICENSE AGREEMENT TMS1002
      Fig 23: Identifying Clutch Flange Thickness
      G05295930Courtesy of © TOYOTA, LICENSE AGREEMENT TMS1002
    7. Remove the transfer direct clutch drum from the transfer center support.
    Fig 24: Identifying Transfer Direct Clutch Drum And Transfer Center Support
    G05295928Courtesy of © TOYOTA, LICENSE AGREEMENT TMS1002
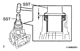
  14. INSTALL TRANSFER REAR OUTPUT SHAFT BEARING 
    1. Install the transfer rear output shaft bearing to the transfer direct clutch drum.
    Fig 25: Identifying Transfer Rear Output Shaft Bearing
    G05295881Courtesy of © TOYOTA, LICENSE AGREEMENT TMS1002
  15. INSTALL TRANSFER REAR OUTPUT SHAFT AND CENTER DIFFERENTIAL CARRIER 
    1. Install the transfer rear output shaft and center differential carrier to the transfer direct clutch drum.
    Fig 26: Identifying Transfer Rear Output Shaft And Center Differential Carrier
    G05295880Courtesy of © TOYOTA, LICENSE AGREEMENT TMS1002
  16. INSTALL TRANSFER CASE FRONT OIL SEAL 
    1. Using SST and a hammer, install a new oil seal.

      SST 09316-60011 (09316-00011, 09316-00071) 

      Oil seal drive in depth: 

      5.6 to 6.2 mm (0.220 to 0.244 in.) 

    2. Apply MP grease to the oil seal lip.
    Fig 27: Installing Transfer Case Front Oil Seal
    G05295934Courtesy of © TOYOTA, LICENSE AGREEMENT TMS1002
  17. INSTALL TRANSFER CHAIN CASE GOVERNOR APPLY GASKET 
    1. Coat 2 new gaskets with ATF.
    2. Install the 2 gaskets to the transfer chain case rear.
      Fig 28: Identifying Gasket
      G05295878Courtesy of © TOYOTA, LICENSE AGREEMENT TMS1002
    3. Coat a new O-ring and 2 new gaskets with ATF.
    4. Install the O-ring to the screw.
    5. Install the 2 gaskets and screw to the transfer chain case front.

      Torque: 7.4 N*m (75 kgf*cm, 65 in.*lbf) 

    Fig 29: Identifying Screw, O-Ring, And Gaskets
    G05295877Courtesy of © TOYOTA, LICENSE AGREEMENT TMS1002
  18. INSTALL TRANSFER BAFFLE VALVE SUB-ASSEMBLY 
    1. Install the transfer baffle valve to the transfer chain case rear with the bolt.

      Torque: 9.8 N*m (100 kgf*cm, 87 in.*lbf) 

    Fig 30: Locating Bolt And Transfer Baffle Valve
    G05295876Courtesy of © TOYOTA, LICENSE AGREEMENT TMS1002
  19. INSTALL TRANSFER CASE BEARING 
    1. Using SST and a press, install the transfer case bearing to the transfer case.

      SST 09950-60020 (09951-00890), 09950-70010 (09951-07150) 

      Bearing drive in depth: 

      94.6 to 94.9 mm (3.724 to 3.736 in.) 

    Fig 31: Installing Transfer Case Bearing
    G05295938Courtesy of © TOYOTA, LICENSE AGREEMENT TMS1002
  20. INSTALL TRANSFER CASE REAR OIL SEAL 
    1. Using SST and a hammer, install a new oil seal.

      SST 09325-40010 

      Oil seal drive in depth: 

      2.3 to 2.7 mm (0.091 to 0.106 in.) 

    2. Apply MP grease to the oil seal lip.
      Fig 32: Installing Transfer Case Rear Oil Seal Using SST And Hammer
      G05295939Courtesy of © TOYOTA, LICENSE AGREEMENT TMS1002
    3. Install the clamp to the transfer case with the bolt.

      Torque: 5.4 N*m (55 kgf*cm, 48 in.*lbf) 

    Fig 33: Locating Bolt And Clamp
    G05295874Courtesy of © TOYOTA, LICENSE AGREEMENT TMS1002
  21. INSTALL TRANSFER EXTENSION HOUSING DUST DEFLECTOR 
    1. Using SST and a press, install a new transfer extension housing dust deflector to the transfer case.

      SST 09950-70010 (09951-07150), 09950-60020 (09951-00910) 

    Fig 34: Installing Transfer Extension Housing Dust Deflector
    G05295941Courtesy of © TOYOTA, LICENSE AGREEMENT TMS1002
  22. INSTALL TRANSFER CHAIN CASE FRONT 
    1. Remove all residual FIPG material from the contacting surfaces using gasoline or alcohol.
    2. Apply seal packing to the transfer chain case front as shown in the illustration.

      Seal packing: 

      Part No. 08826-00090, THREE BOND 1281 or equivalent 

      Fig 35: Applying Seal Packing To Front Transfer Chain Case
      G05295942Courtesy of © TOYOTA, LICENSE AGREEMENT TMS1002
    3. Temporarily tighten the 6 bolts in several steps, and then tighten to the specified torque.

      Torque: 34 N*m (345 kgf*cm, 25 ft.*lbf) 

      HINT:

      Bolt length:

      • Bolt A: 57 mm (2.24 in.)
      • Bolt B: 74 mm (2.91 in.)
      • Other bolts: 45 mm (1.77 in.)
    Fig 36: Locating Bolts
    G05295943Courtesy of © TOYOTA, LICENSE AGREEMENT TMS1002
  23. INSTALL TRANSFER FRONT DRIVE CHAIN, TRANSFER DRIVE SPROCKET ASSEMBLY AND TRANSFER FRONT DRIVEN CLUTCH SLEEVE ASSEMBLY 
    1. Install the transfer front drive chain to the transfer drive sprocket and transfer front driven clutch sleeve.
    2. Install the transfer front drive chain, transfer drive sprocket and transfer front drive clutch sleeve.
    Fig 37: Installing Transfer Front Drive Chain
    G05295871Courtesy of © TOYOTA, LICENSE AGREEMENT TMS1002
  24. INSTALL TRANSFER CHAIN CASE REAR 
    1. Remove all residual FIPG material from the contacting surfaces using gasoline or alcohol.
    2. Apply seal packing to the transfer chain case front as shown in the illustration.

      Seal packing: 

      Part No. 08826-00090, THREE BOND 1281 or equivalent 

      Fig 38: Applying Seal Packing To Transfer Chain Case Front
      G05295945Courtesy of © TOYOTA, LICENSE AGREEMENT TMS1002
    3. Temporarily tighten the 10 bolts in several steps, and then tighten to the specified torque.

      Torque: 34 N*m (345 kgf*cm, 25 ft.*lbf) 

      HINT:

      Bolt length:

      • Bolt A: 60 mm (2.36 in.)
      • Bolt B: 50 mm (1.97 in.)
      • Bolt C: 109 mm (4.29 in.)
      • Other bolts: 40 mm (1.57 in.)
    Fig 39: Locating Bolts
    G05295946Courtesy of © TOYOTA, LICENSE AGREEMENT TMS1002
  25. INSTALL FLANGE YOKE 
    1. Install the flange yoke.
    2. Using SST, hold the yoke.

      SST 09213-54015, 09330-00021 

    3. Using a deep socket wrench (30 mm), torque the nut.

      Torque: 123 N*m (1,254 kgf*cm, 91 ft.*lbf) 

    4. Using a chisel and hammer, stake the nut.
    Fig 40: Holding Yoke Using SST
    G05295947Courtesy of © TOYOTA, LICENSE AGREEMENT TMS1002
  26. INSTALL TRANSFER REAR OUTPUT SHAFT ASSEMBLY 
    1. Install the transfer rear output shaft.
    Fig 41: Installing Transfer Rear Output Shaft
    G05295866Courtesy of © TOYOTA, LICENSE AGREEMENT TMS1002
  27. INSTALL TRANSFER CASE 
    1. Remove all residual FIPG material from the contacting surfaces using gasoline or alcohol.
    2. Apply seal packing to the transfer chain case front as shown in the illustration.

      Seal packing: 

      Part No. 08826-00090, THREE BOND 1281 or equivalent 

      Fig 42: Applying Seal Packing To Transfer Chain Case Front
      G05295949Courtesy of © TOYOTA, LICENSE AGREEMENT TMS1002
    3. Temporarily tighten the 8 bolts and clamp in several steps, and then tighten to the specified torque.

      Torque: 34 N*m (345 kgf*cm, 25 ft.*lbf) 

      HINT:

      Bolt length:

      • Bolt A: 88 mm (3.46 in.)
      • Bolt B: 40 mm (1.57 in.)
    Fig 43: Locating Bolts And Clamp
    G05295864Courtesy of © TOYOTA, LICENSE AGREEMENT TMS1002
  28. INSTALL TRANSFER VALVE BODY ASSEMBLY 
    1. Coat the transfer wire O-ring with ATF.
      Fig 44: Identifying O-Ring
      G05295951Courtesy of © TOYOTA, LICENSE AGREEMENT TMS1002
    2. Install the transfer wire with the bolt.

      Torque: 5.4 N*m (55 kgf*cm, 48 in.*lbf) 

      Fig 45: Locating Transfer Wire With Bolt
      G05295862Courtesy of © TOYOTA, LICENSE AGREEMENT TMS1002
    3. Connect the transfer wire connector to the transfer control solenoid.
    4. Install the transfer valve body assembly with the 4 bolts.

      Torque: 9.8 N*m (100 kgf*cm, 87 in.*lbf) 

    Fig 46: Locating Bolts And Transfer Valve Body Assembly
    G05295861Courtesy of © TOYOTA, LICENSE AGREEMENT TMS1002
  29. INSTALL TRANSFER OIL PAN 
    1. Install the transfer oil cleaner magnet to the transfer oil pan.
      Fig 47: Identifying Transfer Oil Cleaner Magnet
      G05295954Courtesy of © TOYOTA, LICENSE AGREEMENT TMS1002
    2. Remove all residual FIPG material from the contacting surfaces using gasoline or alcohol.
    3. Apply seal packing to the transfer chain case front as shown in the illustration.

      Seal packing: 

      Part No. 08826-00090, THREE BOND 1281 or equivalent 

      Fig 48: Applying Seal Packing To Transfer Chain Case Front
      G05295955Courtesy of © TOYOTA, LICENSE AGREEMENT TMS1002
    4. Temporarily tighten the 9 bolts in several steps, and then tighten to the specified torque.
      Fig 49: Locating Bolts
      G05295858Courtesy of © TOYOTA, LICENSE AGREEMENT TMS1002

      Torque: 7.4 N*m (75 kgf*cm, 65 in.*lbf)