lemon-mirror:
Home >> Lexus >> 2007 >> GS 430 >> Repair and Diagnosis >> Suspension >> Suspension Control Systems >> Suspension Control >> Front Acceleration Sensor >> Removal

Front Acceleration Sensor: Removal

NOTE:
  • Do not drop the acceleration sensor. If it is dropped, replace it with a new one.
  • The acceleration sensor removed from the vehicle must not be placed upside down.
  1. DISCONNECT CABLE FROM NEGATIVE BATTERY TERMINAL 
    CAUTION: Wait at least 90 seconds after disconnecting the cable from the negative (-) battery terminal to prevent airbag and seat belt pretensioner activation.
  2. REMOVE FRONT DOOR SCUFF PLATE LH (See  REMOVAL  ) 
  3. REMOVE NO. 1 INSTRUMENT PANEL UNDER COVER SUB-ASSEMBLY (See  REMOVAL  ) 
  4. REMOVE FRONT DOOR OPENING TRIM COVER LH (See  REMOVAL  ) 
  5. REMOVE FRONT ACCELERATION SENSOR ASSEMBLY 
    1. Disconnect the sensor connector.
    2. Remove the nut and acceleration sensor.
      Fig 1: Locating Acceleration Sensor Assembly
      G05296517Courtesy of © TOYOTA, LICENSE AGREEMENT TMS1002
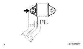
  6. REMOVE FRONT ACCELERATION SENSOR 
    1. Remove the nut and sensor from the bracket.
      Fig 2: Locating Acceleration Sensor
      G05296518Courtesy of © TOYOTA, LICENSE AGREEMENT TMS1002