lemon-mirror:
Home >> Lexus >> 2007 >> GS 450h >> Repair and Diagnosis >> Body & Frame >> Windows >> Windshield/WINDOWGLASS >> Windshield Glass >> Removal

Windshield Glass: Removal

  1. DISCONNECT CABLE FROM NEGATIVE BATTERY TERMINAL 
    CAUTION: Wait at least 90 seconds after disconnecting the cable from the negative (-) battery terminal to prevent airbag and seat belt pretensioner activation.
  2. REMOVE COOL AIR INTAKE DUCT SEAL  (See REMOVAL )
  3. REMOVE ENGINE ROOM SIDE COVER LH  (See REMOVAL )
  4. REMOVE FRONT FENDER TO COWL SIDE SEAL LH  (See REMOVAL )
  5. REMOVE FRONT FENDER TO COWL SIDE SEAL RH  (See REMOVAL )
  6. REMOVE FRONT WIPER ARM LH  (See REMOVAL )
  7. REMOVE FRONT WIPER ARM RH  (See REMOVAL )
  8. REMOVE COWL TOP VENTILATOR LOUVER SUB-ASSEMBLY  (See REMOVAL )
  9. REMOVE ROOF DRIP SIDE FINISH MOULDING CENTER LH  (See REMOVAL )
  10. REMOVE ROOF DRIP SIDE FINISH MOULDING CENTER RH  (See REMOVAL )
  11. REMOVE FRONT DOOR SCUFF PLATE LH  (See REMOVAL )
  12. REMOVE FRONT DOOR SCUFF PLATE RH  (See REMOVAL )
  13. REMOVE FRONT DOOR OPENING TRIM COVER LH  (See REMOVAL )
  14. REMOVE FRONT DOOR OPENING TRIM COVER RH  (See REMOVAL )
  15. REMOVE FRONT PILLAR GARNISH LH  (See REMOVAL )
  16. REMOVE FRONT PILLAR GARNISH RH  (See REMOVAL )
  17. REMOVE VISOR BRACKET COVER  (See REMOVAL )
  18. REMOVE VISOR ASSEMBLY LH  (See REMOVAL )
  19. REMOVE VISOR ASSEMBLY RH  (See REMOVAL )
  20. REMOVE VISOR HOLDER  (See REMOVAL )
  21. REMOVE FRONT ROOF TOP GARNISH  (See REMOVAL )
  22. REMOVE INNER REAR MIRROR COVER  (See REMOVAL )
  23. REMOVE MAP LIGHT ASSEMBLY  (See REMOVAL )
  24. REMOVE STEERING SPOT LIGHT ASSEMBLY  (See REMOVAL )
  25. REMOVE VANITY LIGHT ASSEMBLY  (see REMOVAL )
  26. REMOVE ASSIST GRIP ASSEMBLY  (See REMOVAL )
  27. REMOVE ROOF HEADLINING ASSEMBLY 

    HINT:

    It is not necessary to completely remove the roof headlining. Slightly lower the front section of the roof headlining so that the windshield glass can be removed (See REMOVAL ).

  28. REMOVE INNER REAR VIEW MIRROR ASSEMBLY  (See REMOVAL )
  29. REMOVE RAIN SENSOR (w/ RAIN SENSOR)  (See REMOVAL )
  30. REMOVE WINDSHIELD GLASS 
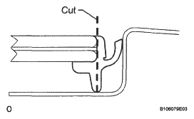
    1. Using a knife, cut off the moulding as shown in the illustration.
      NOTE: Be careful not to damage the vehicle body.
    2. Remove the remaining moulding.

      HINT:

      Make a partial cut in the moulding. Then pull and remove it by hand.

      Fig 1: Identifying Moulding Cut Line
      G05315022Courtesy of © TOYOTA, LICENSE AGREEMENT TMS1002
    3. Apply protective tape to the outer surface of the vehicle body to prevent scratches.
    4. From the interior, insert a piano wire between the vehicle body and glass as shown in the illustration.
    5. Tie objects that can serve as handles (for example, wooden blocks) to both wire ends.
      NOTE:
      • When separating the glass from the vehicle, be careful not to damage the vehicle's paint or interior / exterior ornaments.
      • To prevent the instrument panel from being scratched when removing the glass, place a plastic sheet between the piano wire and instrument panel.
        Fig 2: Cutting Through Adhesive
        G05315023Courtesy of © TOYOTA, LICENSE AGREEMENT TMS1002
    6. Place matchmarks over the glass and vehicle body on the locations indicated in the illustration.

      HINT:

      Matchmarks do not need to be placed if not reusing the glass.

      Fig 3: Placing Matchmarks Over Glass And Vehicle Body
      G05300215Courtesy of © TOYOTA, LICENSE AGREEMENT TMS1002
    7. Cut through the adhesive by pulling the piano wire around the glass.
      NOTE: Leave as much adhesive on the vehicle body as possible when removing the glass.
    8. Detach the stoppers.
    9. Using suction cups, remove the glass.
  31. REMOVE WINDSHIELD GLASS STOPPER 
    1. Using a scraper, remove the damaged spacer.
  32. REMOVE WINDSHIELD GLASS RETAINER 
    1. Using a scraper, remove the damaged retainer.
  33. REMOVE WINDSHIELD GLASS ADHESIVE DAM 
    1. Using a scraper, remove the damaged dam.
  34. CLEAN WINDSHIELD GLASS 
    1. Using a scraper, remove the adhesive sticking to the glass.
    2. Clean the outer edges of the glass with a non-residue solvent.
      NOTE:
      • Do not touch the glass surface after cleaning it.
      • Even if using new glass, clean it a non-residue solvent.
      Fig 4: Cleaning Windshield Glass
      G05300216Courtesy of © TOYOTA, LICENSE AGREEMENT TMS1002
  35. REMOVE NO. 1 WINDSHIELD GLASS STOPPER 
    1. Remove the stopper from the vehicle body.
  36. CLEAN VEHICLE BODY 
    1. Clean and shape the contact surface of the vehicle body.
      1. On the contact surface of the vehicle body, use a knife to cut away excess adhesive as shown in the illustration.
        NOTE: Be careful not to damage the vehicle body.

        HINT:

        Leave as much adhesive on the vehicle body as possible.

        Fig 5: Cutting Away Excess Adhesive
        G05315026Courtesy of © TOYOTA, LICENSE AGREEMENT TMS1002
      2. Clean the contact surface of the vehicle body with cleaner.

        HINT:

        Even if all the adhesive has been removed, clean the vehicle body.