lemon-mirror:
Home >> Lexus >> 2007 >> GS 450h >> Repair and Diagnosis >> Electrical >> Starter >> Starting >> Smart Access System With Push-Button Start >> Power Source Mode does not Change >> Description

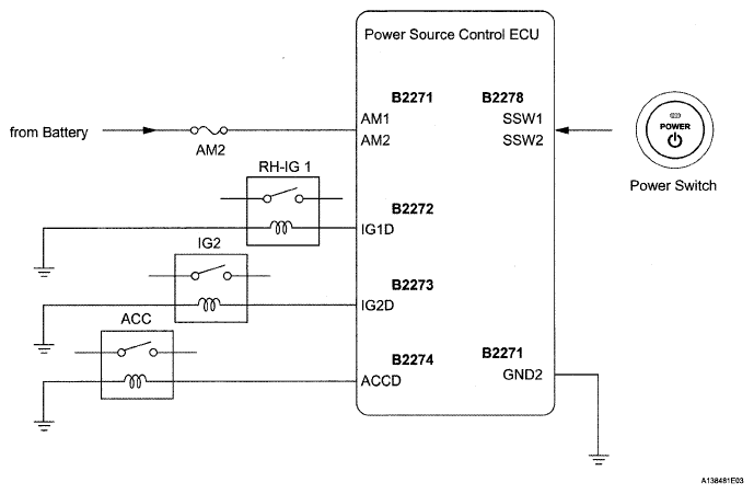
Power Source Mode does not Change: Description

If the certification ECU detects the key inside the vehicle when the shift lever position is P and the brake pedal is not depressed, each press of the power switch changes the power source mode in the following order: OFF, ON (ACC), ON (IG), OFF. If one of the DTCs shown in the following illustration is detected, correct the DTCs according to the DTC chart. If the power source mode is still malfunctioning, one of the following may have occurred: 1) the MPX circuit has a malfunction, 2) the certification ECU has determined that the key is not inside the vehicle, 3) the power switch has a malfunction, or 4) the power source control ECU has a malfunction.

Fig 1: Power Source Mode - Wiring Diagram
G05303650Courtesy of © TOYOTA, LICENSE AGREEMENT TMS1002