lemon-mirror:
Home >> Lexus >> 2007 >> GS 450h >> Repair and Diagnosis >> Engine Performance >> Fuel Delivery >> Fuel >> Fuel Pressure Sensor >> Installation

Fuel Pressure Sensor: Installation

  1. INSTALL FUEL PRESSURE SENSOR 
    1. Install a new gasket to the fuel pressure sensor.
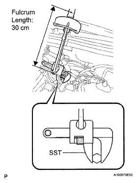
    2. Using SST, install the fuel pressure sensor to the No. 1 delivery pipe.

      SST 09922-10010 

      Torque: 24 N*m (240 kgf*cm, 18 ft.*lbf) for use with SST 

      31 N*m (316 kgf*cm, 23 ft.*lbf) for use without SST 

      HINT:

      • The torque for use with SST is the torque when SST is used at the position shown in the illustration.
      • Make sure SST and wrench are connected in a straight line.
        Fig 1: Identifying Fulcrum Length
        G05303206Courtesy of © TOYOTA, LICENSE AGREEMENT TMS1002
    3. Connect the connector with the clamp.
      Fig 2: Locating Connector With Clamp
      G05286990Courtesy of © TOYOTA, LICENSE AGREEMENT TMS1002
  2. INSTALL NO. 1 FUEL PIPE (See  INSTALLATION   ) 
  3. CONNECT WATER HOSE JOINT (See  INSTALLATION   ) 
  4. INSTALL INTAKE MANIFOLD (See  INSTALLATION   ) 
  5. INSTALL INTAKE AIR SURGE TANK (See  INSTALLATION   ) 
  6. INSTALL THROTTLE BODY WITH MOTOR ASSEMBLY  (See INSPECTION )
  7. INSTALL AIR CLEANER CAP WITH AIR CLEANER HOSE  (See INSTALLATION )
  8. CONNECT NO. 2 VENTILATION HOSE  (See INSTALLATION )
  9. INSTALL COWL TOP VENTILATOR LOUVER SUB-ASSEMBLY  (See INSTALLATION )
  10. INSTALL FRONT WIPER ARM AND BLADE ASSEMBLY LH  (See INSTALLATION )
  11. INSTALL FRONT WIPER ARM AND BLADE ASSEMBLY RH  (See INSTALLATION )
  12. INSTALL FRONT FENDER TO COWL SIDE SEAL LH  (See INSTALLATION )
  13. INSTALL FRONT FENDER TO COWL SIDE SEAL RH  (See INSTALLATION )
  14. INSTALL FRONT UPPER FENDER PROTECTOR LH  (See INSTALLATION )
  15. INSTALL FRONT UPPER FENDER PROTECTOR RH  (See INSTALLATION )
  16. CONNECT CABLE TO NEGATIVE BATTERY TERMINAL 
  17. REMOVE SERVICE PLUG GRIP  (See INSTALLATION )
  18. ADD ENGINE COOLANT  (See REPLACEMENT )
  19. CHECK FOR ENGINE COOLANT LEAKAGE  (See REPLACEMENT )
  20. CHECK FOR FUEL LEAKAGE (See  ON-VEHICLE INSPECTION   ) 
  21. INSTALL V-BANK COVER SUB-ASSEMBLY  (See INSTALLATION )
  22. INSTALL ENGINE ROOM SIDE COVER LH  (See INSTALLATION )
  23. INSTALL ENGINE ROOM SIDE COVER RH  (See INSTALLATION )
  24. INSTALL COOL AIR INTAKE DUCT SEAL  (See INSTALLATION )
  25. CHECK FUNCTION OF THROTTLE BODY WITH MOTOR ASSEMBLY  (See ON-VEHICLE INSPECTION )
  26. PERFORM INITIALIZATION 
    1. Perform initialization (see INITIALIZATION (2006/02-2006/07) ).
      NOTE: Certain systems need to be initialized after reconnecting the cable to the negative (-) battery terminal.