lemon-mirror:
Home >> Lexus >> 2007 >> GS 450h >> Repair and Diagnosis >> Engine Performance >> Fuel Delivery >> Fuel >> Fuel Pump Resistor >> Inspection

Fuel Pump Resistor: Inspection

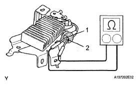
  1. INSPECT FUEL PUMP RESISTOR 
    1. Measure the resistance of the resistor.

      Standard resistance 

      RESISTANCE REFERENCE

      Tester Connection Condition Specified Condition
      1 - 2 20°C (68°F) 0.30 to 0.34 Ω

      If the result is not as specified, replace the fuel pump resistor.

      Fig 1: Inspecting Fuel Pump Resistor
      G05303274Courtesy of © TOYOTA, LICENSE AGREEMENT TMS1002