lemon-mirror:
Home >> Lexus >> 2007 >> GS 450h >> Repair and Diagnosis >> Engine Performance >> Fuel Delivery >> Fuel >> Fuel Tank >> Installation

Fuel Tank: Installation

  1. INSTALL FUEL TANK CUSHION 
    1. Install the tank cushion and tank protector.
      Fig 1: Identifying Tank Cushion And Tank Protector
      G05303311Courtesy of © TOYOTA, LICENSE AGREEMENT TMS1002
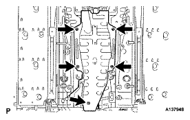
    2. Install the 11 tank cushions.
      Fig 2: Identifying Tank Cushions
      G05303310Courtesy of © TOYOTA, LICENSE AGREEMENT TMS1002
  2. INSTALL FUEL TANK VENT HOSE SUB-ASSEMBLY 
    1. Install the vent hose to the fuel tank.

      HINT:

      Push the parts together firmly until a "click" sound is heard.

      NOTE:
      • Before installing the tube connectors to the pipes, check if there is any damage or foreign matter in the connectors.
      • After the connection, check if the connectors and pipes are securely connected by trying to pull them apart.
        Fig 3: Identifying Vent Hose To Fuel Tank
        G05303314Courtesy of © TOYOTA, LICENSE AGREEMENT TMS1002
  3. INSTALL FUEL TANK MAIN TUBE SUB-ASSEMBLY 
    1. Attach the 2 claws to the claw holes and install a new edge protector.
      Fig 4: Installing Edge Protector
      G05303315Courtesy of © TOYOTA, LICENSE AGREEMENT TMS1002
    2. Install the clamp, fuel tank main tube and return tube.
      Fig 5: Locating Fuel Tank Main Tube, Clamp And Return Tube
      G05303307Courtesy of © TOYOTA, LICENSE AGREEMENT TMS1002
  4. INSTALL FUEL TANK TO CANISTER TUBE SUB-ASSEMBLY 
    1. Install a new gasket and the canister tube with the 4 screws.

      Torque: 1.5 N*m (15 kgf*cm, 13 in.*lbf) 

      Fig 6: Locating Canister Tube With Screws
      G05303306Courtesy of © TOYOTA, LICENSE AGREEMENT TMS1002
  5. INSTALL FUEL TANK WIRE 
    1. Install the tank wire with the 7 clamps.
      Fig 7: Locating Tank Wire With Clamps
      G05303305Courtesy of © TOYOTA, LICENSE AGREEMENT TMS1002
  6. INSTALL FUEL TANK VENT TUBE SET PLATE  (See INSTALLATION )
  7. INSTALL FUEL TANK PRESSURE SENSOR  (See INSTALLATION )
  8. INSTALL NO. 3 FUEL TANK PROTECTOR  (See INSTALLATION )
  9. INSTALL FUEL TANK SUB-ASSEMBLY 
    1. Set the fuel tank on a mission jack and raise the fuel tank.
    2. Install the clamp, and connect the fuel filler pipe to the fuel tank.
      Fig 8: Installing Clamp
      G05303319Courtesy of © TOYOTA, LICENSE AGREEMENT TMS1002
      NOTE:
      • Insert the filler pipe into the fuel tank with their axes aligned. If not aligned, the insertion load increases.
      • Do not twist or forcefully insert the filler pipe.
      • After securely inserting the filler pipe into the fuel tank, attach the clamp. At this time, securely insert the clamp into the slit.
    3. Raise the mission jack.
      Fig 9: Identifying Filler Pipe Into Fuel Tank
      G05303320Courtesy of © TOYOTA, LICENSE AGREEMENT TMS1002
    4. Install the 2 fuel tank bands with the 4 bolts.

      Torque: 39 N*m (400 kgf*cm, 29 ft.*lbf) 

      Fig 10: Locating Fuel Tank Bands
      G05303303Courtesy of © TOYOTA, LICENSE AGREEMENT TMS1002
    5. Tighten the 2 fuel filler pipe bolts.

      Torque: 18 N*m (184 kgf*cm, 13 ft.*lbf) 

      Fig 11: Locating Fuel Filler Pipe Bolts
      G05303302Courtesy of © TOYOTA, LICENSE AGREEMENT TMS1002
  10. CONNECT FUEL TANK WIRE 
    1. Connect the fuel vapor containment valve connector and 2 clamps.
      Fig 12: Locating Fuel Vapor Containment Valve Connector And Clamps
      G05303301Courtesy of © TOYOTA, LICENSE AGREEMENT TMS1002
  11. CONNECT FUEL TANK TO CANISTER TUBE SUB-ASSEMBLY 
    1. Connect the canister tube and install the clamp.

      HINT:

      Push the parts together firmly until a "click" sound is heard.

      NOTE:
      • Before installing the tube connectors to the pipes, check if there is any damage or foreign matter in the connectors.
      • After the connection, check if the connectors and pipes are securely connected by trying to pull them apart.
        Fig 13: Locating Canister Tube And Clamp
        G05303324Courtesy of © TOYOTA, LICENSE AGREEMENT TMS1002
  12. CONNECT FUEL TANK VENT HOSE SUB-ASSEMBLY 
    1. Connect the fuel tank vent hose and install the clamp.

      HINT:

      Push the parts together firmly until a "click" sound is heard.

      NOTE:
      • Before installing the tube connectors to the pipes, check if there is any damage or foreign matter in the connectors.
      • After the connection, check if the connectors and pipes are securely connected by trying to pull them apart.
        Fig 14: Locating Fuel Tank Vent Hose And Clamp
        G05303325Courtesy of © TOYOTA, LICENSE AGREEMENT TMS1002
  13. CONNECT FUEL TANK MAIN TUBE SUB-ASSEMBLY 
    1. Connect the fuel tank main tube (LH).

      HINT:

      Push the parts together firmly until a "click" sound is heard.

      NOTE:
      • Before installing the tube connectors to the pipes, check if there is any damage or foreign matter in the connectors.
      • After the connection, check if the connectors and pipes are securely connected by trying to pull them apart.
        Fig 15: Connecting Fuel Tank Main Tube (LH)
        G05303326Courtesy of © TOYOTA, LICENSE AGREEMENT TMS1002
    2. Connect the fuel tank main tube (RH).

      HINT:

      Push the parts together firmly until a "click" sound is heard.

      NOTE:
      • Before installing the tube connectors to the pipes, check if there is any damage or foreign matter in the connectors.
      • After the connection, check if the connectors and pipes are securely connected by trying to pull them apart.
        Fig 16: Connecting Fuel Tank Main Tube (RH)
        G05303327Courtesy of © TOYOTA, LICENSE AGREEMENT TMS1002
  14. CONNECT FUEL TANK RETURN VENT TUBE 
    1. Connect the fuel return vent tube and install the retainer.

      HINT:

      Push the parts together firmly until a "click" sound is heard.

      NOTE:
      • Before installing the tube connectors to the pipes, check if there is any damage or foreign matter in the connectors.
      • After the connection, check if the connectors and pipes are securely connected by trying to pull them apart.
        Fig 17: Locating Fuel Return Vent Tube And Retainer
        G05303328Courtesy of © TOYOTA, LICENSE AGREEMENT TMS1002
  15. CONNECT PARKING BRAKE CABLE ASSEMBLY 
    1. Connect the 2 parking brake cables to the parking brake equalizer.
    2. Install the 2 parking brake cables with the 4 bolts.

      Torque: 6.0 N*m (61 kgf*cm, 53 in.*lbf) for bolt A 

      19 N*m (193 kgf*cm, 14 ft.*lbf) for bolt B 

    3. Attach the 2 parking brake cables to the 4 clamps.
      Fig 18: Connecting Parking Brake Cables
      G05303329Courtesy of © TOYOTA, LICENSE AGREEMENT TMS1002
  16. INSTALL REAR SUSPENSION MEMBER BRACE RH 
    1. Install the suspension member brace with the 4 bolts.

      Torque: 19 N*m (193 kgf*cm, 14 ft.*lbf) 

      Fig 19: Locating Suspension Member Brace With Bolts
      G05303294Courtesy of © TOYOTA, LICENSE AGREEMENT TMS1002
  17. INSTALL REAR SUSPENSION MEMBER BRACE LH 
    1. Install the suspension member brace with the 4 bolts.

      Torque: 19 N*m (193 kgf*cm, 14 ft.*lbf) 

      Fig 20: Locating Suspension Member Brace And Bolts (LH)
      G05303293Courtesy of © TOYOTA, LICENSE AGREEMENT TMS1002
  18. INSTALL REAR FLOOR SIDE MEMBER COVER LH 
    1. Install the member cover with the 3 bolts.
      Fig 21: Locating Bolts And Member Cover (LH)
      G05303291Courtesy of © TOYOTA, LICENSE AGREEMENT TMS1002
  19. INSTALL REAR FLOOR SIDE MEMBER COVER RH 
    1. Install the member cover with the 3 bolts.
      Fig 22: Locating Bolts And Member Cover (RH)
      G05303292Courtesy of © TOYOTA, LICENSE AGREEMENT TMS1002
  20. INSTALL NO. 1 DIFFERENTIAL SUPPORT PROTECTOR 
    1. Install the differential supporter with the 2 nuts.
      Fig 23: Identifying Differential Supporter With Nuts
      G05287075Courtesy of © TOYOTA, LICENSE AGREEMENT TMS1002
  21. INSTALL NO. 2 DIFFERENTIAL SUPPORT PROTECTOR 
    1. Install the differential supporter with the 2 nuts.
  22. INSTALL PROPELLER WITH CENTER BEARING SHAFT ASSEMBLY  (See INSTALLATION )
  23. FULLY TIGHTEN NO. 1 CENTER SUPPORT BEARING ASSEMBLY  (See INSTALLATION )
  24. ADJUST NO. 2 AND NO. 3 JOINT ANGLE  (See INSTALLATION )
  25. INSTALL OUTSIDE AIR GUIDE PLATE RH 
    1. Install the plate with the 4 nuts.

      Torque: 5.4 N*m (55 kgf*cm, 48 in.*lbf) 

      Fig 24: Identifying Outside Air Guide Plate RH With 4 Nuts
      G05295991Courtesy of © TOYOTA, LICENSE AGREEMENT TMS1002
  26. INSTALL FRONT FLOOR NO. 1 HEAT INSULATOR 
    1. Install the heat insulator with the 5 nuts.

      Torque: 5.4 N*m (55 kgf*cm, 48 in.*lbf) 

      Fig 25: Locating Heat Insulator And Nuts
      G05303288Courtesy of © TOYOTA, LICENSE AGREEMENT TMS1002
  27. INSTALL FRONT FLOOR COVER CENTER LH 
    1. Install the floor cover center with the 3 nuts.
      Fig 26: Locating Floor Cover Center With Nuts
      G05303337Courtesy of © TOYOTA, LICENSE AGREEMENT TMS1002
  28. INSTALL FRONT FLOOR COVER CENTER RH 
    1. Install the floor cover center with the 3 nuts.
      Fig 27: Locating Floor Cover Center With Nuts
      G05303286Courtesy of © TOYOTA, LICENSE AGREEMENT TMS1002
  29. INSTALL EXHAUST PIPE ASSEMBLY 
    1. Install the exhaust pipe (see INSTALLATION ).
  30. INSTALL FUEL SENDER GAUGE ASSEMBLY 
    1. Install the sender gauge with the 5 screws.

      Torque: 1.5 N*m (15 kgf*cm, 13 in.*lbf) 

      Fig 28: Identifying Fuel Sender Gauge Assembly
      G05303285Courtesy of © TOYOTA, LICENSE AGREEMENT TMS1002
  31. INSTALL REAR FLOOR SERVICE HOLE COVER 
    1. Connect the fuel sender gauge connector.
    2. Install the service hole cover with new butyl tape.
      Fig 29: Locating Rear Floor Service Hole Cover
      G05303284Courtesy of © TOYOTA, LICENSE AGREEMENT TMS1002
  32. INSTALL FUEL SUCTION WITH PUMP AND GAUGE TUBE ASSEMBLY 
    1. Apply a light coat of gasoline to a new gasket, and install it to the fuel tank.
    2. Connect the fuel hose, and set the fuel suction with pump and gauge.
      NOTE:
      • Be careful not to bend the arm of the fuel sender gauge.
      • When connecting the fuel hose, do not forcibly pull the hose.
        Fig 30: Locating Fuel Hose With Clip
        G05303283Courtesy of © TOYOTA, LICENSE AGREEMENT TMS1002
    3. Install the set plate with the 8 bolts.

      Torque: 6.0 N*m (61 kgf*cm, 53 in.*lbf) 

      HINT:

      Align the protrusion of the set plate with the cutout of the fuel suction pump and gauge.

      Fig 31: Identifying Set Plate With Bolts
      G05303342Courtesy of © TOYOTA, LICENSE AGREEMENT TMS1002
    4. Install the 2 fuel tank tubes with the 2 tube joint clips.
      Fig 32: Locating Fuel Tank Tubes With Tube Joint Clips
      G05303343Courtesy of © TOYOTA, LICENSE AGREEMENT TMS1002
      NOTE:
      • Check that there are no scratches or foreign objects on the connecting parts.
      • Check that the fuel tube joint is inserted securely.
      • Check that the tube joint clips are on the collars of the fuel tube joints.
      • After installing the tube joint clips, check that the fuel tube joints have not been pulled off.
        Fig 33: Identifying Correct And Incorrect Position Of Collars
        G05303344Courtesy of © TOYOTA, LICENSE AGREEMENT TMS1002
  33. INSTALL REAR FLOOR NO. 2 SERVICE HOLE COVER 
    1. Connect the 2 connectors.
    2. Install the service hole cover with new butyl tape.
      Fig 34: Locating Rear Floor No. 2 Service Hole Cover
      G05303280Courtesy of © TOYOTA, LICENSE AGREEMENT TMS1002
  34. INSTALL ROOM NO. 3 PARTITION PAD 
    1. Install the partition pad with the clip.
      Fig 35: Identifying Partition Pad With Clip
      G05287239Courtesy of © TOYOTA, LICENSE AGREEMENT TMS1002
  35. INSTALL REAR SEAT CUSHION ASSEMBLY  (See INSTALLATION )
  36. INSTALL SERVICE PLUG GRIP  (See INSTALLATION )
  37. CONNECT CABLE TO NEGATIVE BATTERY TERMINAL 
  38. CHECK FOR FUEL LEAKS (See  ON-VEHICLE INSPECTION   ) 
  39. PERFORM INITIALIZATION 
    1. Perform initialization (see INITIALIZATION (2006/02-2006/07) ).
      NOTE: Certain systems need to be initialized after disconnecting and reconnecting the cable from the negative (-) battery terminal.