lemon-mirror:
Home >> Lexus >> 2007 >> GX 470 >> Repair and Diagnosis >> Electrical >> Body Electrical >> Clock & Power Outlets >> Removal >> Notes

Clock & Power Outlets: Removal: Notes

  1. REMOVE NO. 2 CONSOLE UPPER PANEL GARNISH (See  REMOVAL  ) 
  2. REMOVE NO. 1 CONSOLE UPPER PANEL GARNISH (See  REMOVAL  ) 
  3. REMOVE UPPER CONSOLE PANEL ASSEMBLY (See  REMOVAL  ) 
  4. REMOVE FRONT CONSOLE UPPER PANEL GARNISH (See  REMOVAL  ) 
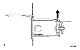
  5. REMOVE POWER POINT SOCKET ASSEMBLY 
    1. Pressing the claw of the power point socket assembly in the direction of the arrow, push the power point socket assembly toward the room side to remove it.
    Fig 1: Removing Power Point Socket Assembly
    G04967087Courtesy of © TOYOTA, LICENSE AGREEMENT TMS1002