lemon-mirror:
Home >> Lexus >> 2007 >> GX 470 >> Repair and Diagnosis >> Suspension >> Suspension Control Systems >> Suspension Control >> Suspension Control System >> Adjustment

Suspension Control System: Adjustment

  1. ADJUST STANDARD VEHICLE HEIGHT 
    1. Release the parking brake and stabilize the suspensions by pushing up and down on the corners of the vehicle.
    2. Place the shift lever into the "N" position and settle the tires by moving the vehicle back and forth.
    3. Start the engine.
    4. On the height control switch, first press "HIGH" to raise the vehicle height, and then change the switch to "LOW" to lower it. Perform this operation one more time.
      NOTE: Make sure to release the parking brake and move the shift lever into the "N" position.
  2. INSPECT TIRE 

    (See INSPECTION )

  3. MEASURE VEHICLE HEIGHT 

    (See ADJUSTMENT )

  4. OPERATE HEIGHT CONTROL SWITCH AND CHECK VEHICLE HEIGHT CHANGE 
      Fig 1: Checking Vehicle Height Position
      G05262130Courtesy of © TOYOTA, LICENSE AGREEMENT TMS1002
    1. Start the engine and change the height control switch from the NORMAL position to the HIGH and LOW positions.

      Check the time until the height adjustment is completed and the amount of change in vehicle height.

      Adjustment time: 

      HEIGHT ADJUSTMENT TIME SPECIFICATION

      From operation of height control switch to start of compressor. Approx. 2 sec.
      From start of compressor to completion of height adjustment. 15 to 20 sec. (HIGH position)

      Amount of change in vehicle height: 

      HIGH position: 

      40 mm (1.57 in.) 

      LOW position: 

      -20 mm (-0.79 in.) 

    2. Fig 2: Changing Vehicle Height From High & Low Position To Normal Position
      G05262131Courtesy of © TOYOTA, LICENSE AGREEMENT TMS1002
    3. While adjusting vehicle height in the HIGH position, start the engine and change the height control switch from the HIGH and LOW position to the NORMAL position.

      Check the time until the height adjustment is completed and the amount of change in vehicle height.

      Adjustment time: 

      HEIGHT ADJUSTMENT TIME SPECIFICATION

      From operation of height control switch to open of exhaust valve. Approx. 2 sec.
      From open of exhaust valve to completion of height adjustment. 10 to 15 sec. (HIGH position)

      Amount of change in vehicle height: 

      HIGH position: 

      40 mm (1.57 in.) 

      LOW position: 

      -20 (-0.79 mm) 

  5. CHECK CONNECTIONS OF TUBES FOR AIR LEAKAGE 
    1. Set the height control switch in the HIGH position and raise the vehicle height.
    2. Stop the engine.
    3. Apply soapy water to the connections of the tubes and check if there is any air leakage.
    Fig 3: Locating Connections Of Tubes
    G04964462Courtesy of © TOYOTA, LICENSE AGREEMENT TMS1002
  6. ADJUST VEHICLE HEIGHT 
    NOTE: While adjusting vehicle height, do not put anyone or anything on or in the vehicle as it will affect vehicle height.
    1. Suspend the vehicle height control by pressing the height control OFF switch.
    2. Put the vehicle on a level surface.
    3. Measure the vehicle height (C - D measurement) on the right side and left side.

      Standard vehicle height value: 

      See ADJUSTMENT

      Difference between the right side and left side: 

      10 mm (0.39 in.) or less 

    4. If the actual vehicle height differs from the vehicle height (C - D measurement), adjust it by jacking up the frame, etc. (Procedure "A").
    5. Using the intelligent tester (Procedure "B").
      1. Turn the ignition switch to ON or ACC.
        Fig 4: Identifying Vehicle Height
        G05262133Courtesy of © TOYOTA, LICENSE AGREEMENT TMS1002
      2. Using the intelligent tester, measure each vehicle height value of the right side and the left side sensors.

        Difference between the tester value and vehicle height (C - D measurement): 

        5 mm (0.20 in.) or less 

        Difference between the right side and the left side: 

        5 mm (0.20 in.) or less 

    6. Not using the intelligent tester (Procedure "C").
      1. Disconnect the connector of the height control sensor.
      2. Connect three 1.5 V dry cell batteries in series.
      3. Connect the battery positive (+) and negative (-) to the terminals.

        Standard voltage 

      VOLTAGE SPECIFICATION

      Position Voltage
      High 2.31 to 3.81 V
      Normal 2.31 +- 0.04 V
      Low 1.39 to 2.31 V
      Fig 5: Identifying Battery Connection With Height Control Sensor Terminals
      G04964464Courtesy of © TOYOTA, LICENSE AGREEMENT TMS1002

      Difference between the right side and the left side: 

      0.06 V or less 

    7. If the procedure "B" or "C" differs from the vehicle height (C - D measurement), adjust it by following the procedures below:
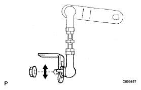
      1. Loosen the nut.
      2. Fig 6: Moving Height Control Sensor Link Up & Down
        G05262135Courtesy of © TOYOTA, LICENSE AGREEMENT TMS1002
      3. Move the height control sensor link up and down along the slotted hole of the bracket.
      4. Adjust the vehicle height to the vehicle height (C - D measurement) while checking the value on the intelligent tester or voltmeter.
      5. Tighten the nut.

        Torque: 5.4 N*m (55 kgf*cm, 48 in.*lbf) 

    8. If the vehicle height cannot be adjusted by performing procedure "A", adjust it again by following the procedures below:
      1. Loosen the 2 lock nuts of the height control sensor link.
      2. Fig 7: Adjusting Vehicle Height By Turning Link
        G05262136Courtesy of © TOYOTA, LICENSE AGREEMENT TMS1002
      3. Adjust the vehicle height to the vehicle height (C - D measurement) by turning the link while checking the value on the intelligent tester or the voltmeter.
      4. Tighten the 2 lock nuts.

        Torque: 5.4 N*m (55 kgf*cm, 48 in.*lbf) 

    9. Check that the lengths of the screw parts, "A", are within the standard values.
      Fig 8: Identifying Lengths Of Screw Parts
      G05262137Courtesy of © TOYOTA, LICENSE AGREEMENT TMS1002

      Standard length: 

      6.5 to 15.0 mm (0.26 to 0.59 in.) 

    10. Change the vehicle height. (From the normal position to the high position, and from the high position to the normal position)
    11. Measure the vehicle height (C - D measurement) on the right side and left side (Procedure "D").
    12. Check if the vehicle height (C - D measurement) is within the specified range.

      HINT:

      If the values are outside the standard, perform the procedures from procedure "A" to "D" again.