lemon-mirror:
Home >> Lexus >> 2007 >> GX 470 >> Repair and Diagnosis >> Transmission >> Automatic Trans >> Automatic Transaxle >> Automatic Transmission Unit >> Inspection

Automatic Transmission Unit: Inspection

  1. INSPECT AUTOMATIC TRANSMISSION OIL PAN SUB-ASSEMBLY 
    1. Remove the magnets, and use them to collect steel particles.
    2. Fig 1: Identifying Steel Particles
      G04963559Courtesy of © TOYOTA, LICENSE AGREEMENT TMS1002
    3. Carefully lock at the foreign matter and particles in the pan and on the magnets to anticipate the type of wear you will find in the transmission.
      • Steel (magnetic): bearing, gear and clutch plate wear
      • Brass (non-magnetic): bushing wear
  2. INSPECT NO. 2 ONE-WAY CLUTCH ASSEMBLY 
    Fig 2: Identifying No. 2 One-Way Clutch Assembly
    G04963560Courtesy of © TOYOTA, LICENSE AGREEMENT TMS1002
    1. Hold the Reverse clutch hub and turn the No. 2 one way clutch assembly.
    2. The No. 2 one-way clutch assembly turns freely clockwise and locks when turned counterclockwise.
  3. INSPECT NO. 3 BRAKE DISC 
    Fig 3: Identifying No. 3 Brake Disc
    G04963561Courtesy of © TOYOTA, LICENSE AGREEMENT TMS1002
    1. Replace all discs if one of the following problems is present: 1) a disc, plate or flange is worn or burnt, 2) the lining of a disc is peeled off or discolored, or 3) grooves or printed numbers have even a little bit of damage.
    NOTE: Before assembling new discs, soak them in ATF for at least 15 minutes.
  4. INSPECT NO. 3 BRAKE PISTON RETURN SPRING SUB-ASSEMBLY 
    Fig 4: Measuring Free Length Of Spring Using Vernier Caliper
    G04963562Courtesy of © TOYOTA, LICENSE AGREEMENT TMS1002
    1. Using a vernier caliper, measure the free length of the spring together with the spring seat.

    Standard free length: 15.72 mm (0.619 in.) 

  5. INSPECT FRONT PLANETARY GEAR ASSEMBLY 
    Fig 5: Measuring Front Planetary Pinion Gear Thrust Clearance Using Feeler Gauge
    G04963563Courtesy of © TOYOTA, LICENSE AGREEMENT TMS1002
    1. Using a feeler gauge, measure the front planetary pinion gear thrust clearance.

      Standard clearance: 0.2 to 0.60 mm (0.008 to 0.024 in.) 

      Maximum clearance: 0.65 mm (0.026 in.) 

      If the clearance is greater than the maximum, replace the front planetary gear assembly.

    2. Fig 6: Measuring Inside Diameter Of Front Planetary Gear Bushing Using Cylinder Gauge
      G04963564Courtesy of © TOYOTA, LICENSE AGREEMENT TMS1002
    3. Using a cylinder gauge, measure the inside diameter of the front planetary gear bushing.

      Maximum inside diameter: 57.48 mm (2.263 in.) 

      If the inside diameter is greater than the maximum, replace the front planetary gear.

  6. INSPECT ONE-WAY CLUTCH ASSEMBLY 
    Fig 7: Identifying One-Way Clutch Assembly
    G04963565Courtesy of © TOYOTA, LICENSE AGREEMENT TMS1002
    1. Install the one-way clutch assembly to the one-way clutch inner race.
    2. Hold the one-way clutch inner race and turn the one-way clutch assembly.
    3. Check that the one-way clutch assembly turns freely counterclockwise and locks when turned clockwise.
    4. Remove the one-way clutch assembly from the one-way clutch inner race.
  7. INSPECT NO. 1 BRAKE DISC 
    Fig 8: Identifying No. 1 Brake Disc
    G04963561Courtesy of © TOYOTA, LICENSE AGREEMENT TMS1002
    1. Replace all discs if one of the following problems is present: 1) a disc, plate or flange is worn or burnt, 2) the lining of a disc is peeled off or discolored, or 3) grooves or printed numbers have even a little bit of damage.
    NOTE: Before assembling new discs, soak them in ATF for at least 15 minutes.
  8. INSPECT BRAKE PISTON RETURN SPRING SUB-ASSEMBLY 
    Fig 9: Measuring Free Length Of Spring Using Vernier Caliper
    G04963567Courtesy of © TOYOTA, LICENSE AGREEMENT TMS1002
    1. Using a vernier caliper, measure the free length of the spring together with the spring seat.

    Standard free length: 17.05 mm (0.671 in.) 

  9. INSPECT NO. 2 BRAKE DISC 
    Fig 10: Identifying No. 2 Brake Disc
    G04963561Courtesy of © TOYOTA, LICENSE AGREEMENT TMS1002
    1. Replace all discs if one of the following problems is present: 1) a disc, plate or flange is worn or burnt, 2) the lining of a disc is peeled off or discolored, or 3) grooves or printed numbers have even a little bit of damage.
    NOTE: Before assembling new discs, soak them in ATF for at least 15 minutes.
  10. INSPECT NO. 2 BRAKE PISTON RETURN SPRING SUB-ASSEMBLY 
    Fig 11: Measuring Free Length Of Spring Using Vernier Calipers
    G04963569Courtesy of © TOYOTA, LICENSE AGREEMENT TMS1002
    1. Using a vernier calipers, measure the free length of the spring together with the spring seat.

    Standard free length: 17.45 mm (0.687 in.) 

  11. INSPECT CENTER PLANETARY GEAR ASSEMBLY 
    Fig 12: Measuring Center Planetary Gear Pinion Thrust Clearance Using Feeler Gauge
    G04963570Courtesy of © TOYOTA, LICENSE AGREEMENT TMS1002
    1. Using a feeler gauge, measure the center planetary gear pinion thrust clearance.

      Standard clearance: 0.12 to 0.68 mm (0.005 to 0.027 in.) 

      Maximum clearance: 0.73 mm (0.029 in.) 

      If the clearance is greater than the maximum, replace the center planetary gear assembly.

  12. INSPECT NO. 3 ONE-WAY CLUTCH ASSEMBLY 
    Fig 13: Identifying No. 3 One-Way Clutch Assembly
    G05261502Courtesy of © TOYOTA, LICENSE AGREEMENT TMS1002
    1. Hold the rear planetary ring gear flange sub-assembly turn the one-way clutch assembly.
    2. Check that the one-way clutch assembly turns freely counterclockwise and locks when turned clockwise.
  13. INSPECT REAR PLANETARY RING GEAR FLANGE SUB-ASSEMBLY 
    Fig 14: Measuring Inside Diameter Of Rear Planetary Ring Gear Bushing Using Dial Indicator
    G04963572Courtesy of © TOYOTA, LICENSE AGREEMENT TMS1002
    1. Using a dial indicator, measure the inside diameter of the rear planetary ring gear bushing.

      Maximum inside diameter: 32.175 mm (1.267 in.) 

      If the inside diameter is greater than the maximum, replace the rear planetary ring gear.

  14. INSPECT INTERMEDIATE SHAFT 
    Fig 15: Checking Intermediate Shaft Runout Using Dial Indicator
    G04963573Courtesy of © TOYOTA, LICENSE AGREEMENT TMS1002
    1. Using a dial indicator, check the intermediate shaft runout.

      Maximum runout: 0.08 mm (0.003 in.) 

      NOTE: If the bend exceeds the specification, replace the intermediate shaft with anew one.
    2. Fig 16: Checking Outer Diameter Of Intermediate Shaft Positions Using Micrometer
      G04963574Courtesy of © TOYOTA, LICENSE AGREEMENT TMS1002
    3. Using a micrometer, check the outer diameter of the intermediate shaft positions.

      Standard diameter: 

      A: 25.962 to 25.975 mm (1.022 to 1.023 in.) 

      B: 25.962 to 25.975 mm (1.022 to 1.023 in.) 

      C: 32.062 to 32.075 mm (1.262 to 1.263 in.) 

      D: 32.062 to 32.075 mm (1.262 to 1.263 in.) 

      Minimum diameter: 

      A: 25.912 mm (1.020 in.) 

      B: 25.912 mm (1.020 in.) 

      C: 32.012 mm (1.260 in.) 

      D: 32.012 mm (1.260 in.) 

      NOTE: If the outer diameter is outside the standard, replace the intermediate shaft with the new one.
  15. INSPECT NO. 4 BRAKE DISC 
    Fig 17: Identifying No. 4 Brake Disc
    G04963561Courtesy of © TOYOTA, LICENSE AGREEMENT TMS1002
    1. Replace all discs if one of the following problems is present: 1) a disc, plate or flange is worn or burnt, 2) the lining of a disc is peeled off or discolored, or 3) grooves or printed numbers have even a little bit of damage.
    NOTE: Before assembling new discs, soak them in ATF for at least 15 minutes.
  16. INSPECT REAR PLANETARY GEAR ASSEMBLY 
    Fig 18: Measuring Rear Planetary Gear Pinion Thrust Clearance Using Feeler Gauge
    G04963576Courtesy of © TOYOTA, LICENSE AGREEMENT TMS1002
    1. Using a feeler gauge, measure the rear planetary gear pinion thrust clearance.

      Standard clearance: 0.2 to 0.6 mm (0.008 to 0.024 in.) 

      Maximum clearance: 0.65 mm (0.026 in.) 

      If the clearance is greater than the maximum, replace the planetary gear assembly.

    2. Fig 19: Measuring Inside Diameter Of Rear Planetary Gear Bushing Using Dial Indicator
      G04963577Courtesy of © TOYOTA, LICENSE AGREEMENT TMS1002
    3. Using a dial indicator, measure the inside diameter of the rear planetary gear bushing.

      Maximum inside diameter: 20.075 mm (0.790 in.) 

      If the inside diameter is greater than the maximum, replace the rear planetary gear assembly.

  17. INSPECT 1ST AND REVERSE BRAKE RETURN SPRING SUB-ASSEMBLY 
    Fig 20: Measuring Free Length Of Spring Using Vernier Caliper
    G04963578Courtesy of © TOYOTA, LICENSE AGREEMENT TMS1002
    1. Using a vernier caliper, measure the free length of the spring together with the spring seat.

      Standard free length: 23.74 mm (0.935 in.) 

  18. INSPECT PACK CLEARANCE OF FIRST AND REVERSE BRAKE 
    Fig 21: Applying Compressed Air Into Transmission Case
    G04963579Courtesy of © TOYOTA, LICENSE AGREEMENT TMS1002
    1. Make sure the 1st and reverse brake pistons move smoothly when applying and releasing the compressed air into the transmission case.
  19. INSPECT NO. 1 PISTON STROKE OF BRAKE PISTON 
    Fig 22: Identifying No. 1 Brake Piston Operation
    G04963580Courtesy of © TOYOTA, LICENSE AGREEMENT TMS1002
    1. Make sure the No. 1 brake piston moves smoothly when applying and releasing the compressed air into the transmission case.
    2. Fig 23: Measuring B3 Bearing Pack Clearance Between Snap Ring & Flange Using Feeler Gauge
      G04963581Courtesy of © TOYOTA, LICENSE AGREEMENT TMS1002
    3. Using a feeler gauge, measure the B3 bearing pack clearance between the snap ring and flange.

      Piston stroke: 0.42 to 0.72 mm (0.0165 to 0.0283 in.) 

      If the piston stroke is outside the specification, parts may have been assembled incorrectly.

      Perform the reassembly again.

      If the piston stroke is still outside the specification, select another flange.

    HINT:

    There are 4 different thicknesses for the flange.

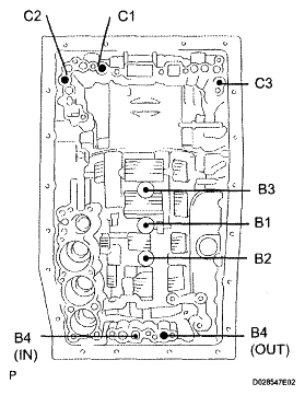
  20. INSPECT INDIVIDUAL PISTON OPERATION INSPECTION 
    1. Check the operating sound while applying compressed air into the oil holes indicated.

      HINT:

      When inspecting the overdrive direct clutch, check with the C3 accumulator piston holes.

      Fig 24: Identifying Oil Holes
      G04963582Courtesy of © TOYOTA, LICENSE AGREEMENT TMS1002

      If there is no sound, disassembly and check the installation condition of the parts.

      1. No. 2 clutch (C2)
      2. No. 3 clutch (C3)
      3. No. 1 clutch (C1)
      4. No. 3 brake (B1)
      5. No. 1 brake (B1)
      6. No. 2 brake (B2)
      7. No. 4 brake (B4)