lemon-mirror:
Home >> Lexus >> 2007 >> GX 470 >> Repair and Diagnosis >> Transmission >> Automatic Trans >> Automatic Transaxle >> Shift Lock System >> On-Vehicle Inspection

On-Vehicle Inspection

  1. INSPECT SHIFT LOCK OPERATION 
    1. Move the shift lever to the P position.
    2. Turn the ignition switch to the LOCK position.
    3. Check that the shift lever cannot be moved to any position other than P.
    4. Turn the ignition switch to the ON position, depress the brake pedal and check that the shift lever can be moved to another position. If operation can not be done as specified, inspect the shift lock control unit.
  2. INSPECT SHIFT LOCK RELEASE BUTTON 
    1. Using a small screwdriver, remove the shift lock release cover.
    2. When operating the shift lever with the shift lock release button pressed, check that the lever can be moved to any position other than P.

      If operation can not be done as specified, check the shift lever assembly installation condition.

  3. INSPECT KEY INTERLOCK OPERATION 
    1. Turn the ignition switch to the ON position.
    2. Depress the brake pedal and move the shift lever to any position other than P.
    3. Check that the ignition key cannot be turned to the LOCK position.
    4. Move the shift lever to the P position, turn the ignition key to the LOCK position and check that the ignition key can be removed.

      If operation cannot be done as specified, inspect the shift lock control unit.

  4. INSPECT SHIFT LOCK CONTROL UNIT ASSEMBLY 
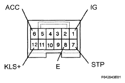
    1. Measure the voltage according to the value (s) in the table below.

      HINT:

      Do not disconnect the shift lock control unit assembly connector.

      Fig 1: Inspecting Shift Lock Control Unit Assembly (1 Of 2)
      G05261335Courtesy of © TOYOTA, LICENSE AGREEMENT TMS1002

      Standard voltage 

      TERMINAL VOLTAGE TABLE

      Terminal Measuring Condition Voltage (V)
      6 (ACC) - 8 (E) Ignition switch ACC 10 to 14
      6 (ACC) - 8 (E) Ignition switch OFF Below 1
      7 (STP) - 8 (E) Depress brake pedal 10 to 14
      7 (STP) - 8 (E) Release brake pedal Below 1
      12 (KLS+) - 8 (E)
      1. Ignition switch ACC and shift lever P position
      2. Ignition switch ACC and shift lever except P position
      3. Ignition switch ACC and shift lever except P position (After approx. 1 second)
      Below 1 7.5 to 11 6 to 9
      1 (IG) - 8 (E) Ignition switch ON 10 to 14
      1 (IG) - 8 (E) Ignition switch OFF Below 1
      Fig 2: Identifying Shift Lock Control Unit Assembly (2 Of 2)
      G05261336Courtesy of © TOYOTA, LICENSE AGREEMENT TMS1002
    2. Measure the resistance according to the value (s) in the table below.

      HINT:

      Do not disconnect the shift lock control unit assembly connector.

      If operation cannot be done as specified, replace the shift lever assembly.

    Standard resistance 

    TERMINAL SPECIFIED VALUE TABLE

    Terminal Measuring Condition Specified Value
    8 (E) - Body ground Always Below 1 Ω
  5. INSPECT KEY INTER LOCK SOLENOID 
    Fig 3: Identifying Key Inter Lock Solenoid Connector
    G04963385Courtesy of © TOYOTA, LICENSE AGREEMENT TMS1002
    1. Disconnect the solenoid connector.
    2. Connect KLS+ (4) terminal to the batteries' positive (+) terminal and KLS (3) terminal to the battery negative (-) terminal, and apply about 12 V between KLS+ - KLS- terminals.
    3. Check that operation noise can be heard from the solenoid.

      If the solenoid does not operate, replace the solenoid.