lemon-mirror:
Home >> Lexus >> 2007 >> LS 460L >> Repair and Diagnosis >> Suspension >> Suspension Control Systems >> Suspension Control Relay >> On-Vehicle Inspection

On-Vehicle Inspection

  1. REMOVE COWL TOP VENTILATOR LOUVER RH  (See REMOVAL )
  2. DISCONNECT CABLE FROM NEGATIVE BATTERY TERMINAL 
    CAUTION: Wait at least 90 seconds after disconnecting the cable from the negative (-) battery terminal to prevent airbag and seat belt pretensioner activation.
    NOTE: After the engine switch is turned off, the HDD navigation system requires approximately 6 minutes to record various types of memory and settings. As a result, after turning the engine switch off, wait 6 minutes or more before disconnecting the cable from the negative (-) battery terminal.
  3. REMOVE SUSPENSION CONTROL RELAY (A/SUS) 
    1. Remove the suspension control relay from the engine room No. 1 relay block.
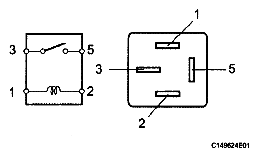
  4. INSPECT SUSPENSION CONTROL RELAY 
    1. Measure the resistance according to the value(s) in the table below.

      Standard resistance 

      SUSPENSION CONTROL RELAY

      Tester Connection Condition Specified Condition
      3-5 When battery voltage is not applied to terminals 1 and 2 10 kΩ or higher
      When battery voltage is applied to terminals 1 and 2 Below 1 Ω
      Fig 1: Inspecting Suspension Control Relay
      G04944147Courtesy of © TOYOTA, LICENSE AGREEMENT TMS1002

      If the result is not as specified, replace the suspension control relay.

  5. INSTALL SUSPENSION CONTROL RELAY 
  6. CONNECT CABLE TO NEGATIVE BATTERY TERMINAL 
  7. INSTALL COWL TOP VENTILATOR LOUVER RH  (See INSTALLATION )
  8. PERFORM INITIALIZATION 
    1. Perform initialization (see INITIALIZATION ).
      NOTE: Certain systems need to be initialized after disconnecting and reconnecting the cable from the negative (-) battery terminal.
  9. CHECK SRS WARNING LIGHT 
    1. Check the SRS warning light (see DIAGNOSIS SYSTEM ).