lemon-mirror:
Home >> Lexus >> 2007 >> LX 470 >> Repair and Diagnosis >> Brakes >> Traction Control >> Brake Control >> Vehicle Stability Control System >> Slip Indicator Light Circuit >> Inspection Procedure

Inspection Procedure

  1. CHECK WARNING LIGHT 
    1. Check the warning lights other than the SLIP indicator light.

    OK: Go to step  3

    NG: Go to Next step 

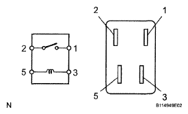
  2. INSPECT RELAY (Marking: IG1 NO. 2) 
    1. Remove the IG1 NO. 2 relay from the cowl side junction block LH.
    2. Measure the resistance of the relay.

      Standard resistance 

      TESTER CONNECTION SPECIFIED CONDITION

      Tester Connection Specified Condition
      1 - 2 10 kΩ or higher
      1 - 2 Below 1 Ω (when battery voltage is applied to terminals 3 and 4)

    NG: REPLACE RELAY 

    Fig 1: Identifying IG1 NO. 2 Relay Connector Terminals
    G05197666Courtesy of © TOYOTA, LICENSE AGREEMENT TMS1002

    OK: CHECK COMBINATION METER (COMBINATION METER CIRCUIT) 

  3. CHECK SLIP INDICATOR LIGHT 
    1. Check for open circuit in the combination meter circuit.

    NG: REPLACE COMBINATION METER 

    OK: Go to Next step 

  4. CHECK WIRE HARNESS (SKID CONTROL ECU ASSEMBLY - SLIP INDICATOR LIGHT) 

    NG: REPAIR OR REPLACE HARNESS AND CONNECTOR 

    OK: REPLACE SKID CONTROL ECU ASSEMBLY