lemon-mirror:
Home >> Lexus >> 2007 >> LX 470 >> Repair and Diagnosis >> Electrical >> Horns >> Inspection

Repair and Diagnosis: Electrical: Horns: Inspection

  1. INSPECT FUSE (HORN) 
    1. Measure the resistance of the HORN fuse.

    Standard resistance: Below 1 Ω 

    If the result is not as specified, replace the fuse.

    Fig 1: Inspecting Fuse (Horn)
    G04065583Courtesy of © TOYOTA, LICENSE AGREEMENT TMS1002
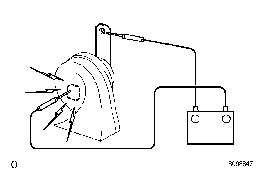
  2. INSPECT LOW PITCHED HORN ASSEMBLY 
    1. Apply battery voltage and check the operation of the horn.

    OK 

    MEASUREMENT CONDITION CHART

    Measurement Condition Specified Condition
    Battery positive (+) --> Terminal 1
    Battery negative (-) --> Horn bracket
    Horn sounds

    If the result is not as specified, replace the horn assembly.

    Fig 2: Inspecting Low Pitched Horn Assembly
    G04065584Courtesy of © TOYOTA, LICENSE AGREEMENT TMS1002
  3. INSPECT HIGH PITCHED HORN ASSEMBLY 
    1. Apply battery voltage and check the operation of the horn.

    OK 

    MEASUREMENT CONDITION CHART

    Measurement Condition Specified Condition
    Battery positive (+) --> Terminal 1
    Battery negative (-) --> Horn bracket
    Horn sounds
    Fig 3: Inspecting High Pitched Horn Assembly
    G04065585Courtesy of © TOYOTA, LICENSE AGREEMENT TMS1002

    If the result is not as specified, replace the horn assembly.