lemon-mirror:
Home >> Lexus >> 2007 >> LX 470 >> Repair and Diagnosis >> Engine Performance >> Engine Control System (2UZ-FE) >> Mass Air Flow Meter >> Inspection

Mass Air Flow Meter: Inspection

  1. INSPECT MASS AIR FLOW METER 
    1. Check the output voltage.
      1. Apply battery voltage across terminals 1 (+B) and 2 (E2G).
      2. Using a voltmeter, connect the positive (+) tester probe to terminal 3 (VG), and negative (-) tester probe to terminal 2 (E2G).
      3. Blow air into the MAF meter, and check that the voltage fluctuates.
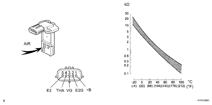
    2. Measure the resistance between terminals 4 (THA) and 5 (E2).

      Standard resistance 

      RESISTANCE SPECIFICATION

      Condition Specified Condition
      -20°C (-4°F) 12.5 to 16.9 kΩ
      20°C (68°F) 2.19 to 2.67 kΩ
      60°C (140°F) 0.50 to 0.68 kΩ

      If the result is not as specified, replace the MAF meter.

      Fig 1: Locating Screws And MAF Meter
      G05196901Courtesy of © TOYOTA, LICENSE AGREEMENT TMS1002
      Fig 2: Inspecting Mass Air Flow Meter
      G05196902Courtesy of © TOYOTA, LICENSE AGREEMENT TMS1002