lemon-mirror:
Home >> Lexus >> 2007 >> LX 470 >> Repair and Diagnosis >> Transmission >> Automatic Trans >> Automatic Transaxle >> Automatic Transmission Unit >> Inspection

Automatic Transmission Unit: Inspection

  1. INSPECT AUTOMATIC TRANSMISSION OIL PAN SUB-ASSEMBLY 
    1. Remove the magnets, and use them to collect steel particles.
    2. Carefully look at the foreign matter and particles in the pan and on the magnets to anticipate the type of wear you will find in the transmission.
      • Steel (magnetic): bearing, gear and clutch plate wear
      • Brass (non-magnetic): bushing wear
        Fig 1: Removing Magnets
        G05282924Courtesy of © TOYOTA, LICENSE AGREEMENT TMS1002
  2. INSPECT NO. 2 1 -WAY CLUTCH ASSEMBLY 
    1. Hold the reverse clutch hub and turn the No. 2 1-way clutch assembly.
    2. The No. 2 1-way clutch assembly turns freely clockwise and locks when turned counterclockwise.
      Fig 2: Inspecting No. 2 1-Way Clutch Assembly
      G05282925Courtesy of © TOYOTA, LICENSE AGREEMENT TMS1002
  3. INSPECT NO. 3 BRAKE DISC 
    1. Replace all discs if one of the following problems is present: 1) a disc, plate or flange is worn or burnt, 2) the lining of a disc is peeled off or discolored, or 3) grooves or printed numbers have even a little bit of damage.
      NOTE: Before assembling new discs, soak them in ATF for at least 15 minutes.
      Fig 3: Inspecting No. 3 Brake Disc
      G05282926Courtesy of © TOYOTA, LICENSE AGREEMENT TMS1002
  4. INSPECT NO. 3 BRAKE PISTON RETURN SPRING SUB-ASSEMBLY 
    1. Using a vernier caliper, measure the free length of the spring together with the spring seat.

      Standard free length: 15.72 mm (0.619 in.) 

      Fig 4: Measuring Free Length Of Spring
      G05282927Courtesy of © TOYOTA, LICENSE AGREEMENT TMS1002
  5. INSPECT FRONT PLANETARY GEAR ASSEMBLY 
    1. Using a feeler gauge, measure the front planetary pinion gear thrust clearance.

      Standard clearance: 0.20 to 0.60 mm (0.0078 to 0.0236 in.) 

      Maximum clearance: 0.65 mm (0.0256 in.) 

      If the clearance is greater than the maximum, replace the front planetary gear assembly.

      Fig 5: Measuring Front Planetary Pinion Gear Thrust Clearance
      G05282928Courtesy of © TOYOTA, LICENSE AGREEMENT TMS1002
    2. Using a dial indicator, measure the inside diameter of the front planetary gear bushing.

      Maximum inside diameter: 57.48 mm (2.2630 in.) 

      If the inside diameter is greater than the maximum, replace the front planetary gear.

      Fig 6: Measuring Inside Diameter Of Front Planetary Gear Bushing
      G05282929Courtesy of © TOYOTA, LICENSE AGREEMENT TMS1002
  6. INSPECT 1 -WAY CLUTCH ASSEMBLY 
    1. Install the 1 -way clutch assembly to the 1 -way clutch inner race.
    2. Hold the 1-way clutch inner race and turn the 1-way clutch assembly.
    3. Check that the 1-way clutch assembly turns freely counterclockwise and locks when turned clockwise.
    4. Remove the 1-way clutch assembly from 1-way clutch inner race.
      Fig 7: Inspecting 1-Way Clutch Assembly
      G05282930Courtesy of © TOYOTA, LICENSE AGREEMENT TMS1002
  7. INSPECT NO. 1 BRAKE DISC 
    1. Replace all discs if one of the following problems is present: 1) a disc, plate or flange is worn or burnt, 2) the lining of a disc is peeled off or discolored, or 3) grooves or printed numbers have even a little bit of damage.
      NOTE: Before assembling new discs, soak them in ATF for at least 15 minutes.
      Fig 8: Inspecting No. 3 Brake Disc
      G05282931Courtesy of © TOYOTA, LICENSE AGREEMENT TMS1002
  8. INSPECT BRAKE PISTON RETURN SPRING SUB-ASSEMBLY 
    1. Using a vernier caliper, measure the free length of the spring together with the spring seat.

      Standard free length: 17.05 mm (0.6713 in.) 

      Fig 9: Measuring Free Length Of Spring
      G05282932Courtesy of © TOYOTA, LICENSE AGREEMENT TMS1002
  9. INSPECT NO. 2 BRAKE DISC 
    1. Check whether the sliding surface of the disc, the plate and the flange are worn or burnt. If necessary, replace them.
      NOTE:
      • If the lining of the disc is peeled off or discolor, or even if only a part of the print numbers is damaged, replace all discs.
      • Before assembling new discs, soak them in ATF for at least 15 minutes.
        Fig 10: Inspecting No. 3 Brake Disc
        G05282933Courtesy of © TOYOTA, LICENSE AGREEMENT TMS1002
  10. INSPECT NO. 2 BRAKE PISTON RETURN SPRING SUB-ASSEMBLY 
    1. Using a vernier caliper, measure the free length of the spring together with the spring seat.

      Standard free length: 17.45 mm (0.6870 in.) 

      Fig 11: Measuring Free Length Of Spring
      G05282934Courtesy of © TOYOTA, LICENSE AGREEMENT TMS1002
  11. INSPECT CENTER PLANETARY GEAR ASSEMBLY 
    1. Using a feeler gauge, measure the center planetary gear pinion thrust clearance.

      Standard clearance: 0.12 to 0.68 mm (0.0047 to 0.0268 in.) 

      Maximum clearance: 0.73 mm (0.0287 in.) 

      If the clearance is greater than the maximum, replace the center planetary gear assembly.

      Fig 12: Measuring Center Planetary Gear Pinion Thrust Clearance
      G05282935Courtesy of © TOYOTA, LICENSE AGREEMENT TMS1002
  12. INSPECT NO. 3 1-WAY CLUTCH ASSEMBLY 
    1. Hold the rear planetary ring gear flange sub assembly, and then turn the 1-way clutch assembly.
    2. Check that the 1 -way clutch assembly turns freely counterclockwise and locks when turned clockwise.
      Fig 13: Inspecting No. 3 1-Way Clutch Assembly
      G05282936Courtesy of © TOYOTA, LICENSE AGREEMENT TMS1002
  13. INSPECT REAR PLANETARY RING GEAR FLANGE SUB-ASSEMBLY 
    1. Using a caliper gauge, measure the inside diameter of the rear planetary ring gear bushing.

      Maximum inside diameter: 32.175 mm (1.2667 in.) 

      If the inside diameter is greater than the maximum, replace the rear planetary ring gear.

      Fig 14: Measuring Inside Diameter Of Rear Planetary Ring Gear Bushing
      G05282937Courtesy of © TOYOTA, LICENSE AGREEMENT TMS1002
  14. INSPECT INTERMEDIATE SHAFT 
    1. Using a dial indicator, check the intermediate shaft runout.

      Maximum runout: 0.08 mm (0.0031 in.) 

      If the runout exceeds the specification, replace the intermediate shaft with a new one.

      Fig 15: Checking Intermediate Shaft Runout
      G05282938Courtesy of © TOYOTA, LICENSE AGREEMENT TMS1002
    2. Using a micrometer, check the outer diameter of the intermediate shaft positions shown in the diagram.

      Standard diameter: 

      1. 25.962 to 25.975 mm (1.0221 to 1.026 in.) 
      2. 25.962 to 25.975 mm (1.0221 to 1.026 in.) 
      3. 32.062 to 32.075 mm (1.262 to 1.2627 in.) 
      4. 32.062 to 32.075 mm (1.2622 to 1.2627 in.) 

      Standard diameter: 

      1. 25.912 mm (1.0202 in.) 
      2. 25.912 mm (1.0202 in.) 
      3. 32.012 mm (1.2603 in.) 
      4. 32.012 mm (1.2603 in.) 

      If the outer diameter is outside the standard, replace the intermediate shaft with the a new one.

      Fig 16: Checking Outer Diameter Of Intermediate Shaft
      G05282939Courtesy of © TOYOTA, LICENSE AGREEMENT TMS1002
  15. INSPECT NO. 4 BRAKE DISC 
    1. Replace all discs if one of the following problems is present: 1) a disc, plate or flange is worn or burnt, 2) the lining of a disc is peeled off or discolored, or 3) grooves or printed numbers have even a little bit of damage.
      NOTE: Before assembling new discs, soak them in ATF for at least 15 minutes.
      Fig 17: Inspecting No. 3 Brake Disc
      G05282940Courtesy of © TOYOTA, LICENSE AGREEMENT TMS1002
  16. INSPECT REAR PLANETARY GEAR ASSEMBLY 
    1. Using a feeler gauge, measure the rear planetary gear pinion thrust clearance.

      Standard clearance: 0.2 to 0.6 mm (0.008 to 0.024 in.) 

      Maximum clearance: 0.65 mm (0.0256 in.) 

      If the clearance is greater than the maximum, replace the planetary gear assembly.

      Fig 18: Measuring Rear Planetary Gear Pinion Thrust Clearance
      G05282941Courtesy of © TOYOTA, LICENSE AGREEMENT TMS1002
    2. Using a caliper gauge, measure the inside diameter of the rear planetary gear bushing.

      Maximum inside diameter: 20.075 mm (0.7904 in.) 

      If the inside diameter is greater than the maximum, replace the rear planetary gear assembly.

      Fig 19: Measuring Inside Diameter Of Rear Planetary Gear Bushing
      G05282942Courtesy of © TOYOTA, LICENSE AGREEMENT TMS1002
  17. INSPECT 1ST AND REVERSE BRAKE RETURN SPRING SUB-ASSEMBLY 
    1. Using a vernier caliper, measure the free length of the spring together with the spring seat.

      Standard free length: 23.74 mm (0.9346 in.) 

      Fig 20: Measuring Free Length Of Spring
      G05282943Courtesy of © TOYOTA, LICENSE AGREEMENT TMS1002
  18. INSPECT PACK CLEARANCE OF FIRST AND REVERSE BRAKE 
    1. Make sure the 1st and reverse brake pistons move smoothly when applying and releasing the compressed air into the transmission case.
      Fig 21: Applying Compressed Air Into Transmission Case
      G05282944Courtesy of © TOYOTA, LICENSE AGREEMENT TMS1002
  19. INSPECT PISTON STROKE OF NO. 1 BRAKE PISTON 
    1. Make sure the No. 1 brake piston moves smoothly when applying and releasing the compressed air into the transmission case.
      Fig 22: Applying Compressed Air Into Transmission Case
      G05282945Courtesy of © TOYOTA, LICENSE AGREEMENT TMS1002
    2. Using a feeler gauge, measure the B3 brake pack clearance between the snap ring and flange.

      Piston stroke: 0.42 to 0.72 mm (0.0165 to 0.0283 in.) 

      If the piston stroke is outside the specification, parts may have been assembled incorrectly.

      Perform the reassembly again.

      If the piston stroke is still outside the specification, select another flange.

      HINT:

      There are 4 different thicknesses for the flange.

      Fig 23: Measuring B3 Brake Pack Clearance Between Snap Ring And Flange
      G05282946Courtesy of © TOYOTA, LICENSE AGREEMENT TMS1002

      Standard flange thickness 

      STANDARD FLANGE THICKNESS SPECIFICATION

      No. Thickness No. Thickness
      0 2.0 mm (0.079 in.) 2 2.4 mm (0.094 in.)
      1 2.2 mm (0.087 in.) 3 2.6 mm (0.102 in.)
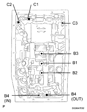
  20. INSPECT INDIVIDUAL PISTON OPERATION INSPECTION 
    1. Check the operating sound while applying compressed air into the oil holes indicated in the illustration.

      HINT:

      When inspecting the O/D direct clutch, check with the C3 accumulator piston holes indicated in the illustration.

      If there is no sound, disassembly and check the installation condition of the parts.

      1. No. 2 clutch (C2)
      2. No. 3 clutch (C3)
      3. No. 1 clutch (C1)
      4. No. 3 brake (B1)
      5. No. 1 brake (B1)
      6. No. 2 brake (B2)
      7. No. 4 brake (B4)
        Fig 24: Identifying Clutch And Brake Points
        G05282947Courtesy of © TOYOTA, LICENSE AGREEMENT TMS1002