lemon-mirror:
Home >> Lexus >> 2007 >> RX 350 FWD >> Repair and Diagnosis >> Electrical >> Charging Systems >> Charging >> Charging System >> On-Vehicle Inspection

On-Vehicle Inspection

  1. CHECK BATTERY ELECTROLYTE LEVEL 
    1. Check the electrolyte level.
      1. If the electrolyte level is low, replace the battery (or add distilled water) and check the charging system.
  2. CHECK BATTERY SPECIFIC GRAVITY 
    1. Check the color of the indicator.

      Result 

      INDICATOR COLOR RESULT REFERENCE

      Indicator color Condition
      Green Good
      Dark Charging necessary
      Clear or light yellow Replacement necessary
      Fig 1: Checking Color Of Indicator
      G05268538Courtesy of © TOYOTA, LICENSE AGREEMENT TMS1002
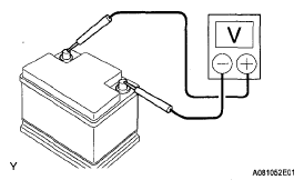
  3. CHECK BATTERY VOLTAGE 
    1. If it has not been 20 minutes since you drove the vehicle or since the engine was stopped, turn the ignition switch to the ON position and turn on the electrical systems (headlight, blower motor, rear defogger, etc.) for 60 seconds. This will remove the surface charge from the battery.
    2. Turn off the ignition switch and the electrical systems.
    3. Measure the battery voltage between the negative (-) and positive (+) terminals of the battery.

      Standard voltage: 

      12.5 to 12.9 V at 20°C (68°F) 

      HINT:

      If the voltage is below the specification, charge the battery.

      Fig 2: Measuring Battery Voltage Between Negative (-) And Positive (+) Terminals Of Battery
      G05268539Courtesy of © TOYOTA, LICENSE AGREEMENT TMS1002
  4. CHECK BATTERY TERMINAL 
    1. Check that the battery terminals are not loose or corroded.

      If the terminals are corroded, clean them.

  5. CHECK FUSES 
    1. Measure the resistance of the ALT fuse, ALT-S fuse, GAUGE No. 1 fuse and GAUGE No. 2 fuse.

      Standard resistance: 

      Below 1 Ω 

      If the result is not as specified, replace the fuses as necessary.

  6. CHECK V-RIBBED BELT 
    1. Check the belt for wear, cracks or other signs of damage.

      If any of the following defects is found, replace the V-ribbed belt.

      • The belt is worn out, cracked, or the cords are exposed.
      • The cracks reach the cords in more than one place.
      • The belt has chunks missing from the ribs.
        Fig 3: Checking Belt For Wear, Cracks Or Other Signs Of Damage
        G05268540Courtesy of © TOYOTA, LICENSE AGREEMENT TMS1002
    2. Check that the belt fits properly in the ribbed grooves.

      HINT:

      Check with your hand to confirm that the belt has not slipped out of the groove on the bottom of the pulley.

      If it has slipped out, replace the V-ribbed belt. Install a new V-ribbed belt correctly.

      Fig 4: Checking Belt Fits Properly In Ribbed Grooves
      G05268541Courtesy of © TOYOTA, LICENSE AGREEMENT TMS1002
  7. VISUALLY CHECK GENERATOR WIRING 
    1. Check that the generator wiring is in good condition. If the condition is not good, repair or replace the generator wire.
  8. LISTEN FOR ABNORMAL NOISES FROM GENERATOR 
    1. Check that there is no abnormal noise from the generator while the engine is running.

      If there is abnormal noise, replace the pulley or generator.

  9. CHECK CHARGE WARNING LIGHT CIRCUIT 
    1. Turn the ignition switch to the ON position. Check that the charge warning light comes on.
    2. Start the engine and check that the light goes off.

      If the light does not operate as specified, troubleshoot the charge warning light circuit.

  10. CHECK CHARGING CIRCUIT WITHOUT LOAD 
    1. According to the following procedure, connect an ammeter and voltmeter as shown in the illustration.
      1. Disconnect the wire from terminal B of the generator and connect it to the negative (-) lead of the ammeter.
      2. Connect the positive (+) lead of the ammeter to terminal B of the generator.
      3. Connect the positive (+) lead of the voltmeter to the positive (+) terminal of the battery.
      4. Ground the negative (-) lead of the voltmeter.
    2. Check the charging circuit.
      Fig 5: Checking Charging Circuit
      G05268542Courtesy of © TOYOTA, LICENSE AGREEMENT TMS1002
      1. While keeping the engine speed at 2,000 rpm, check the readings on the ammeter and voltmeter.

        Standard amperage: 

        10 A or less 

        Standard voltage: 

        13.2 to 14.8 V 

        If the results are not as specified, replace the generator assembly.

        HINT:

        If the battery is not fully charged, the ammeter reading may be more than the standard amperage.

  11. CHECK CHARGING CIRCUIT WITH LOAD 
    1. Keep the engine speed at 2,000 rpm, turn on the high beam headlights, and turn the heater blower switch to the "HI" position.
    2. Check the reading on the ammeter.

      Standard amperage: 

      30 A or more 

      If the ammeter reading is less than the standard amperage, replace the generator assembly.

      HINT:

      If the battery is fully charged, the ammeter reading may be less than the standard amperage. In this case, increase electrical load by operating devices such as the wiper motor and rear window defogger. Then, recheck the reading on the ammeter.