lemon-mirror:
Home >> Lexus >> 2007 >> RX 350 FWD >> Repair and Diagnosis >> Electrical >> Charging Systems >> Charging >> Generator >> Reassembly

Charging Systems: Charging: Generator: Reassembly

  1. INSTALL GENERATOR DRIVE END FRAME BEARING 
    1. Using SST and a press, press in a new generator drive end frame bearing.

      SST 09950-60010 (09951-00470), 09950-70010 (09951-07100) 

      Fig 1: Using SST & Press To Press In New Generator Drive End Frame Bearing
      G05268574Courtesy of © TOYOTA, LICENSE AGREEMENT TMS1002
    2. Fit the tabs on the retainer plate into the cutouts on the drive end frame to install the retainer plate.
    3. Install the 4 screws.

      Torque: 2.3 N*m (23 kgf*cm, 20 in.*lbf) 

      Fig 2: Identifying Retainer Plate Screws
      G05268575Courtesy of © TOYOTA, LICENSE AGREEMENT TMS1002
  2. INSTALL GENERATOR ROTOR ASSEMBLY 
    1. Place the drive end frame on the clutch pulley.
    2. Install the generator rotor assembly to the drive end frame.
      Fig 3: Identifying Generator Rotor Assembly & Drive End Frame
      G05268576Courtesy of © TOYOTA, LICENSE AGREEMENT TMS1002
    3. Place a new generator washer on the generator rotor.
      Fig 4: Identifying Generator Washer
      G05268577Courtesy of © TOYOTA, LICENSE AGREEMENT TMS1002
  3. INSTALL GENERATOR COIL ASSEMBLY 
    1. Using a deep socket wrench (21 mm) and a press, slowly press in the generator coil assembly.
      Fig 5: Identifying Generator Coil Assembly
      G05268578Courtesy of © TOYOTA, LICENSE AGREEMENT TMS1002
    2. Install the 4 bolts.

      Torque: 5.8 N*m (59 kgf*cm, 51 in.*lbf) 

      Fig 6: Identifying Generator Coil Assembly Bolts
      G05268579Courtesy of © TOYOTA, LICENSE AGREEMENT TMS1002
  4. INSTALL GENERATOR BRUSH HOLDER ASSEMBLY 
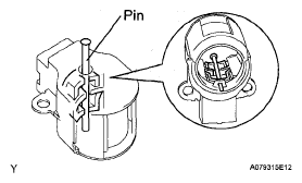
    1. While pushing the 2 brushes into the generator brush holder assembly, insert a ø 1.0 mm (0.039 in.) pin into the brush holder hole.
    2. Fig 7: Identifying Generator Brush Holder Assembly
      G05268580Courtesy of © TOYOTA, LICENSE AGREEMENT TMS1002
    3. Install the brush holder assembly to the generator coil with the 2 screws.

      Torque: 1.8 N*m (18 kgf*cm, 16 in.*lbf) 

      Fig 8: Identifying Brush Holder Assembly Pin
      G05268581Courtesy of © TOYOTA, LICENSE AGREEMENT TMS1002
    4. Pull out the pin from the generator brush holder.
  5. INSTALL GENERATOR TERMINAL INSULATOR 
    1. Install the terminal insulator to the generator coil.
      NOTE: Be sure to install the terminal insulator in the correct direction.
      Fig 9: Identifying Terminal Insulator
      G05268582Courtesy of © TOYOTA, LICENSE AGREEMENT TMS1002
  6. INSTALL GENERATOR REAR END COVER 
    1. Install the generator rear end cover to the generator coil with the 3 nuts.

      Torque: 4.6 N*m (47 kgf*cm, 41 in.*lbf) 

      Fig 10: Identifying End Cover Nuts
      G05268583Courtesy of © TOYOTA, LICENSE AGREEMENT TMS1002
  7. REMOVE GENERATOR CLUTCH PULLEY 
    1. Temporarily install the clutch pulley onto the rotor shaft.
    2. Set SST (A) and (B).

      SST 09820-63020 

      Fig 11: Setting Rotor Shaft To SST
      G05268584Courtesy of © TOYOTA, LICENSE AGREEMENT TMS1002
    3. Clamp SST (A) in a vise.
    4. Place the rotor shaft end into SST (A).
      Fig 12: Placing Rotor Shaft End Into SST
      G05268585Courtesy of © TOYOTA, LICENSE AGREEMENT TMS1002
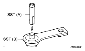
    5. Fit SST (B) to the clutch pulley.
      Fig 13: Fitting SST To Clutch Pulley
      G05268586Courtesy of © TOYOTA, LICENSE AGREEMENT TMS1002
    6. Tighten the pulley by turning SST (B) in the direction shown below.
      Fig 14: Identifying SST Turning Direction
      G05268587Courtesy of © TOYOTA, LICENSE AGREEMENT TMS1002

      Torque: 111 N*m (1,125 kgf*cm, 81 ft.*lbf) 

      NOTE: The torque shown above should be used for tightening without using the SST. When the SST is used for tightening, the torque should be calculated based on the length of the SST (See REPAIR INSTRUCTION ).
    7. Remove the generator assembly from the SST.
    8. Check that the clutch pulley rotates smoothly.
    9. Install a new clutch pulley cap to the clutch pulley.