lemon-mirror:
Home >> Lexus >> 2007 >> RX 400h FWD >> Repair and Diagnosis >> Engine Performance >> Tune-Up >> Ignition >> Ignition System >> System Diagram

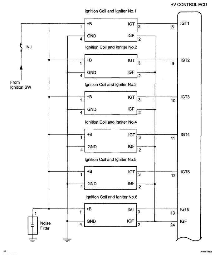
System Diagram

Fig 1: Ignition System Diagram (1 Of 2)
G05276679Courtesy of © TOYOTA, LICENSE AGREEMENT TMS1002
Fig 2: Ignition System Diagram (2 Of 2)
G05276680Courtesy of © TOYOTA, LICENSE AGREEMENT TMS1002