lemon-mirror:
Home >> Lexus >> 2007 >> SC 430 >> Repair and Diagnosis >> Body & Frame >> Exterior/Interior Trim >> Multiplex Communication >> Multiplex Communication System >> System Diagram

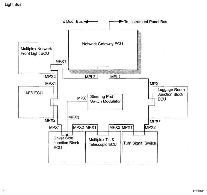
System Diagram

SYSTEM DIAGRAM REFERENCE CHART

Item Details
Connected ECUs*1 21
Communication Frame*2 100
Gateway Function BEAN x Diagnosis Network Gateway ECU
BEAN x AVC-LAN Network Gateway ECU Network Gateway ECU
ECU in charge of vehicle information of the customized body electronics system Network Gateway ECU
Troubleshooting the multiplex communication system The DTCs (Diagnostic Trouble Codes) of the Gateway ECU are checked on the intelligent tester
Communication Speed 10 Kbps*3
HINT:
*1: Optional ECUs are also included.
*2: A group of data that is required for a single instance of communication.
*3: A unit of data transmission per second (bits per second).
Fig 1: Multiplex Communication System Diagram - Entire System (1 Of 2)
G05294391Courtesy of © TOYOTA, LICENSE AGREEMENT TMS1002
Fig 2: Multiplex Communication System Diagram - Entire System (2 Of 2)
G05294392Courtesy of © TOYOTA, LICENSE AGREEMENT TMS1002
Fig 3: Multiplex Communication System Diagram - Door Bus
G05294393Courtesy of © TOYOTA, LICENSE AGREEMENT TMS1002
Fig 4: Multiplex Communication System Diagram - Instrument Panel Bus
G05294394Courtesy of © TOYOTA, LICENSE AGREEMENT TMS1002
Fig 5: Multiplex Communication System Diagram - Line Bus
G05294395Courtesy of © TOYOTA, LICENSE AGREEMENT TMS1002
Fig 6: Multiplex Communication System Diagram - AVC-LAN
G05294396Courtesy of © TOYOTA, LICENSE AGREEMENT TMS1002