lemon-mirror:
Home >> Lexus >> 2007 >> SC 430 >> Repair and Diagnosis >> Body & Frame >> Windows >> Windshield/WINDOWGLASS >> Back Window Glass >> Installation

Back Window Glass: Installation

HINT:

A bolt without a torque specification is shown in the standard bolt chart.

  1. INSTALL BACK WINDOW GLASS ADHESIVE DAM 
    1. Apply primer G to the installation part of the glass adhesive dam.
      NOTE:
      • Allow the primer G to dry for 3 minutes or more.
      • Throw away any leftover Primer G.
      • Do not apply too much Primer G.
    2. Remove the peeling paper from the adhesive part of the dam. Install the dam (adhesive side) to the glass (Primer G area) as shown in the illustration.

      Standard measurement 

      AREA MEASUREMENT SPECIFIED CONDITION

      Area Measurement
      a 0.7 mm (0.028 in.)
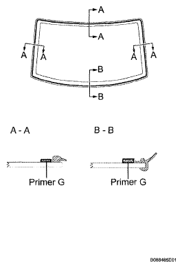
  2. INSTALL BACK WINDOW OUTSIDE MOULDING 
    1. Using a brush or sponge, apply Primer G to the glass where the moulding will be installed.
      NOTE:
      • Allow the Primer G to dry for 3 minutes or more.
      • Throw away any leftover Primer G.
      • Do not apply too much Primer G.
    2. Install the back window outside moulding.
      Fig 1: Identifying Primer G Area Of Glass
      G05293489Courtesy of © TOYOTA, LICENSE AGREEMENT TMS1002
  3. INSTALL BACK WINDOW PACKING 
    1. Using a brush, apply Primer M to the exposed part of the vehicle body.
      NOTE:
      • Allow the Primer M to dry for 3 minutes or more.
      • Throw away any leftover Primer M.
    2. Install the back window packing.
      Fig 2: Installing Back Window Packing
      G05293490Courtesy of © TOYOTA, LICENSE AGREEMENT TMS1002
  4. INSTALL BACK WINDOW GLASS 
    1. Clean and shape the contact surface of the vehicle body.
      1. On the contact surface of the vehicle body, use a knife to cut away excess adhesive as shown in the illustration.

        HINT:

        Leave as much adhesive on the vehicle body as possible.

        NOTE: Be careful not to damage the vehicle body.
        Fig 3: Identifying Adhesive Area Of Vehicle Body
        G05293491Courtesy of © TOYOTA, LICENSE AGREEMENT TMS1002
      2. Clean the contact surface of the vehicle body with cleaner.

        HINT:

        Even if all the adhesive has been removed, clean the vehicle body.

    2. Position the glass.
      1. Using a suction cup, place the glass in the correct position.
      2. Check that the entire contact surface of the glass rim is perfectly even.
      3. Place matchmarks over the glass and vehicle body on the locations indicated in the illustration.

        HINT:

        • Placing matchmarks is only necessary if the glass being installed is new. If it is reused glass, matchmarks should already be present.
          Fig 4: Identifying Glass Position
          G05293492Courtesy of © TOYOTA, LICENSE AGREEMENT TMS1002
        • When reusing the glass, check and correct the match-mark positions.
      4. Using a suction cup, remove the glass.
    3. Using a brush, apply Primer M to the exposed part of the vehicle body.
      NOTE:
      • Allow the Primer M to dry for 3 minutes or more.
      • Do not apply Primer M to the adhesive.
      • Throw away any leftover Primer M.
      • Do not apply too much Primer M.
        Fig 5: Applying Primer M To Exposed Part Of Vehicle Body
        G05293493Courtesy of © TOYOTA, LICENSE AGREEMENT TMS1002
    4. Using a brush or sponge, apply Primer G to the contact surface of the glass.
      NOTE:
      • Allow the Primer M to dry for 3 minutes or more.
      • Throw away any leftover Primer G.
      • Do not apply too much Primer G.

      HINT:

      if Primer G is applied to an area that is not specified, apply white gasoline to a clean cloth and wipe off the excess primer.

      Fig 6: Identifying Primer Area Of Glass
      G05293494Courtesy of © TOYOTA, LICENSE AGREEMENT TMS1002
    5. Apply adhesive to the glass.

      Adhesive: Toyota Genuine Windshield Glass Adhesive or Equivalent 

      1. Cut off the tip of the cartridge nozzle as shown in the illustration.

        HINT:

        After cutting off the tip, use all adhesive within the time written in the table below.

        Usage time frame 

        TEMPERATURE SPECIFIED CONDITION

        Temperature Usage Time Frame
        35°C (95°F) 15 minutes
        20°C (68°F) 1 hour 40 minutes
        5°C (41°F) 8 hours
    6. Load the sealer gun with the cartridge.
    7. Apply adhesive to the glass as shown in the illustration.

      Standard measurement 

      AREA SPECIFIED CONDITION

      Area Specified Condition
      a 12.0 mm(0.472 in.)
      b 8.0 mm(0.315 in.)
      c 14.5 mm(0.571 in.)
      Fig 7: Applying Adhesive To Glass
      G05293495Courtesy of © TOYOTA, LICENSE AGREEMENT TMS1002
    8. Install the glass to the vehicle body.
      1. Using a suction cup, position the glass so that the matchmarks are aligned. Press it in gently along the rim.
      2. Lightly press the front surface of the glass to ensure that it is securely fit to the vehicle body.
        NOTE: Check that the vehicle body and glass have a small gap between them.
      3. Hold the glass in place securely with protective tape or equivalent until the adhesive hardens.
        Fig 8: Installing Glass To Vehicle Body
        G05293496Courtesy of © TOYOTA, LICENSE AGREEMENT TMS1002
      4. Using a scraper, remove any excess or protruding adhesive.
        Fig 9: Removing Adhesive
        G05293497Courtesy of © TOYOTA, LICENSE AGREEMENT TMS1002
        NOTE: Do not drive the vehicle for the amount of time written in the table below.

        HINT:

        Apply adhesive on the glass rim.

        Minimum time 

        TEMPERATURE SPECIFIED CONDITION

        Temperature Minimum time prior to driving vehicle
        35°C (95°F) 1 hour 30 minutes
        20°C (68°F) 5 hours
        5°C (41°F) 24 hours
        Fig 10: Applying Adhesive On Glass Rim
        G05293498Courtesy of © TOYOTA, LICENSE AGREEMENT TMS1002
  5. INSTALL REAR ROOF HEADLINING ASSEMBLY (See  REASSEMBLY  ) 
  6. INSTALL ROOF SIDE GARNISH INNER LH (See  REASSEMBLY  ) 
  7. INSTALL ROOF SIDE GARNISH INNER RH (See  REASSEMBLY  ) 
  8. CHECK FOR LEAKS AND REPAIR 
    1. Conduct a leak test after the adhesive has completely hardened.
    2. Seal any leaks with auto glass sealer.