lemon-mirror:
Home >> Lexus >> 2007 >> SC 430 >> Repair and Diagnosis >> Body & Frame >> Windows >> Windshield/WINDOWGLASS >> Defogger Relay >> On-Vehicle Inspection

On-Vehicle Inspection

  1. REMOVE DEFOGGER RELAY (Marking: DEFOG) 
    1. Remove the defogger relay from the luggage room junction block.
  2. INSPECT DEFOGGER RELAY 
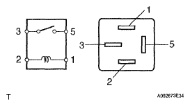
    1. Measure the resistance of the relay.

      Standard resistance 

      TESTER CONNECTION SPECIFIED CONDITION

      Tester Connection Specified Condition
      3 - 5 10 kΩ or higher
      3 - 5 Below 1 Ω (when battery voltage is applied to terminals 1 and 2)

      If the result is not as specified, replace the relay.

      Fig 1: Identifying Relay Terminals
      G05293519Courtesy of © TOYOTA, LICENSE AGREEMENT TMS1002
  3. INSTALL DEFOGGER RELAY