lemon-mirror:
Home >> Lexus >> 2007 >> SC 430 >> Repair and Diagnosis >> Body & Frame >> Windows >> Windshield/WINDOWGLASS >> Quarter Window Glass >> Components

Quarter Window Glass: Components

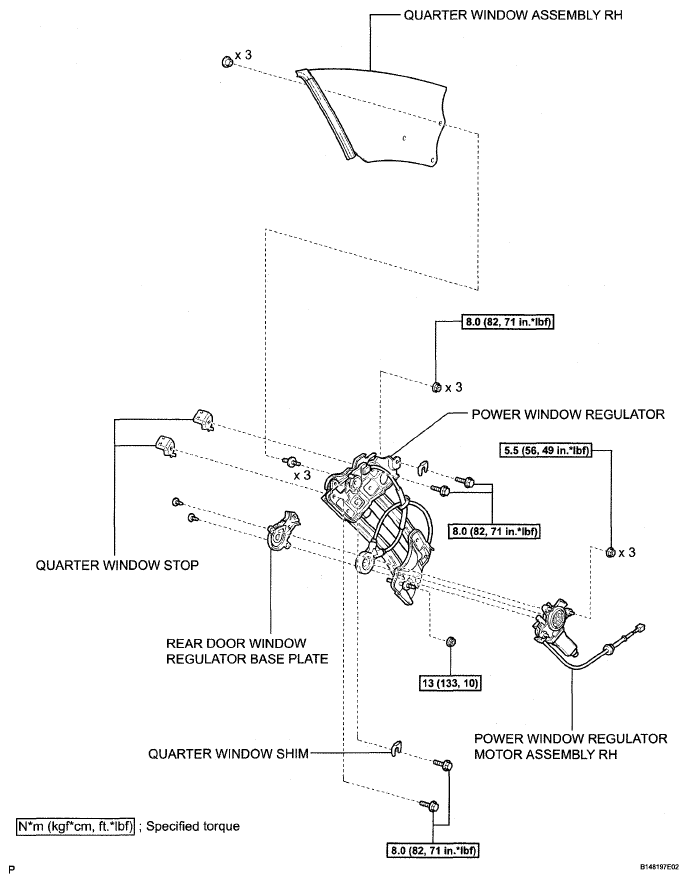
Fig 1: Quarter Window Glass Replacement Components With Torque Specifications (1 Of 3)
G05293525Courtesy of © TOYOTA, LICENSE AGREEMENT TMS1002
Fig 2: Identifying Quarter Window Glass Components (2 Of 3)
G05293526Courtesy of © TOYOTA, LICENSE AGREEMENT TMS1002
Fig 3: Quarter Window Glass Replacement Components With Torque Specifications (3 Of 3)
G05293527Courtesy of © TOYOTA, LICENSE AGREEMENT TMS1002