lemon-mirror:
Home >> Lexus >> 2007 >> SC 430 >> Repair and Diagnosis >> Brakes >> Traction Control >> Brake Control >> Vehicle Stability Control System >> Skid Control Buzzer Circuit >> Inspection Procedure

Inspection Procedure

  1. PERFORM ACTIVE TEST BY INTELLIGENT TESTER (SKID CONTROL BUZZER) 
    1. Using the intelligent tester's ACTIVE TEST, generate a control command and then check that the skid control buzzer operates.

      Skid control ECU 

      DIAGNOSTIC NOTE CHART

      Item Diagnostic Note
      VSC/BR WARN BUZ Buzzer can be heard

      OK: Skid control buzzer can be heard. 

    OK: REPLACE SKID CONTROL ECU 

    NG: Go to Next Step 

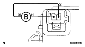
  2. INSPECT SKID CONTROL BUZZER 
    Fig 1: Inspecting Skid Control Buzzer
    G05290698Courtesy of © TOYOTA, LICENSE AGREEMENT TMS1002
    1. Disconnect the skid control buzzer connector.
    2. Apply battery voltage to terminals 1 and 2 of the skid control buzzer connector, and then check that the buzzer sounds.

      OK: Buzzer sound can be heard. 

    NG: REPLACE SKID CONTROL BUZZER 

    OK: Go to Next Step 

  3. CHECK WIRE HARNESS (SKID CONTROL BUZZER - SKID CONTROL ECU AND BATTERY) 
    Fig 2: Checking Wire Harness (Skid Control Buzzer - Skid Control ECU And Battery)
    G05290699Courtesy of © TOYOTA, LICENSE AGREEMENT TMS1002
    1. Disconnect the V8 buzzer connector.
    2. Disconnect the S7 ECU connector.
    3. Measure the resistance of the wire harness side connectors.

      Standard resistance 

      TESTER CONNECTION SPECIFIED CONDITION CHART

      Tester Connection Specified Condition
      S7-2 (BZ) - V8-1 Below 1 Ω
      S7-2 (BZ) - Body ground 10 kΩ or higher
    4. Turn the ignition switch ON.
    5. Measure the voltage of the wire harness side connectors.

      Standard voltage 

      TESTER CONNECTION SPECIFIED CONDITION CHART

      Tester Connection Specified Condition
      V8-2 - Body ground 10 to 14 V

    NG: REPAIR OR REPLACE HARNESS AND CONNECTOR 

    OK: REPLACE SKID CONTROL ECU