lemon-mirror:
Home >> Lexus >> 2007 >> SC 430 >> Repair and Diagnosis >> Transmission >> Automatic Trans >> Automatic Transaxle >> Automatic Transmission Unit >> Reassembly

Automatic Transmission Unit: Reassembly

  1. BEARING POSITION 
    Fig 1: Exploded View Of Bearing
    G05289945Courtesy of © TOYOTA, LICENSE AGREEMENT TMS1002

    Bearing Position 

    BEARING POSITION REFERENCE CHART

    Mark Front Race Diameter Inside/Outside Thrust Bearing Diameter Inside/Outside Rear Race Diameter Inside/Outside
    A 74.2 mm (2.921 in.) / 87.74 mm (3.454 in.) 71.9 mm (2.831 in.) / 85.6 mm (3.370 In.) -
    B 38.0 mm (1.496 in.) / 57.0 mm (2.244 in.) 43.4 mm (1.709 in.) / 58.3 mm (2.295 in.) -
    C - 55.7 mm (2.193 in.) / 76.4 mm (3.008 in.) -
    D - - 53.7 mm (2.114 in.) / 74.0 mm (2.913 in.)
    E 33.4 mm (1.315 in.) / 49.0 mm (1.929 in.) 32.1 mm (1.264 in.) / 49.35 mm (1.943 in.) 32.1 mm (1.264 in.)/49.0 mm (1.929 in.)
    F - 21.5 mm (0.847 in.) / 40.8 mm (1.606 in.) -
    G - 43.6 mm (1.717 in.) / 61.0 mm (2.402 in.) 47.1 mm (1.854 in.) / 67.1 mm (2.642 in.)
    H 37 mm (1.45 in.)/52.3 mm (2.059 in.) 34.6 mm (1.362 in.) / 52.0 mm (2.047 in.) -
    I 36.9 mm (1.453 in.) / 49.7 mm (1.957 in.) 36.1 mm (1.421 in.) / 52.5 mm (2.067 in.) 36.1 mm (1.421 in.)/51.0 mm (2.007 in.)
  2. INSTALL NO. 4 BRAKE PISTON 
    1. Coat 2 new O-rings with ATF, and install them to the brake reaction sleeve.
    2. Coat 2 new O-rings with ATF, and install them to the brake piston.
    3. Install the brake piston to the reaction sleeve.
      NOTE: Do not damage the O-rings.
      Fig 2: Identifying O-Ring
      G05289946Courtesy of © TOYOTA, LICENSE AGREEMENT TMS1002
  3. INSTALL BRAKE REACTION SLEEVE 
    1. Coat a new O-ring with ATF, and install it to the reaction sleeve.
    2. Install the brake reaction sleeve and the No. 4 brake piston to the transmission case.
      NOTE:
      • Do not damage the O-rings.
      • Make sure the No. 4 brake piston is underneath the brake reaction sleeve.
        Fig 3: Identifying Brake Reaction Sleeve And No. 4 Brake Piston
        G05289947Courtesy of © TOYOTA, LICENSE AGREEMENT TMS1002
  4. INSTALL 1st AND REVERSE BRAKE PISTON 
    1. Coat a new O-ring with ATF.
    2. Install the O-ring on the 1st and reverse brake piston.
    3. With the spring seat of the piston facing upwards (the front side), place the piston in the transmission case.
      NOTE: Do not damage the O-ring.
    4. Place the brake return spring onto the No. 4 brake piston.
      Fig 4: Identifying 1st And Reverse Brake Piston
      G05289948Courtesy of © TOYOTA, LICENSE AGREEMENT TMS1002
      Fig 5: Locating Brake Return Spring
      G05289949Courtesy of © TOYOTA, LICENSE AGREEMENT TMS1002
  5. INSTALL 1st AND REVERSE BRAKE RETURN SPRING SUB-ASSEMBLY 
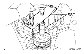
    1. Place SST on the brake return spring, and compress the return spring.

      SST 09350-30020 (09350-07050) 

    2. Using SST, install the snap ring.

      SST 09350-30020 (09350-07070) 

      Fig 6: Installing Snap Ring
      G05289950Courtesy of © TOYOTA, LICENSE AGREEMENT TMS1002
    3. Install the brake apply tube with its protruding part fitting into the groove of the transmission case as shown in the illustration.
      NOTE: Engage the 1st and reverse brake piston claw with the protrusion of the brake apply tube.
      Fig 7: Installing Brake Apply Tube
      G05289951Courtesy of © TOYOTA, LICENSE AGREEMENT TMS1002
  6. INSTALL REAR PLANETARY GEAR ASSEMBLY 
    1. Install the No. 9 thrust bearing race.

      Standard race diameter 

      ITEM REFERENCE CHART

      Item Inside Outside
      Thrust bearing race 47.1 mm (1.854 in.) 67.1 mm (2.642 in.)
      Fig 8: Identifying No. 9 Thrust Bearing Race
      G05289952Courtesy of © TOYOTA, LICENSE AGREEMENT TMS1002
    2. Install the 2 thrust needle roller bearings.

      Standard thrust needle roller bearing diameter 

      ITEM REFERENCE CHART

      Item Inside Outside
      Bearing A 21.5 mm (0.847 in.) 40.8 mm (1.606 in.)
      Bearing B 43.6 mm (1.717 in.) 61.0 mm (2.402 in.)
      Fig 9: Identifying Thrust Needle Roller Bearings
      G05289953Courtesy of © TOYOTA, LICENSE AGREEMENT TMS1002
    3. Install the rear planetary gear assembly.
      Fig 10: Identifying Rear Planetary Gear Assembly
      G05289954Courtesy of © TOYOTA, LICENSE AGREEMENT TMS1002
  7. INSPECT PACK CLEARANCE OF 1st AND REVERSE BRAKE PISTON (See  INSPECTION   ) 
  8. INSTALL NO. 4 BRAKE DISC 
    1. Install the sleeve, 4 plates, 4 discs and flange.

      Install in order: S-P-D-P-D-P-D-P-D-F 

      HINT:

      S = Sleeve

      P = Plate

      D = Disc

      F = Flange

      Fig 11: Identifying Sleeve, Plates, Discs And Flange
      G05289955Courtesy of © TOYOTA, LICENSE AGREEMENT TMS1002
  9. INSTALL BRAKE PLATE STOPPER SPRING 
    1. Install the brake plate stopper spring.
      Fig 12: Locating Brake Plate Stopper Spring
      G05289956Courtesy of © TOYOTA, LICENSE AGREEMENT TMS1002
  10. INSTALL REAR PLANETARY RING GEAR FLANGE SUB-ASSEMBLY 
    1. Install the No. 8 thrust bearing race, the thrust needle roller bearing, the No. 7 thrust bearing race and the planetary ring gear flange to the intermediate shaft.
      Fig 13: Identifying No. 8 Thrust Bearing Race, Thrust Needle Roller Bearing And No. 7 Thrust Bearing Race
      G05289957Courtesy of © TOYOTA, LICENSE AGREEMENT TMS1002

      Standard bearing and race diameter 

      ITEM REFERENCE CHART

      Item Inside Outside
      No. 7 thrust bearing race 33.4 mm (1.315 in.) 49.0 mm (1.929 in.)
      Thrust needle roller bearing 32.1 mm (1.264 in.) 49.35 mm (1.943 in.)
      No. 8 thrust bearing race 32.1 mm (1.264 in.) 49.0 mm (1.929 in.)
  11. INSTALL NO. 3 1-WAY CLUTCH ASSEMBLY 
    1. Install the 1-way clutch assembly and the 1-way clutch inner race to the intermediate shaft.
      Fig 14: Identifying No. 3 1-Way Clutch Assembly And 1-Way Clutch Inner Race
      G05289958Courtesy of © TOYOTA, LICENSE AGREEMENT TMS1002
  12. INSTALL INTERMEDIATE SHAFT 
    1. Install the intermediate shaft with the No. 3 1-way clutch assembly to the transmission case.
      Fig 15: Identifying Intermediate Shaft
      G05289959Courtesy of © TOYOTA, LICENSE AGREEMENT TMS1002
    2. Using SST, install the snap ring.

      SST 09350-30020 (09350-07060) 

      Fig 16: Installing Snap Ring
      G05289960Courtesy of © TOYOTA, LICENSE AGREEMENT TMS1002
  13. INSTALL CENTER PLANETARY GEAR ASSEMBLY 
    1. Install the center planetary gear and planetary sun gear to the transmission case.
    2. Coat the thrust bearing race with petroleum jelly, and install it onto the center planetary ring gear.

      Standard race diameter 

      ITEM REFERENCE CHART

      Item Inside Outside
      Race 53.7 mm (2.114 in.) 74.0 mm (2.913 in.)
      Fig 17: Identifying Center Planetary Gear Assembly
      G05289961Courtesy of © TOYOTA, LICENSE AGREEMENT TMS1002
  14. INSTALL NO. 2 BRAKE PISTON 
    1. Coat 2 new O-rings with ATF, and install them to the brake piston.
    2. Being careful not to damage the O-rings, press the brake piston into the brake cylinder.
    3. Install the brake piston to the transmission case.

      HINT:

      Install the brake cylinder so that the projection protrudes from the upper side of the transmission case.

      Fig 18: Identifying O-Rings
      G05289962Courtesy of © TOYOTA, LICENSE AGREEMENT TMS1002
    4. Check that the oil pressure apply hole of the brake cylinder aligns with the oil pressure apply hole of the transmission case.
      Fig 19: Identifying Brake Cylinder Hole
      G05289963Courtesy of © TOYOTA, LICENSE AGREEMENT TMS1002
  15. INSTALL NO. 2 BRAKE DISC 
    1. Install the brake piston return spring, 2 flanges, 4 discs and 3 plates.

      Install in order: F-D-P-D-P-D-P-D-F 

      HINT:

      F = Flange

      P = Plate

      D = Disc

      Fig 20: Identifying Brake Piston Return Spring, Flanges, Discs And Plates
      G05289964Courtesy of © TOYOTA, LICENSE AGREEMENT TMS1002
    2. Using SST and a press, compress the spring and install the No. 2 brake spring snap ring.
      Fig 21: Installing No. 2 Brake Spring Snap Ring
      G05289965Courtesy of © TOYOTA, LICENSE AGREEMENT TMS1002

      SST 09351 -40010 (09351 -04010, 09351 -04020, 09351-04040, 09351-04050) 

  16. INSPECT NO. 2 PISTON STROKE OF BRAKE PISTON (See  INSPECTION   ) 
  17. INSTALL NO. 1 BRAKE PISTON 
    1. Coat 2 new O-rings with ATF, and install them on the brake piston.
    2. Being careful not to damage the O-rings, press the brake piston into the brake cylinder.
      Fig 22: Identifying O-Rings
      G05289966Courtesy of © TOYOTA, LICENSE AGREEMENT TMS1002
  18. INSTALL BRAKE PISTON RETURN SPRING SUB-ASSEMBLY 
    1. Install the brake piston return spring and the No. 1 brake piston with the No. 1 brake cylinder to the transmission case.

      HINT:

      Install the No. 1 brake cylinder so that the projection protrudes from the upper side of the transmission case.

      Fig 23: Identifying Brake Piston Return Spring And No. 1 Brake Piston With No. 1 Brake Cylinder
      G05289967Courtesy of © TOYOTA, LICENSE AGREEMENT TMS1002
    2. Check that the oil pressure apply hole of the No. 1 brake cylinder aligns with the oil pressure apply hole of the transmission case.
      Fig 24: Identifying Oil Pressure Apply Hole Of No. 1 Brake Cylinder
      G05289968Courtesy of © TOYOTA, LICENSE AGREEMENT TMS1002
  19. INSTALL BRAKE PISTON RETURN SPRING SNAP RING 
    1. Using SST and a press, compress the spring and install the brake piston return spring snap ring.
      Fig 25: Compressing Brake Piston Return Spring Snap Ring
      G05289969Courtesy of © TOYOTA, LICENSE AGREEMENT TMS1002

      SST 09351-40010 (09351-04010, 09351-04030, 09351-04040, 09351-04050) 

  20. INSTALL CENTER PLANETARY RING GEAR 
    1. Install the thrust needle roller bearing to the front planetary ring gear flange.

      Standard thrust needle roller bearing diameter 

      ITEM REFERENCE CHART

      Item Inside Outside
      Thrust needle roller bearing 55.7 mm (2.193 in.) 76.4 mm (3.008 in.)
    2. Install the center planetary ring gear and front planetary ring gear flange on the front planetary ring gear.
      Fig 26: Identifying Center Planetary Ring Gear And Front Planetary Ring Gear Flange
      G05289970Courtesy of © TOYOTA, LICENSE AGREEMENT TMS1002
    3. Using a screwdriver, install the snap ring.
      NOTE: Install the snap ring to the ring gear so that both ends of the snap ring come to the center of a protrusion on the ring gear.
      Fig 27: Installing Snap Ring
      G05289971Courtesy of © TOYOTA, LICENSE AGREEMENT TMS1002
  21. INSTALL FRONT PLANETARY RING GEAR 
    1. Install the front planetary ring gear to the transmission case.
      Fig 28: Identifying Front Planetary Ring Gear
      G05289972Courtesy of © TOYOTA, LICENSE AGREEMENT TMS1002
  22. INSTALL FRONT PLANETARY GEAR ASSEMBLY 
    1. Install the thrust needle roller bearing and thrust washer.
      Fig 29: Identifying Thrust Needle Roller Bearing And Thrust Washer
      G05289973Courtesy of © TOYOTA, LICENSE AGREEMENT TMS1002
    2. Coat the thrust bearing race with petroleum jelly, and install it onto the front planetary ring gear.

      Standard thrust needle roller bearing and race diameter 

      ITEM REFERENCE CHART

      Item Inside Outside
      Bearing 43.4 mm (1.709 in.) 58.3 mm (2.295 in.)
      Race 38.0 mm (1.496 in.) 57.0 mm (2.244 in.)
    3. Install the front planetary gear assembly and the 1-way clutch inner race to the transmission case.
      Fig 30: Identifying Front Planetary Gear Assembly And 1-way Clutch Inner Race
      G05289974Courtesy of © TOYOTA, LICENSE AGREEMENT TMS1002
  23. INSPECT NO. 1 PISTON STROKE OF BRAKE PISTON (See  INSPECTION   ) 
  24. INSTALL NO. 1 BRAKE DISC 
    1. Install the flange, 3 discs and 3 plates.

      Install in order: F-D-P-D-P-D-P 

      HINT:

      F = Flange

      P = Plate

      D = Disc

      Fig 31: Identifying Flange, Discs And Plates
      G05289975Courtesy of © TOYOTA, LICENSE AGREEMENT TMS1002
  25. INSTALL 2nd BRAKE PISTON 
    1. Coat 2 new O-rings with ATF, and install them to the 2nd brake piston.
    2. Being careful not to damage the O-rings, press the 2nd brake piston into the 2nd brake cylinder.
      Fig 32: Identifying O-Rings
      G05289976Courtesy of © TOYOTA, LICENSE AGREEMENT TMS1002
    3. Using SST and a press, install the return spring with the snap ring.

      SST 09351 -40010 (09351 -04060, 09351 -04070) 

      NOTE: Be sure that the end gap of the snap ring is not aligned with the spring retainer claw.
      Fig 33: Installing Snap Ring
      G05289977Courtesy of © TOYOTA, LICENSE AGREEMENT TMS1002
  26. INSTALL 2nd BRAKE CYLINDER 
    1. Install the 2nd brake cylinder to the transmission case.
      Fig 34: Identifying 2nd Brake Cylinder
      G05289978Courtesy of © TOYOTA, LICENSE AGREEMENT TMS1002
    2. Check that the oil pressure apply hole of the brake cylinder aligns with the oil pressure apply hole of the transmission case.
      Fig 35: Identifying Brake Cylinder Hole
      G05289979Courtesy of © TOYOTA, LICENSE AGREEMENT TMS1002
  27. INSTALL 1-WAY CLUTCH ASSEMBLY 
    1. Install the 1-way clutch and thrust washer to the transmission case.
      Fig 36: Identifying 1-Way Clutch And Thrust Washer
      G05289980Courtesy of © TOYOTA, LICENSE AGREEMENT TMS1002
  28. INSTALL 2nd BRAKE PISTON HOLE SNAP RING 
    1. Using SST, install the snap ring.

      SST 09350-30020 (09350-07060) 

      Fig 37: Installing Snap Ring
      G05289981Courtesy of © TOYOTA, LICENSE AGREEMENT TMS1002
  29. INSTALL 2nd BRAKE DISC SET 
    1. Install the cushion plate, 4 plates, 4 discs and flange to the transmission case.

      Install in order: C-P-D-P-D-P-D-P-D-F 

      HINT:

      C = Cushion plate

      P = Plate

      D = Disc

      F = Flange

      Fig 38: Identifying Flanges, Discs, Plates And Cushion Plate
      G05289982Courtesy of © TOYOTA, LICENSE AGREEMENT TMS1002
  30. INSTALL NO. 3 BRAKE SNAP RING 
    1. Using a screwdriver, install the snap ring.
      Fig 39: Installing No. 3 Brake Snap Ring
      G05289983Courtesy of © TOYOTA, LICENSE AGREEMENT TMS1002
  31. INSTALL NO. 2 1-WAY CLUTCH ASSEMBLY 
    1. Install the 1-way clutch and washer to the clutch drum and input shaft.
      Fig 40: Identifying No. 2 1-way Clutch And Washer
      G05289984Courtesy of © TOYOTA, LICENSE AGREEMENT TMS1002
  32. INSTALL CLUTCH DRUM AND INPUT SHAFT 
    1. Install the thrust needle roller bearings and thrust washer.
    2. Coat the race with petroleum jelly and install it onto the clutch drum and input shaft.

      Standard thrust needle roller bearing and race diameter 

      Fig 41: Identifying Thrust Needle Roller Bearings And Clutch Drum Thrust Washer And Bearing Race
      G05289985Courtesy of © TOYOTA, LICENSE AGREEMENT TMS1002
      ITEM REFERENCE CHART

      Item Inside Outside
      Thrust needle roller bearing A 71.9 mm (2.831 in.) 85.6 mm (3.370 in.)
      Thrust needle roller bearing B 34.6 mm (1.362 in.) 52.0 mm (2.047 in.)
      Bearing Race 37.0 mm (1.457 in.) 52.3 mm (2.059 in.)
    3. Install the clutch drum and input shaft onto the transmission case.
      Fig 42: Installing Clutch Drum And Input Shaft
      G05289986Courtesy of © TOYOTA, LICENSE AGREEMENT TMS1002
  33. INSTALL OIL PUMP ASSEMBLY 
    1. Install the No. 1 thrust bearing race to the front oil pump.

      Standard thrust bearing race diameter 

      ITEM REFERENCE CHART

      Item Inside Outside
      Race 74.2 mm (2.921 in.) 87.74 mm (3.454 in.)
      Fig 43: Identifying No. 1 Thrust Bearing Race
      G05289987Courtesy of © TOYOTA, LICENSE AGREEMENT TMS1002
    2. Coat a new O-ring with ATF, and install it around the oil pump.
    3. Place the oil pump through the input shaft, and align the bolt holes of the oil pump with the transmission case.
    4. Hold the input shaft, and lightly press the oil pump body to slide the oil seal rings into the overdrive direct clutch drum.
      Fig 44: Identifying O-Ring
      G05289988Courtesy of © TOYOTA, LICENSE AGREEMENT TMS1002
    5. Install the 10 bolts.

      Torque: 21 N*m (214 kgf*cm, 15 ft.*lbf) 

      Fig 45: Installing Bolts
      G05289989Courtesy of © TOYOTA, LICENSE AGREEMENT TMS1002
  34. INSTALL MANUAL VALVE LEVER SHAFT OIL SEAL 
    1. Using SST and a hammer, tap in 2 new oil seals.
      Fig 46: Tapping Oil Seals
      G05289990Courtesy of © TOYOTA, LICENSE AGREEMENT TMS1002

      SST 09350-30020 (09350-07110) 

    2. Coat the lip of the oil seals with MP grease.
  35. INSPECT INDIVIDUAL PISTON OPERATION (See  INSPECTION   ) 
  36. INSTALL MANUAL VALVE LEVER SUB-ASSEMBLY 
    1. Install a new spacer to the manual valve lever.
    2. Install the manual valve lever shaft to the transmission case through the manual valve lever.
      Fig 47: Installing Spacer To Manual Valve Lever
      G05289991Courtesy of © TOYOTA, LICENSE AGREEMENT TMS1002
    3. Using a hammer, drive in a new spring pin.
      Fig 48: Tapping In Spring Pin
      G05289992Courtesy of © TOYOTA, LICENSE AGREEMENT TMS1002
    4. Align the manual valve lever indentation with the spacer hole, and stake them together with a punch.
    5. Make sure that the shaft rotates smoothly.
      Fig 49: Aligning Manual Valve Lever Indentation
      G05289993Courtesy of © TOYOTA, LICENSE AGREEMENT TMS1002
  37. INSTALL PARKING LOCK PAWL SHAFT 
    1. Install the E-ring to the shaft.
    2. Install the parking lock pawl, shaft and spring.
      Fig 50: Identifying Parking Lock Pawl Shaft, E-Ring And Spring
      G05289994Courtesy of © TOYOTA, LICENSE AGREEMENT TMS1002
  38. INSTALL PARKING LOCK ROD SUB-ASSEMBLY 
    1. Connect the parking lock rod to the manual valve lever.
      Fig 51: Identifying Parking Lock Rod Sub-Assembly
      G05289995Courtesy of © TOYOTA, LICENSE AGREEMENT TMS1002
  39. INSTALL PARKING LOCK PAWL BRACKET 
    1. Place the parking lock pawl bracket onto the transmission case and tighten the 3 bolts.

      Torque: 7.4 N*m (75 kgf*cm, 65 in.*lbf) 

      Fig 52: Locating Parking Lock Pawl Bracket Bolts
      G05289996Courtesy of © TOYOTA, LICENSE AGREEMENT TMS1002
    2. Shift the manual valve lever to the P position, and confirm that the planetary gear is correctly locked up by the lock pawl.
      Fig 53: Identifying Shift Manual Valve Lever And Planetary Ring Gear
      G05289997Courtesy of © TOYOTA, LICENSE AGREEMENT TMS1002
  40. INSTALL B-1 ACCUMULATOR VALVE 
    1. Install the 2 springs and accumulator valve to the hole.
      Fig 54: Identifying Springs And Accumulator Valve
      G05289998Courtesy of © TOYOTA, LICENSE AGREEMENT TMS1002

      Standard B-1 accumulator spring 

      Inner spring: 

      SPRING REFERENCE CHART

      Free Length Outer Diameter Color
      44.98 mm (1.7709 in.) 11.30 mm (0.445 in.) Not colored

      Outer spring: 

      SPRING REFERENCE CHART

      Free Length Outer Diameter Color
      46.36 mm (1.8252 in.) 17.10 mm (0.6732 in.) Not colored
      Fig 55: Identifying Spring And Accumulator Valve
      G05289999Courtesy of © TOYOTA, LICENSE AGREEMENT TMS1002
  41. INSTALL C-3 ACCUMULATOR PISTON 
    1. Coat 2 new O-rings with ATF, and install them to the piston.
      Fig 56: Identifying O-Ring With ATF
      G05290000Courtesy of © TOYOTA, LICENSE AGREEMENT TMS1002
    2. Install the 2 springs and accumulator piston to the hole.

      Standard C-3 accumulator spring 

      Inner spring: 

      SPRING REFERENCE CHART

      Free Length Outer Diameter Color
      44.0 mm (1.732 in.) 14.0 mm (0.551 in.) Yellow

      Outer spring: 

      SPRING REFERENCE CHART

      Free Length Outer Diameter Color
      76.65 mm (3.0178 in.) 20.10 mm (0.7913 in.) Not colored
      Fig 57: Identifying Accumulator Piston , Outer And Inner Spring
      G05290001Courtesy of © TOYOTA, LICENSE AGREEMENT TMS1002
  42. INSTALL B-3 ACCUMULATOR PISTON 
    1. Coat 2 new O-rings with ATF, and install them to the piston.
      Fig 58: Identifying O-Ring With ATF
      G05290002Courtesy of © TOYOTA, LICENSE AGREEMENT TMS1002
    2. Install the spring and accumulator piston to the hole.

      Standard accumulator spring 

      SPRING REFERENCE CHART

      Free Length Outer Diameter Color
      64.5 mm (2.539 in.) 19.5 mm (0.768 in.) Orange
      Fig 59: Identifying Spring And Accumulator Piston
      G05290003Courtesy of © TOYOTA, LICENSE AGREEMENT TMS1002
  43. INSTALL C-2 ACCUMULATOR PISTON 
    1. Coat 2 new O-rings with ATF, and install them to the piston.
      Fig 60: Identifying O-Ring With ATF
      G05290004Courtesy of © TOYOTA, LICENSE AGREEMENT TMS1002
    2. Install the spring and the accumulator piston to the hole.

      Standard accumulator spring 

      SPRING REFERENCE CHART

      Free Length Outer Diameter Color
      63.14 mm (2.4858 in.) 16.0 mm (0.6299 in.) Light Gray
      Fig 61: Identifying Spring And Accumulator Piston
      G05290005Courtesy of © TOYOTA, LICENSE AGREEMENT TMS1002
  44. INSTALL CHECK BALL BODY 
    1. Install the check ball body and spring.
      Fig 62: Identifying Check Ball Body And Spring
      G05290006Courtesy of © TOYOTA, LICENSE AGREEMENT TMS1002
  45. INSTALL BRAKE DRUM GASKET 
    1. Install the 3 brake drum gaskets.
      Fig 63: Identifying Brake Drum Gaskets
      G05290007Courtesy of © TOYOTA, LICENSE AGREEMENT TMS1002
  46. INSTALL TRANSMISSION CASE GASKET 
    1. Install the 3 transmission case gaskets.
      Fig 64: Identifying Transmission Case Gaskets
      G05290008Courtesy of © TOYOTA, LICENSE AGREEMENT TMS1002
  47. INSTALL TRANSMISSION VALVE BODY ASSEMBLY 
    1. Align the groove of the manual valve lever with the pin of the manual valve and install the pin.
      Fig 65: Identifying Manual Valve Lever Pin
      G05290009Courtesy of © TOYOTA, LICENSE AGREEMENT TMS1002
    2. Install the 20 bolts.

      Torque: 11 N*m (110 kgf*cm, 8 ft.*lbf) 

      HINT:

      Each bolt length is indicated below.

      Bolt length: 

      25 mm (0.98 in.) for bolt A 

      36 mm (1.42 in.) for bolt B 

      45 mm (1.77 in.) for bolt C 

      50 mm (1.97 in.) for bolt D 

      Fig 66: Identifying Bolts
      G05290010Courtesy of © TOYOTA, LICENSE AGREEMENT TMS1002
    3. Install the detent spring and detent spring cover with the bolt.

      Torque: 10 N*m (102 kgf*cm, 7 ft.*lbf) 

      Fig 67: Identifying Detent Spring And Detent Spring Cover Bolt
      G05290011Courtesy of © TOYOTA, LICENSE AGREEMENT TMS1002
  48. INSTALL TRANSMISSION WIRE 
    1. Install a new O-ring to the transmission wire.
    2. Install the transmission wire with the bolt.
    3. Install the bolt.

      Torque: 5.4 N*m (55 kgf*cm, 48 in.*lbf) 

      Fig 68: Locating Case Bolt
      G05290012Courtesy of © TOYOTA, LICENSE AGREEMENT TMS1002
    4. Connect the 9 solenoid connectors to the solenoid valves.
      Fig 69: Locating Solenoid Valves Connectors
      G05290013Courtesy of © TOYOTA, LICENSE AGREEMENT TMS1002
    5. Install the 2 clamps with the 2 bolts.

      Torque: 6.4 N*m (65 kgf*cm, 57 in.*lbf) for bolt A 

      10 N*m (102 kgf*cm, 7 ft.*lbf) for bolt B 

      Fig 70: Locating Clamps And Bolts
      G05290014Courtesy of © TOYOTA, LICENSE AGREEMENT TMS1002
    6. Install the ATF temperature sensor and lock plate with the bolt.

      Torque: 10 N*m (102 kgf*cm, 7 ft.*lbf) 

      Fig 71: Locating Lock Plate Bolt
      G05290015Courtesy of © TOYOTA, LICENSE AGREEMENT TMS1002
  49. INSTALL VALVE BODY OIL STRAINER ASSEMBLY 
    1. Coat a new O-ring with ATF, and install it to the valve body oil strainer.
    2. Install the oil strainer with the 4 bolts.

      Torque: 10 N*m (102 kgf*cm, 7 ft.*lbf) 

      Fig 72: Locating Oil Strainer Bolt
      G05290016Courtesy of © TOYOTA, LICENSE AGREEMENT TMS1002
  50. INSTALL TRANSMISSION OIL CLEANER MAGNET 
    1. Install the 3 transmission oil cleaner magnets.
      Fig 73: Identifying Magnet
      G05290017Courtesy of © TOYOTA, LICENSE AGREEMENT TMS1002
  51. INSTALL AUTOMATIC TRANSMISSION OIL PAN SUB-ASSEMBLY 
    1. Install a new gasket on the oil pan.
    2. Install and tighten the 20 bolts.

      Torque: 4.4 N*m (45 kgf*cm, 39 in.*lbf) 

    3. Install a new gasket and the drain plug.

      Torque: 20 N*m (204 kgf*cm, 15 ft.*lbf) 

    4. Install a new gasket and the overflow plug.

      Torque: 20 N*m (204 kgf*cm, 15 ft.*lbf) 

  52. INSTALL AUTOMATIC TRANSMISSION EXTENSION HOUSING OIL SEAL 
    1. Using SST and a hammer, tap in a new oil seal to the extension housing.

      SST 09309-37010 

      Standard oil seal depth: 1.8 to 2.2 mm (0.07 to 0.09 in.) 

      Fig 74: Tapping Oil Seal
      G05290018Courtesy of © TOYOTA, LICENSE AGREEMENT TMS1002
  53. INSTALL TRANSMISSION CASE ADAPTOR RADIAL BALL BEARING 
  54. INSTALL REAR COVER SLEEVE 
    1. Install the 2 washers and rear cover sleeve to the output shaft.
      Fig 75: Identifying Rear Cover Sleeve
      G05290019Courtesy of © TOYOTA, LICENSE AGREEMENT TMS1002
  55. INSTALL EXTENSION HOUSING SUB-ASSEMBLY 
    1. Install the thrust needle roller bearing and 2 bearing races.
    2. Using a snap ring expander, install a new snap ring.
      Fig 76: Installing Snap Ring
      G05290020Courtesy of © TOYOTA, LICENSE AGREEMENT TMS1002
    3. Using a feeler gauge, measure the clearance between the snap ring and race.

      Standard clearance: 0.02 to 0.12 mm (0.0008 to 0.0047 in.) 

      If the clearance is not as specified, select another race that brings the clearance within the standard.

      HINT:

      There are 12 different thicknesses for the race.

      Fig 77: Measuring Clearance Between Snap Ring And Race
      G05290021Courtesy of © TOYOTA, LICENSE AGREEMENT TMS1002

      Standard flange thickness 

      THICKNESS REFERENCE CHART

      No. Thickness No. Thickness
      1 3.80 mm (0.1496 in.) 7 4.10 mm (0.1614 in.)
      2 3.85 mm (0.1516 in.) 8 4.15 mm (0.1634 in.)
      3 3.90 mm (0.1535 in.) 9 4.20 mm (0.1653 in.)
      4 3.95 mm (0.1555 in.) 10 4.25 mm (0.1673 in.)
      5 4.00 mm (0.1575 in.) 11 4.30 mm (0.1693 in.)
      6 4.05 mm (0.1594 in.) 12 4.35 mm (0.1713 in.)
    4. Clean the threads of the bolts and the case with non-residue solvent.
    5. Apply seal packing to the extension housing as shown in the illustration.

      Seal packing: Toyota Genuine Seal Packing 1281, Three Bond 1281 or Equivalent 

      Fig 78: Identifying FIPG
      G05290022Courtesy of © TOYOTA, LICENSE AGREEMENT TMS1002
    6. Install the extension housing with the 6 bolts.

      Torque: 34 N*m (347 kgf*cm, 25 ft.*lbf) 

      HINT:

      Each bolt length is indicated below.

      Bolt length: 

      45 mm (1.772 mm) for bolt A 

      35 mm (1.378 mm) for bolt B 

      Fig 79: Identifying Extension Housing Bolts
      G05290023Courtesy of © TOYOTA, LICENSE AGREEMENT TMS1002
  56. INSTALL AUTOMATIC TRANSMISSION FLANGE YOKE ASSEMBLY 
    1. Using SST, install a new oil seal to the automatic transmission flange yoke.

      SST 09517-36010 

      Fig 80: Installing Oil Seal To Automatic Transmission Flange Yoke
      G05290024Courtesy of © TOYOTA, LICENSE AGREEMENT TMS1002
    2. Using SST and a 30 mm socket wrench, install and tighten a new nut.

      SST 09330-00021, 09950-30012 (09955-03040) 

      Torque: 126 N*m (1,285 kgf*cm, 93 ft.*lbf) 

    3. Using a chisel and hammer, securely stake the nut.
      Fig 81: Tightening Nut
      G05290025Courtesy of © TOYOTA, LICENSE AGREEMENT TMS1002
  57. INSTALL AUTOMATIC TRANSMISSION HOUSING 
    1. Clean the threads of the bolts and the case with non-residue solvent.
    2. Install the transmission housing with the 10 bolts.

      Torque: 34 N*m (347 kgf*cm, 25 ft.*lbf) for bolt A (14 mm head) 

      57 N*m (581 kgf*cm, 42 ft.*lbf) for bolt B (17 mm head) 

      Fig 82: Locating Threads Nut
      G05290026Courtesy of © TOYOTA, LICENSE AGREEMENT TMS1002
  58. INSTALL AUTOMATIC TRANSMISSION BREATHER TUBE 
    1. Install the breather tube with the 2 bolts.

      Torque: 5.4 N*m (55 kgf*cm, 48 in.*lbf) 

      Fig 83: Locating Breather Tube Bolts
      G05290027Courtesy of © TOYOTA, LICENSE AGREEMENT TMS1002
  59. INSTALL TRANSMISSION REVOLUTION SENSOR 
    1. Coat 2 new O-rings with ATF, and install them to the transmission revolution sensors.
    2. Install the 2 transmission revolution sensors with the 2 bolts.

      Torque: 5.4 N*m (55 kgf*cm, 48 in.*lbf) 

      Fig 84: Installing Transmission Revolution Sensors Bolts
      G05290028Courtesy of © TOYOTA, LICENSE AGREEMENT TMS1002
  60. INSTALL OIL COOLER TUBE UNION 
    1. Coat 2 new O-rings with ATF, and install them to the oil cooler tube unions.
    2. Install the oil cooler tube unions as shown in the illustration.

      Torque: 29 N*m (296 kgf*cm, 21 ft.*lbf) 

      Fig 85: Identifying Oil Cooler Tube Union Angle
      G05290029Courtesy of © TOYOTA, LICENSE AGREEMENT TMS1002
  61. INSTALL PARK/NEUTRAL POSITION SWITCH ASSEMBLY 
    1. Install the park/neutral position switch onto the manual valve lever shaft, and temporarily install the bolt.
    2. Install a new lock washer with the nut.

      Torque: 6.9 N*m (70 kgf*cm, 61 in.*lbf) 

      Fig 86: Identifying Nut, Lock Washer And Bolt
      G05290030Courtesy of © TOYOTA, LICENSE AGREEMENT TMS1002
    3. Using the control shaft lever, move the manual lever shaft back all the way and then forward 2 notches. It is now in neutral.
      Fig 87: Identifying Control Lever Shaft Position
      G05290031Courtesy of © TOYOTA, LICENSE AGREEMENT TMS1002
    4. Align the neutral basic line with the switch groove as shown in the illustration, and tighten the bolt.

      Torque: 13 N*m (130 kgf*cm, 9 ft.*lbf) 

      Fig 88: Identifying Groove, Neutral Basic Line And Bolt
      G05290032Courtesy of © TOYOTA, LICENSE AGREEMENT TMS1002
    5. Using a screwdriver, bend the tabs of the lock washer.

      HINT:

      Bend at least 2 washer tabs.

      Fig 89: Bending Tabs Of Lock Washer
      G05290033Courtesy of © TOYOTA, LICENSE AGREEMENT TMS1002
  62. INSTALL TRANSMISSION CONTROL SHAFT LEVER RH 
    1. Install the control shaft lever RH, spring washer and nut.

      Torque: 16 N*m (163 kgf*cm, 12 ft.*lbf) 

  63. INSTALL TRANSMISSION CASE COVER UPPER 
    1. Install the transmission case cover upper with the 2 bolts.

      Torque: 5.4 N*m (55 kgf*cm, 48 in.*lbf) 

      Fig 90: Identifying Control Shaft Lever
      G05290034Courtesy of © TOYOTA, LICENSE AGREEMENT TMS1002