lemon-mirror:
Home >> Lexus >> 2007 >> SC 430 >> Repair and Diagnosis >> Transmission >> Automatic Trans >> Automatic Transaxle >> Shift Solenoid Valve >> Inspection

Shift Solenoid Valve: Inspection

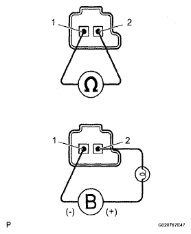
  1. INSPECT SHIFT SOLENOID VALVE SL1 
    1. Measure the resistance of the valve.

      Standard resistance 

      TESTER CONNECTION SPECIFIED CONDITION

      Tester Connection Condition Specified Condition
      1-2 20°C (68°F) 5.0 to 5.6 Ω
    2. Connect the battery's positive (+) lead with a 21 W bulb to terminal 2 and the negative (-) lead to terminal 1 of the solenoid valve connector. Then check that the valve moves and makes an operating noise.

      OK: Valve moves and makes operating noise. 

      Fig 1: Measuring Resistance Of Valve
      G05290162Courtesy of © TOYOTA, LICENSE AGREEMENT TMS1002
      NOTE: While using the battery during the inspection, do not bring the positive and negative tester probes too close to each other as a short circuit may occur.
  2. INSPECT SHIFT SOLENOID VALVE S1 
    1. Measure the resistance according to the value (s) in the table below.

      Standard resistance 

      TESTER CONNECTION SPECIFIED CONDITION

      Tester Connection Condition Specified Condition
      Solenoid Connector (S1) - Solenoid Body (S1) 20°C (68°F) 11 to 15 Ω
    2. Connect the battery's positive (+) lead to the terminal of the solenoid connector, and the negative (-) lead to the solenoid body. Then check that the valve moves and makes an operating noise.
      Fig 2: Measuring Resistance Shift Solenoid Valve S1 Terminals
      G05290163Courtesy of © TOYOTA, LICENSE AGREEMENT TMS1002

      OK: Valve moves and makes operating noise. 

      NOTE: While using the battery during the inspection, do not bring the positive and negative tester probes too close to each other as a short circuit may occur.
  3. INSPECT SHIFT SOLENOID VALVE S2 
    1. Measure the resistance of the valve.

      Standard resistance 

      TESTER CONNECTION SPECIFIED CONDITION

      Tester Connection Condition Specified Condition
      Solenoid Connector (S2) - Solenoid Body (S2) 20°C (68°F) 11 to 15 Ω
      Fig 3: Measuring Resistance Shift Solenoid Valve S2 Terminals
      G05290164Courtesy of © TOYOTA, LICENSE AGREEMENT TMS1002
    2. Connect the battery's positive (+) lead to the terminal of the solenoid connector, and the negative (-) lead to the solenoid body. Then check that the valve moves and makes an operating noise.

      OK: Valve moves and makes operating noise. 

      NOTE: While using the battery during the inspection, do not bring the positive and negative tester probes too close to each other as a short circuit may occur.
  4. INSPECT SHIFT SOLENOID VALVE S3 
    1. Measure the resistance of the valve.

      Standard resistance 

      TESTER CONNECTION SPECIFIED CONDITION

      Tester Connection Condition Specified Condition
      Solenoid Connector (S3) - Solenoid Body (S3) 20°C (68°F) 11 to 15 Ω
      Fig 4: Measuring Resistance Shift Solenoid Valve S3 Terminals
      G05290165Courtesy of © TOYOTA, LICENSE AGREEMENT TMS1002
    2. Connect the battery's positive (+) lead to the terminal of the solenoid connector, and the negative (-) lead to the solenoid body. Then check that the valve moves and makes an operating noise.

      OK: Valve moves and makes operating noise. 

      NOTE: While using the battery during the inspection, do not bring the positive and negative tester probes too close to each other as a short circuit may occur.
  5. INSPECT SHIFT SOLENOID VALVE S4 
    1. Measure the resistance of the valve.

      Standard resistance 

      TESTER CONNECTION SPECIFIED CONDITION

      Tester Connection Condition Specified Condition
      Solenoid Connector (S4) - Solenoid Body (S4) 20°C (68°F) 11 to 15 Ω
      Fig 5: Measuring Resistance Shift Solenoid Valve S4 Terminals
      G05290166Courtesy of © TOYOTA, LICENSE AGREEMENT TMS1002
    2. Connect the battery's positive (+) lead to the terminal of the solenoid connector, and the negative (-) lead to the solenoid body. Then check that the valve moves and makes an operating noise.

      OK: Valve moves and makes operating noise. 

      NOTE: While using the battery during the inspection, do not bring the positive and negative tester probes too close to each other as a short circuit may occur.
  6. INSPECT SHIFT SOLENOID VALVE SL2 
    1. Measure the resistance of the valve.

      Standard resistance 

      TESTER CONNECTION SPECIFIED CONDITION

      Tester Connection Condition Specified Condition
      1-2 20°C (68°F) 5.0 to 5.6 Ω
    2. Connect the battery's positive (+) lead to the terminal of the solenoid connector, and the negative (-) lead to the solenoid body. Then check that the valve moves and makes an operating noise.

      OK: Valve moves and makes operating noise. 

      NOTE: While using the battery during the inspection, do not bring the positive and negative tester probes too close to each other as a short circuit may occur.
      Fig 6: Measuring Resistance Shift Solenoid Valve S2 Terminals
      G05290167Courtesy of © TOYOTA, LICENSE AGREEMENT TMS1002
  7. INSPECT SHIFT SOLENOID VALVE SR 
    1. Measure the resistance of the valve.

      Standard resistance 

      TESTER CONNECTION SPECIFIED CONDITION

      Tester Connection Condition Specified Condition
      Solenoid Connector (SR) - Solenoid Body (SR) 20°C (68°F) 11 to 15 Ω
    2. Connect the battery's positive (+) lead to the terminal of the solenoid connector, and the negative (-) lead to the solenoid body. Then check that the valve moves and makes an operating noise.

      OK: Valve moves and makes operating noise. 

      Fig 7: Measuring Resistance Shift Solenoid Valve SR Terminals
      G05290168Courtesy of © TOYOTA, LICENSE AGREEMENT TMS1002
      NOTE: While using the battery during the inspection, do not bring the positive and negative tester probes too close to each other as a short circuit may occur.
  8. INSPECT SHIFT SOLENOID VALVE SLT 
    1. Measure the resistance of the valve.

      Standard resistance 

      TESTER CONNECTION SPECIFIED CONDITION

      Tester Connection Condition Specified Condition
      1-2 20°C (68°F) 5.0 to 5.6 Ω
    2. Connect the battery's positive (+) lead with a 21 W bulb to terminal 2 of the solenoid valve connector and the negative (-) lead to terminal 1, and check the operation of the valve.

      OK: Valve moves and makes operating noise. 

      NOTE: While using the battery during the inspection, do not bring the positive and negative tester probes too close to each other as a short circuit may occur.
      Fig 8: Measuring Resistance Shift Solenoid Valve SLT Terminals
      G05290169Courtesy of © TOYOTA, LICENSE AGREEMENT TMS1002
  9. INSPECT SHIFT SOLENOID VALVE SLU 
    1. Measure the resistance of the valve.

      Standard resistance 

      TESTER CONNECTION SPECIFIED CONDITION

      Tester Connection Condition Specified Condition
      1-2 20°C (68°F) 5.0 to 5.6 Ω
    2. Connect the battery's positive (+) lead to the terminal of the solenoid connector, and the negative (-) lead to the solenoid body. Then check that the valve moves and makes an operating noise.

      OK: Valve moves and makes operating noise. 

      NOTE: While using the battery during the inspection, do not bring the positive and negative tester probes too close to each other as a short circuit may occur.
      Fig 9: Measuring Resistance Shift Solenoid Valve SLU Terminals
      G05290170Courtesy of © TOYOTA, LICENSE AGREEMENT TMS1002