lemon-mirror:
Home >> Lexus >> 2008 >> ES 350 >> Repair and Diagnosis >> Engine Performance >> System >> Engine Control System - System & Component Testing, Removal, Inspection & Installation >> EVAP System >> Wiring Diagram

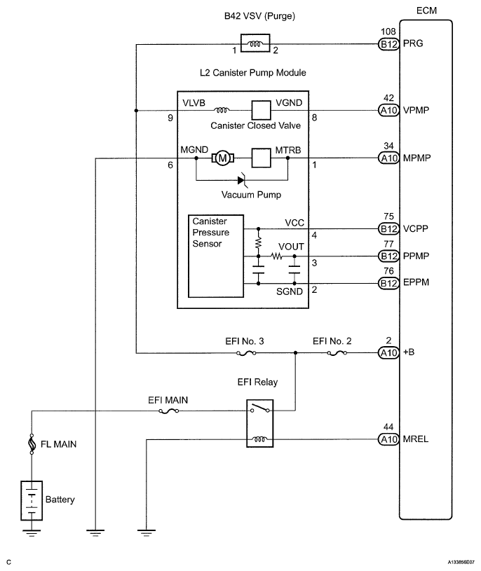
EVAP System: Wiring Diagram

Fig 1: Canister Pump Module - Wiring Diagram
G05835399Courtesy of © TOYOTA, LICENSE AGREEMENT TMS1002