lemon-mirror:
Home >> Lexus >> 2008 >> GS 450h >> Repair and Diagnosis >> Brakes >> Traction Control >> Brake Control >> Front Speed Sensor >> Installation

Front Speed Sensor: Installation

HINT:

CAUTION: When the brake caliper is removed from the brake disc, do not start the hybrid system. If the hybrid system is started, the brake fluid pressure may increase.
  1. INSTALL FRONT SPEED SENSOR LH 
    1. Wipe off sealant attached to the sensor's fitting surface with non-residue solvent.
      NOTE: Prevent foreign matter from attaching to the sensor rotor.
    2. Install a new sensor to the hub and bearing. The sensor connector should be placed in the upper position.
      Fig 1: Installing Skid Control Sensor To Hub And Bearing Upper Side
      G05816420Courtesy of © TOYOTA, LICENSE AGREEMENT TMS1002
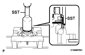
    3. Using SST and a press, press in the speed sensor to the hub and bearing.
      NOTE:
      • Keep the sensor away from magnets.
      • Do not use a hammer on the sensor.
      • Check that there is no foreign matter such as iron chips on the sensor's detecting portion.
      • Slowly press the sensor straight.
        Fig 2: Pressing Speed Sensor To Hub And Bearing
        G05816421Courtesy of © TOYOTA, LICENSE AGREEMENT TMS1002
  2. INSTALL FRONT AXLE HUB SUB-ASSEMBLY LH  (See INSTALLATION )
  3. CHECK FRONT AXLE HUB BEARING LOOSENESS  (See ON-VEHICLE INSPECTION )
  4. CHECK FRONT AXLE HUB RUNOUT  (See ON-VEHICLE INSPECTION )
  5. INSTALL FRONT DISC  (See REASSEMBLY )
  6. CONNECT FRONT DISC BRAKE CALIPER ASSEMBLY LH  (See INSTALLATION )
  7. CONNECT CONNECTOR 
    1. Connect the sensor connector to the front speed sensor.
      NOTE: Do not twist the sensor wire.
  8. INSTALL FRONT WHEEL 

    Torque: 103 N*m (1,050 kgf*cm, 76 ft.*lbf) 

  9. CHECK SPEED SENSOR SIGNAL 
    1. Check the speed sensor signal (see TEST MODE PROCEDURE  ).
      Fig 3: Connecting Speed Sensor Connector To Front Speed Sensor
      G05816422Courtesy of © TOYOTA, LICENSE AGREEMENT TMS1002