lemon-mirror:
Home >> Lexus >> 2008 >> IS 350 >> Repair and Diagnosis >> Transmission >> Automatic Trans >> Automatic Transaxle >> Automatic Transmission Unit >> Inspection

Automatic Transmission Unit: Inspection

  1. INSPECT 1ST AND REVERSE BRAKE RETURN SPRING SUB-ASSEMBLY 
    1. Using vernier calipers, measure the free length of the spring together with the spring seat.

      Standard free length: 

      23.74 mm (0.935 in.) 

      If the free length is shorter than the standard free length, replace the brake piston return spring sub-assembly.

      Fig 1: Measuring Free Length Of Spring
      G05824357Courtesy of © TOYOTA, LICENSE AGREEMENT TMS1002
  2. INSPECT REAR PLANETARY GEAR ASSEMBLY 
    1. Using a feeler gauge, measure the rear planetary gear pinion thrust clearance.

      Standard clearance: 

      0.2 to 0.6 mm (0.008 to 0.024 in.) 

      If the clearance is greater than the standard clearance, replace the planetary gear assembly.

      Fig 2: Measuring Rear Planetary Gear Pinion Thrust Clearance
      G05824358Courtesy of © TOYOTA, LICENSE AGREEMENT TMS1002
    2. Using a dial indicator, measure the inside diameter of the rear planetary gear bushing.

      Standard inside diameter: 

      20.025 mm (0.7884 in.) 

      If the inside diameter is greater than the standard inside diameter, replace the rear planetary gear assembly.

      Fig 3: Measuring Inside Diameter Of Rear Planetary Gear Bushing
      G05824359Courtesy of © TOYOTA, LICENSE AGREEMENT TMS1002
  3. INSPECT PACK CLEARANCE OF 1ST AND REVERSE BRAKE PISTON 
    1. Make sure that the 1st and reverse brake piston moves smoothly when pulling and releasing the compressed air gun lever while applying compressed air into the transmission case.
      Fig 4: Applying Compressed Air Into Transmission Case
      G05824360Courtesy of © TOYOTA, LICENSE AGREEMENT TMS1002
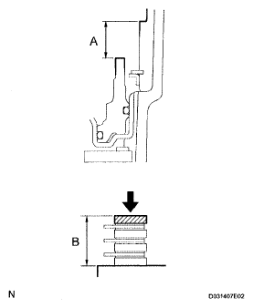
    2. Using vernier calipers, measure the level difference (dimension A) between the upper surface of the brake apply tube and the hitting surface of the No. 4 brake flange at both ends across the 1st and reverse brake piston diameter, and calculate the average.
      NOTE: The 1st and reverse brake piston must be securely installed to the end face of the transmission case.

      HINT:

      Dimension A = 22.05 to 22.91 mm (0.8681 to 0.9020 in.)

      Fig 5: Measuring Level Difference Between Upper Surface Of Brake Apply Tube
      G05824361Courtesy of © TOYOTA, LICENSE AGREEMENT TMS1002
    3. Using vernier calipers, measure the thickness (dimension B) of the brake flanges, the 4 No. 4 brake plates and the 4 No. 4 brake discs altogether at both ends across a diameter, and calculate the average.

      HINT:

      Dimension B = 23.11 to 23.89 mm (0.9098 to 0.9405 in.)

      Pack Clearance = Dimension A - Dimension B - 0.22 mm (0.0087 in.) + 1.8 mm (0.071 in.)

      Pack Clearance: 

      0.4 to 0.7 mm (0.016 to 0.028 in.) 

      Fig 6: Measuring Thickness Of Brake Flanges
      G05824362Courtesy of © TOYOTA, LICENSE AGREEMENT TMS1002
    4. If the pack clearance is outside the standard range, select and install a brake flange that brings the pack clearance to be within the standard range.

      HINT:

      There are 8 types of flanges that can be used to adjust the pack clearance. Select the one with the most appropriate thickness.

      Thickness H 

      FLANGE THICKNESS SPECIFICATION

      NO. Thickness H NO. Thickness H
      0 0 mm (0 in.) 8 0.8 mm (0.03150 in.)
      2 0.2 mm (0.00787 in.) 10 1.0 mm (0.03937 in.)
      4 0.4 mm (0.01575 in.) 12 1.2 mm (0.04724 in.)
      6 0.6 mm (0.02362 in.) 14 1.4 mm (0.05512 in.)
  4. INSPECT NO. 4 BRAKE DISC 
    1. Check whether the sliding surfaces of the discs, the plates, and the flange are worn or burnt. If necessary, replace them.
      NOTE:
      • If the linings of the discs are peeled off or discolored, or if any part of the printed numbers is damaged, replace all discs.
      • Before assembling new discs, soak them in ATF for at least 15 minutes.
        Fig 7: Identifying No. 4 Brake Disc
        G05824363Courtesy of © TOYOTA, LICENSE AGREEMENT TMS1002
  5. INSPECT INTERMEDIATE SHAFT 
    1. Using a dial indicator, check the intermediate shaft runout.

      Standard runout: 

      A: 

      0.03 mm (0.0012 in.) 

      B: 

      0.03 mm (0.0012 in.) 

      C: 

      0.03 mm (0.0012 in.) 

      D: 

      0.03 mm (0.0012 in.) 

      If the runout exceeds the specification, replace the intermediate shaft with a new one.

      Fig 8: Measuring Intermediate Shaft Runout
      G05824364Courtesy of © TOYOTA, LICENSE AGREEMENT TMS1002
    2. Using a micrometer, check the outer diameter of the intermediate shaft at each point shown in the illustration.

      Standard diameter: 

      A: 

      25.962 to 25.975 mm (1.022 to 1.023 in.) 

      B: 

      25.962 to 25.975 mm (1.022 to 1.023 in.) 

      C: 

      32.062 to 32.075 mm (1.262 to 1.263 in.) 

      D: 

      32.062 to 32.075 mm (1.262 to 1.263 in.) 

      If the outer diameter is outside the standard range, replace the intermediate shaft with a new one.

      Fig 9: Measuring Outer Diameter Of Intermediate Shaft
      G05824365Courtesy of © TOYOTA, LICENSE AGREEMENT TMS1002
  6. INSPECT REAR PLANETARY RING GEAR FLANGE SUB-ASSEMBLY 
    1. Using a dial indicator, measure the inside diameter of the rear planetary ring gear bushing.

      Standard inside diameter: 

      32.19 mm (1.2673 in.) 

      If the inside diameter is greater than the standard inside diameter, replace the rear planetary ring gear.

      Fig 10: Measuring Inside Diameter Of Rear Planetary Ring Gear Bushing
      G05824366Courtesy of © TOYOTA, LICENSE AGREEMENT TMS1002
  7. INSPECT NO. 3 ONE WAY CLUTCH ASSEMBLY 
    1. Hold the rear planetary ring gear flange sub-assembly and turn the one way clutch assembly.
    2. Check that the one way clutch assembly turns freely counterclockwise and locks clockwise.

      If there is a problem with the one way clutch, replace the one way clutch.

      Fig 11: Identifying No. 3 One Way Clutch Assembly
      G05824367Courtesy of © TOYOTA, LICENSE AGREEMENT TMS1002
  8. INSPECT CENTER PLANETARY GEAR ASSEMBLY 
    1. Using a feeler gauge, measure the center planetary gear pinion thrust clearance.

      Standard clearance: 

      0.12 to 0.68 mm (0.005 to 0.027 in.) 

      If the clearance is greater than the standard clearance, replace the center planetary gear assembly.

      Fig 12: Measuring Center Planetary Gear Pinion Thrust Clearance
      G05824368Courtesy of © TOYOTA, LICENSE AGREEMENT TMS1002
  9. INSPECT NO. 2 BRAKE DISC 
    1. Check whether the sliding surfaces of the discs, the plates, and the flange are worn or burnt. If necessary, replace them.
      NOTE:
      • If the linings of the discs are peeled off or discolored, or if any part of the printed numbers is damaged, replace all discs.
      • Before assembling new discs, soak them in ATF for at least 15 minutes.
        Fig 13: Identifying No. 2 Brake Disc
        G05824369Courtesy of © TOYOTA, LICENSE AGREEMENT TMS1002
  10. INSPECT NO. 2 BRAKE PISTON RETURN SPRING SUB-ASSEMBLY 
    1. Using vernier calipers, measure the free length of the spring together with the spring seat.

      Standard free length: 

      22.66 mm (0.8921 in.) 

      If the free length is shorter than the standard free length, replace the No. 2 brake piston return spring sub-assembly.

      Fig 14: Measuring Free Length Of Spring
      G05824370Courtesy of © TOYOTA, LICENSE AGREEMENT TMS1002
  11. INSPECT NO. 2 BRAKE PISTON 
    1. Inspect piston stroke of the No. 2 brake piston.
      1. Make sure that the No. 2 brake piston moves smoothly when pulling and releasing the compressed air gun lever while applying compressed air into the transmission case.
        Fig 15: Applying Compressed Air Into Transmission Case
        G05824371Courtesy of © TOYOTA, LICENSE AGREEMENT TMS1002
      2. Using SST and a dial indicator, measure the moving distance (dimension A) of the clutch disc at both ends across a diameter while blowing air from the oil hole as shown in the illustration, and calculate the average.

        SST 09350-30020 (09350-06120) 

        Piston Stroke: 

        0.6 to 0.9 mm (0.024 to 0.035 in.) 

      3. If the piston stroke is outside the standard range, select and install a brake flange that brings the piston stroke within the standard range.

        HINT:

        There are 8 types of flanges that can be used to adjust the piston stroke. Select one with the most appropriate thickness.

        Flange thickness 

        FLANGE THICKNESS SPECIFICATION

        No. Thickness
        0 2.0 mm (0.079 In.)
        1 2.1 mm (0.083 in.)
        2 2.2 mm (0.087 in.)
        3 2.3 mm (0.091 in.)
        4 2.4 mm (0.094 in.)
        5 2.5 mm (0.098 in.)
        6 2.6 mm (0.102 in.)
        7 2.7 mm (0.106 in.)
        Fig 16: Measuring Moving Distance Of Clutch Disc
        G05824372Courtesy of © TOYOTA, LICENSE AGREEMENT TMS1002
  12. INSPECT BRAKE PISTON RETURN SPRING SUB-ASSEMBLY 
    1. Using vernier calipers, measure the free length of the spring together with the spring seat.

      Standard free length: 

      17.05 mm (0.671 in.) 

      If the free length is shorter than the standard free length, replace the brake piston return spring sub-assembly.

      Fig 17: Measuring Free Length Of Spring
      G05824373Courtesy of © TOYOTA, LICENSE AGREEMENT TMS1002
  13. INSPECT FRONT PLANETARY GEAR ASSEMBLY 
    1. Using a feeler gauge, measure the front planetary pinion gear thrust clearance.

      Standard clearance: 

      0.20 to 0.60 mm (0.008 to 0.024 in.) 

      If the clearance is greater than the standard clearance, replace the front planetary gear assembly.

      Fig 18: Measuring Front Planetary Pinion Gear Thrust Clearance
      G05824374Courtesy of © TOYOTA, LICENSE AGREEMENT TMS1002
    2. Using a dial indicator, measure the inside diameter of the front planetary gear bushing.

      Standard inside diameter: 

      57.43 mm (2.261 in.) 

      If the inside diameter is greater than the maximum inside diameter, replace the front planetary gear assembly.

      Fig 19: Measuring Inside Diameter Of Front Planetary Gear Bushing
      G05824375Courtesy of © TOYOTA, LICENSE AGREEMENT TMS1002
  14. INSPECT ONE WAY CLUTCH ASSEMBLY 
    1. Install the one way clutch assembly to the one way clutch inner race.
    2. Hold the one way clutch inner race and turn the one way clutch assembly.
    3. Check that the one way clutch assembly turns freely counterclockwise and locks clockwise.

      If there is a problem with the one way clutch, replace the one way clutch.

    4. Remove the one way clutch assembly from the one way clutch inner race.
      Fig 20: Identifying One Way Clutch Assembly
      G05824376Courtesy of © TOYOTA, LICENSE AGREEMENT TMS1002
  15. INSPECT NO. 1 BRAKE PISTON 
    1. Inspect piston stroke of the No. 1 brake piston.
      1. Make sure that the No. 1 brake piston moves smoothly when pulling and releasing the compressed air gun lever while applying compressed air into the transmission case.
        Fig 21: Applying Compressed Air Into Transmission Case
        G05824377Courtesy of © TOYOTA, LICENSE AGREEMENT TMS1002
      2. Using vernier calipers, measure the level difference (dimension A) between the upper surface of the No. 1 brake piston and the hitting surface of the No. 1 brake flange at both ends across the No. 1 brake piston diameter.
      3. Using vernier calipers, measure the thickness (dimension B) of the brake flange, the 3 No. 1 brake plates and the 3 No. 1 brake discs altogether at the both ends across a diameter, and calculate the average.

        HINT:

        Dimension A = 15.29 to 15.77 mm (0.6020 to 0.6209 in.)

        Dimension B = 14.72 to 15.12 mm (0.5795 to 0.5953 in.)

        Piston stroke = Dimension A - Dimension B

        Piston stroke: 

        0.42 to 0.72 mm (0.017 to 0.028 in.) 

        If the piston stroke is outside the specified range, parts may have been assembled incorrectly, so check and reassemble them again.

        Fig 22: Measuring Thickness (Dimension B) Of Brake Flange
        G05824378Courtesy of © TOYOTA, LICENSE AGREEMENT TMS1002

        If the piston stroke is not still outside the specified range, select another flange that brings the piston stroke within the specified range.

        HINT:

        There are 4 different thicknesses for the flange that bring the piston stroke within the specified range.

        Flange thickness 

        FLANGE THICKNESS SPECIFICATION

        No. Thickness
        0 2.0 mm (0.079 in.)
        1 2.2 mm (0.087 in.)
        2 2.4 mm (0.094 in.)
        3 2.6 mm (0.102 in.)
  16. INSPECT NO. 1 BRAKE DISC 
    1. Check whether the sliding surfaces of the discs, the plates, or the flange are worn or burnt. If necessary, replace them.
      NOTE:
      • If the linings of the discs are peeled off or discolored, or if any part of the groove is damaged, replace all discs.
      • Before assembling new discs, soak them in ATF for at least 15 minutes.
        Fig 23: Identifying No. 1 Brake Disc
        G05824379Courtesy of © TOYOTA, LICENSE AGREEMENT TMS1002
  17. INSPECT NO. 3 BRAKE PISTON RETURN SPRING SUB-ASSEMBLY 
    1. Using vernier calipers, measure the free length of the spring together with the spring seat.

      Standard free length: 

      15.72 mm (0.619 in.) 

      If the inside diameter is shorter than the standard free length, replace the No. 3 brake piston return spring sub-assembly.

      Fig 24: Measuring Free Length Of Spring
      G05824380Courtesy of © TOYOTA, LICENSE AGREEMENT TMS1002
  18. INSPECT 2ND BRAKE DISC SET 
    1. Check whether the sliding surfaces of the discs, the plates, or the flange are worn or burnt. If necessary, replace them.
      NOTE:
      • If the linings of the discs are peeled off or discolored, or if any part of the printed numbers is damaged, replace all discs.
      • Before assembling new discs, soak them in ATF for at least 15 minutes.
        Fig 25: Identifying 2nd Brake Disc Set
        G05824381Courtesy of © TOYOTA, LICENSE AGREEMENT TMS1002
  19. INSPECT NO. 2 ONE WAY CLUTCH ASSEMBLY 
    1. Hold the reverse clutch hub and turn the No. 2 one way clutch assembly.
    2. Check that the No. 2 one way clutch assembly turns freely clockwise and locks counterclockwise.

      If there is a problem with the one way clutch, replace the one way clutch.

      Fig 26: Identifying No. 2 One Way Clutch Assembly
      G05824382Courtesy of © TOYOTA, LICENSE AGREEMENT TMS1002
  20. INSPECT INDIVIDUAL PISTON OPERATION 
    1. Check the operating sound while applying compressed air into the oil holes indicated in the illustration.

      HINT:

      When inspecting the O/D direct clutch, check the operating sound with the C3 accumulator piston hole closed.

      If there is no sound, disassemble and check the installation condition of the parts.

      1. No. 2 Clutch (C2)
      2. No. 4 Clutch (C4)
      3. No. 3 Clutch (C3)
      4. No. 1 Clutch (C1)
      5. No. 3 Brake (B3)
      6. No. 1 Brake (B1)
      7. No. 2 Brake (B2)
      8. No. 4 Brake (B4)
        Fig 27: Identifying Clutch And Brake Points
        G05824383Courtesy of © TOYOTA, LICENSE AGREEMENT TMS1002