lemon-mirror:
Home >> Lexus >> 2008 >> IS F >> Repair and Diagnosis >> Brakes >> Brakes Control Systems >> Brake Control / Dynamic Control Systems >> Vehicle Stability Control System >> System Description

System Description

  1. VDIM (Vehicle Dynamics Integrated Management) DESCRIPTION 
    1. This vehicle is equipped with VDIM. It is a concept of vehicle motion control that integrates brake control, drive force control and steering control
    2. Conventional vehicles use a combination of independent functions such as ABS, TRAC, VSC and electronic power steering. However, VDIM integrates these systems to improve "driving, turning and stopping" the motion performance of the vehicle in other words.
    3. In conventional vehicles, control starts at the vehicle's limit. However VDIM exercises control before the limit is reached, creating a smooth vehicle response. This expands the limits of the vehicle, and increases driving pleasure
    4. VDIM uses 2 control modes (SPORT/NORMAL) linked to the sport mode total control switch (pattern select switch) to optimize VSC according to the road surface conditions and driver's ability. When the sport mode total control switch (pattern select switch) is in the SNOW position, VDIM operates in normal control mode.
      Fig 1: Vehicle Dynamics Integrated Management Diagram
      G05752528Courtesy of © TOYOTA, LICENSE AGREEMENT TMS1002
    5. The VDIM manages all functions, such as the ABS with EBD, BA, the TRAC, and the VSC It is operated by the VSC system, which regulates a brake fluid pressure. The steering cooperative control function is also available The VDIM is able to perform comprehensive management
    6. Conventional brake control systems begin to control either the braking or motive force in order to stabilize the vehicle when it becomes unstable due to loss of tire traction In contrast, in order to maintain stable vehicle control, the VDIM commences controlling the brake and steering systems in accordance with changes in vehicle balance before the vehicle becomes unstable As a result, smooth vehicle control is achieved
    7. Conventional brake control systems manage all related functions, such as the ABS with EBD, BA, the TRAC and the VSC independently, according to the vehicle dynamics In contrast, the VDIM provides smooth control by seamlessly integrating all those functions
  2. FUNCTION DESCRIPTION 

    HINT

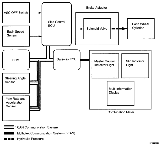
    The yaw rate and acceleration sensor is made up of 2 individual sensors that are combined in a single unit One of the sensors is the yaw rate sensor and the other is the acceleration sensor This unit communicates with the skid control ECU via CAN communication

    1. Regarding enabling and disabling TRAC and VSC operation through the VSC OFF switch.

      Changing modes Through the VSC OFF switch, the vehicle can be changed to normal mode, TRAC off mode and VSC off mode

      1. Normal mode When the vehicle is in TRAC off mode or VSC off mode, and the VSC OFF switch is pressed for a short amount of time, the vehicle changes to normal mode During normal mode, TRAC and VSC operation is possible After the engine switch is turned on (IG), the vehicle is in normal mode
      2. TRAC off mode When the vehicle is in normal mode and the VSC OFF switch is pressed for a short amount of time, the vehicle changes to TRAC off mode During TRAC off mode, the combination meter's slip indicator light illuminates, and TRAC operation is disabled During TRAC off mode, if the vehicle speed increases to 50 km/h (31 mph) or more, the vehicle automatically returns to normal mode
      3. VSC OFF mode. When the vehicle is stopped and the VSC OFF switch is pressed for 3 seconds or more, the vehicle changes to VSC off mode. During VSC off mode, the combination meter's slip indicator and VSC OFF indicator lights illuminate. Also, VSC and TRAC operation are disabled. During VSC off mode, even if the vehicle speed increases, the vehicle does not return to normal mode.
    2. ABS (Anti-lock Brake System)

      The ABS helps prevent the wheels from locking when the brakes are applied firmly or when braking on a slippery surface

      Fig 2: Anti-lock Brake System Function Diagram
      G05752529Courtesy of © TOYOTA, LICENSE AGREEMENT TMS1002
      1. Operation description

        The skid control ECU detects wheel lock by receiving vehicle speed signals from each speed sensor, and sends control signals to the solenoid valves. The solenoid valves avoid wheel lock by controlling the brake fluid pressure of each wheel cylinder

        The ABS warning light comes on when the ABS system is malfunctioning.

    3. EBD (Electronic Brake force Distribution)

      The EBD control utilizes the ABS, to properly distribute brake force between the front and rear wheels in accordance with driving conditions When braking while cornering, it also controls the brake force distribution between the right and left wheels, helping to maintain vehicle behavior

      Fig 3: Electronic Brake Force Distribution Function Diagram
      G05752530Courtesy of © TOYOTA, LICENSE AGREEMENT TMS1002
      1. Operation description

        The skid control ECU receives a speed signal from each wheel speed sensor, and uses these signals to detect wheel lock. The skid control ECU uses this information in order to determine appropriate control of the solenoid valves.

        The solenoid valves control the hydraulic pressure applied to the brake cylinder at each wheel. In this way, the solenoid valves are used to control the brake force distribution between the front and rear, and left and right wheels The brake warning light will come on if there is a malfunction in the EBD system

    4. BA (Brake Assist)

      The primary purpose of the brake assist system is to provide auxiliary brake force to assist a driver who cannot generate a large enough brake force during emergency braking, thus helping to maximize the vehicle's brake performance

      Fig 4: Brake Assist Function Diagram
      G05752531Courtesy of © TOYOTA, LICENSE AGREEMENT TMS1002
      1. Operation description

        The skid control ECU receives the speed signal from each speed sensor and the fluid pressure signal from the master cylinder pressure sensor to determine whether brake assist is necessary. If brake assist is necessary, the skid control ECU sends control signals to the pump motor and solenoid valves The pump and the solenoid valves then control the pressure applied to each wheel cylinder.

        The ABS warning light comes on to indicate a malfunction in the BA system

    5. TRAC (Traction Control)

      The TRAC system helps prevent the drive wheels from slipping when the driver presses down on the accelerator pedal excessively when starting off or accelerating on a slippery surface

      Fig 5: Traction Control Function Diagram
      G05752532Courtesy of © TOYOTA, LICENSE AGREEMENT TMS1002
      1. Operation description

        The skid control ECU detects the vehicle's slip condition by receiving signals from each speed sensor and ECM via CAN communication The skid control ECU sends via CAN communication to the ECM in order to control engine torque.

        The skid control ECU controls brake hydraulic pressure using the pump and solenoid valves.

        The slip indicator light blinks when the system is operating When there is a malfunction in the TRAC system, both the slip indicator and master caution indicator lights will come on and the DTC will be displayed on the multi-information display

        The VSC OFF switch stops TRAC operation

        HINT

        When the VSC OFF switch is pressed, the vehicle changes to TRAC off mode, and TRAC operation is disabled During TRAC off mode, if the VSC OFF switch is pressed again or the vehicle speed increases to 50 km/h (31 mph), TRAC operation becomes possible During TRAC off mode, the slip indicator light illuminates

    6. VSC (Vehicle Stability Control)

      The VSC system helps prevent the vehicle from slipping sideways as a result of strong front or rear wheel skid during cornering

      Fig 6: Vehicle Stability Control Function Diagram
      G05752533Courtesy of © TOYOTA, LICENSE AGREEMENT TMS1002
      1. Operation description

        The skid control ECU determines the vehicle condition by receiving signals from the speed sensor, yaw rate and acceleration sensor and steering angle sensor The skid control ECU sends via CAN communication to the ECM in order to control engine torque. The skid control ECU controls brake hydraulic pressure using the pump and solenoid valves

        The slip indicator light blinks and the skid control buzzer sounds when the system is operating When there is a malfunction in the VSC system, both slip indicator and master caution indicator lights will come on and the DTC will be displayed on the multi-information display.

        The VSC OFF switch stops VSC operation.

        HINT

        When the VSC OFF switch is pressed for 3 seconds or more with the vehicle stopped, the VSC system changes to VSC off mode If the VSC OFF switch is pressed again with the system in VSC off mode, the TRAC and VSC systems can be operated When the system is in VSC off mode, the slip indicator light and VSC OFF indicator light illuminate

  3. STEERING COOPERATION CONTROL 
    1. The VDIM effects coordinated control consisting of the VSC system and electronic power steering system By integrating these preventive safety functions, the VDIM ensures excellent driving stability and maneuverability of the vehicle
    2. If the vehicle loses stability due to a slippage, this function effects brake control by applying hydraulic pressure to the wheels. At the same time, the electronic power steering provides steering torque assist control or active steering wheel angle control to facilitate the driver's steering control
  4. LSD CONTROL 
    1. Sometimes the wheels will spin when accelerating in a turn because the vehicle weight moves to the outside of the turn and it is difficult to transfer drive force to the inside
    2. The VSC system detects wheelspin while turning, and applies the brake to the drive wheel on the inside of the turn to restrict wheelspin. This transfers drive force to the wheel on the outside of the turn, so that the driver's intended acceleration is obtained

      HINT

      The LSD function will continue to operate even after TRAC, VSC, or both functions are disabled using the VSC OFF switch

      However, the LSD function may be restricted if the brake system temperature of either drive wheel is high

  5. HILL-START ASSIST CONTROL 
    1. The hill-start assist control detects rearward motion of the vehicle It automatically increases the brake hydraulic pressure to the four wheels in order to reduce the rearward speed of the vehicle
    2. The vehicle tends to slide backward when the driver moves his or her foot from the brake pedal to the accelerator pedal trying to start on a steep or slippery uphill This function is effective in this kind of difficult starting situation
    3. After a maximum of 5 seconds, hydraulic pressure is gradually released and control will be completed
  6. DYNAMIC RADAR CRUISE CONTROL (with Dynamic Radar Cruise Control) 
    1. This system is designed to maintain an appropriate distance to the vehicle ahead, proportional to the vehicle speed. The distance to the vehicle ahead is measured based on signals sent from the millimeter wave radar sensor. To maintain an appropriate distance, this system controls the engine output and also applies the brakes if the distance to the vehicle ahead is too short
  7. PRE-COLLISION CONTROL (with Pre-collision Control) 
    1. The pre-collision system predicts frontal collisions with other vehicles or objects By pretensioning the seat belts prior to a collision, and performing brake control and brake assist control, it lessens the collision inpact
    2. The millimeter wave radar sensor recognizes if there is a vehicle or object on the road ahead, and the distance control ECU makes a judgement on whether a collision is unavoidable based on the position, speed, and course of the object
    3. The distance control ECU sends this information via CAN communication to the seat belt control ECU, suspension control ECU and skid control ECU, in order to operate each component of the pre-collision system
  8. ABS with EBD, BA, TRAC and VSC OPERATION 
    1. The skid control ECU calculates vehicle stability based on signals from the speed sensor, yaw rate and acceleration sensor, and steering angle sensor In addition, it evaluates the results to determine whether any control actions (control of the engine output torque using the electronic throttle control or brake pressure using the brake actuator assembly) should be implemented
    2. The slip indicator blinks and the skid control buzzer sounds to inform the driver that the VSC system is operating The slip indicator also blinks when traction control is operating, and the operation being performed is displayed
  9. FAIL SAFE 
    1. When a failure occurs in the ABS with BA, TRAC and VSC systems, the ABS warning light, slip indicator, master caution indicator lights come on, and a DTC will be displayed on the multi-information display and ABS with BA, TRAC and VSC operations are prohibited In addition to this, when there is a malfunction that disables EBD operation, the brake warning light also comes on and EBD operation is prohibited.
    2. If control is prohibited due to a malfunction during operation, control will be disabled gradually. This is to avoid sudden vehicle instability.
  10. INITIAL CHECK 
    1. When the vehicle speed first reaches approximately 6 km/h (4 mph) or more after the engine switch is turned on (IG), each solenoid valve and motor of the brake actuator are sequentially activated to perform an electrical check During this initial check, the operating sound of each solenoid valve and motor can be heard from the engine compartment, but this is not a malfunction
  11. INSPECTION MODE 
    1. VSC operation can be disabled by operating the Techstream (See PRECAUTION )
  12. FUNCTION OF COMPONENTS 
    FUNCTION OF COMPONENTS

    Component Function
    Skid control ECU
    • Processes signals sent from each sensor to control the ABS, BA, TRAC, and VSC
    • Sends and receives control signals to or from the ECM, yaw rate and acceleration sensor, and steering angle sensor, etc via CAN communication
    Brake actuator assembly Controls the hydraulic pressure of each of the four wheel cylinders using output signals of the skid control ECU
    ABS solenoid relay Supplies power to each solenoid
    ABS motor relay Supplies power to the pump motor
    ABS motor fail safe relay Cuts off power to the motor when the pump motor circuit malfunctions
    Solenoid identification Determines the identification signal using the skid control ECU, and specifies control characteristics of the actuator
    Speed sensor Detects the wheel speed and sends the signal to the skid control ECU
    Steering angle sensor
    • Detects the steering amount and direction and sends the signals to the skid control ECU via CAN communication
    • Has a magnetic resistance element which detects the rotation of the magnet housed in the detection gear in order to detect the changes in steering amount and direction through magnetic resistance
    Yaw rate and acceleration sensor
    • Acceleration sensor measures the capacity of the condenser that changes the distance between the electrodes depending on G force, which occurs when the vehicle is accelerated, and converts the measured value into electrical signals
    • Yaw rate sensor detects the vehicle's angular velocity (yaw rate) in the vertical direction based on the amount and direction of the piezoelectric ceramics deflection
    • Sends signals to the skid control ECU via CAN communication
    Master cylinder pressure sensor
    • Detects the fluid pressure in the master cylinder
    • Housed in the brake actuator assembly
    Stop light switch Detects the brake operating conditions and inputs the results to the skid control ECU
    Brake pedal load sensing switch
    • Installed on the brake pedal
    • Turned on when the brake pedal is depressed
    Parking brake switch Detects the parking brake operating conditions and inputs the signals to the skid control ECU
    VSC OFF switch Pressing this switch turns off TRAC and pressing and holding this switch turns off TRAC and VSC
    ECM Controls the engine output when TRAC and/or VSC are operating with the skid control ECU via CAN communication
    Skid control buzzer Intermittently sounds to inform the driver that the VSC is operating
    ABS warning light
    • Comes on to inform the driver that a malfunction in the ABS and/or BA has occurred
    • Blinks to output DTCs
    Brake warning light
    • Comes on to inform the driver that the parking brake is ON when the system is normal, the brake fluid has decreased, or the master cylinder pressure is lost as the brake pedal load sensing switch is pressed
    • Comes on to inform the driver that a malfunction in the EBD has occurred
    VSC OFF indicator light Comes on to inform the driver when the VSC off mode is entered using the VSC OFF switch
    Slip indicator light
    • Blinks to inform the driver that TRAC and VSC are operating
    • Comes on when the VSC OFF switch is ON to inform the driver of the TRAC or VSC prohibited state
    Master caution indicator light Comes on to inform the driver that a malfunction in the brake control system has occurred
    Multi-information display
    • Shows warning messages to alert the driver when the skid control ECU detects malfunctions in the VSC system
    • Displays DTCs